INVEST Ltd.
www.eldominvest.com.
HOUSEHOLD ELECTRIC WATER HEATERS
designed for floor installation (standing water heaters)
TECHNICAL DESCRIPTION
MANUAL FOR INSTALLATION, OPERATION, AND MAINTENANCE
WARRANTY AND WARRANTY CONDITIONS
– Water heaters without, with one (S) and two (S2) heat exchangers

– Water heaters with two parallel water heaters (S21)

Table 1
| CAPACITY RANGE | 150 | 200 | 300 | 500 | 750 | 1000 | 1500 | 2000 |
| Without heat exchangers | • | • | – | – | – | – | – | – |
| Lower heat exchanger (enameled/Cr-Ni steel | 0.67 0.94 [m2] | 0.90 1.20 [ml | 1.12 1.28 [ml | 1.85 2.35 [m2] | 2.03 2.78 [m2] | 3.04 3.59 [m2] | 3.04 3.80 [m2] | 4.25 5.78 [m2] |
| An upper heat exchanger (enameled/Cr-Ni steel) | 0.30 0.44 [ml | 0.38 0.56 [ml | 0.86 0.82 [ml | 1.15 1.39 [ml | 1.22 1.68 Im21 | 2.03 2.49 [ml | 2.03 2.78 [ml | 2.73 3.33 [ml |
| Two parallel heat exchangers (S21) (big+small; enamel/Cr-Ni); Fig. 2 | 0.67+ 0.44 1.20+ 0.82 r,21 LI” i | 0.89+ 0.67 1.59+ 1.20 [nil | 1.33+ 1.07 2.35+ 1.89 [m2] | 1.71+ 1.28 2.35+ 1.78 [m2] | – | – | – | – |
SCHLUSSFOLGERUNG
| 1-Inlet pipe | 3/4″ | w | 3%4.,” | 1″ | 1 1/2″ | 1 1/2″ | 2″ | 2″ |
| 2 -Outlet pipe | 3/4.,” | 3/: | 3/4.,” | 1″ | 11/2″ | 11/2″ | 2″ | 2″ |
| 3 – Lower heat exchanger | 3/4.,, | „3/4. | 3%4.,” | 1″ | 1″ | 1″ | 1″ | 1″ |
| 4 – Upper heat exchanger | 3/4., | 3/4., | 3/4.,” | 1″ | 1″ | 1″ | 1″ | 1″ |
| 5 – Circulation | 3/4.,., | 3/4., | 3/4.,,. | 3/4. | 3/4. | 3/4. | 2″ | 2″ |
| 6 – Thermostat coupling | 1/2″ | 1/2″ | 1/2″ | 1/2″ | 1/2″ | 1/2″ | 1/2″ | 1/2″ |
| 7 – Additional coupling | 11/2″ | 1Y2″ | 11/2″ | 11/2″ | 11/2″ | 11/2″ | 11/2″ | 11/2″ |
| 8 – Additional couplings (2 pcs.) | — | — | — | — | — | — | • | • |
| 9 – Flange | • | • | • | • | • | • | • | • |
| 10 – Thermometer | • | • | • | • | • | • | • | • |
| 11 – Big heat exchanger | 3/4., | 3/4., | 3/4., | 1″ | — | — | — | — |
| 12 – Small heat exchanger | 3/4., | 3/4., | 3/4., | 1″ | — | — | — | — |
| 13 – Outlet pipe | 3/4″ | 3/4., | 3/4″ | 3/4.,” | 11/4″ | 11/4″ | 2″ | 2″ |
Dimensions in the tables are only approximate.
Table 1
| CAPACITY RANGE | 150 | 200 | 300 | 500 | 750 | 1000 | 1500 | 2000 | ||||||||||
| DIMENSIONS mm | ||||||||||||||||||
| D | 600 | 600 | 670 | 800 | 1100 | 1100 | 1250 | 1400 | ||||||||||
| H | 1150 | 1430 | 1605 | 1765 | 1675 | 2020 | 2210 | 2255 | ||||||||||
| A | 210 | 210 | 210 | 265 | 330 | 330 | 395 | 415 | ||||||||||
| B | 260 | 260 | 265 | 320 | 420 | 420 | 445 | 465 | ||||||||||
| C | 660 | 855 | 840 | 1000 | 950 | 1110 | 1215 | 1255 | ||||||||||
| E | 705 | 900 | 885 | 1045 | 990 | 1150 | 1265 | 1285 | ||||||||||
| I | 355 | 550 | 530 | 630 | 470 | 630 | 730 | 730 | ||||||||||
| J | 160 | 230 | 400 | 380 | 290 | 470 | 470 | 470 | ||||||||||
| P | 890 | 1155 | 1315 | 1425 | 1280 | 1620 | 1755 | 1775 | ||||||||||
| K for Fig 2 | 260 | 260 | 265 | 320 | — | — | — | — | ||||||||||
| M for Fig 2 | 630 | 910 | 1050 | 1105 | — | — | — | — | ||||||||||
| Q for Fig 2 | 365 | 365 | 370 | 455 | — | — | — | — | ||||||||||
| R for Fig 2 | 420 | 700 | 840 | 835 | — | — | — | — | ||||||||||
REMARKS:
- The water heaters are provided with temperature indicators.
- The water heaters without heat exchangers do not have additional couplings.
- With thermostats couplings are provided only with water heaters with heat exchangers. Their number depends of the number of heat exchangers.
Dimensions in the tables are only approximate.

Table 1a
| Fig., | 1a | l b | (.2a.) | |||||||||||||||||
| CAPACITY RANGE | 150 | 200 | 300 | 500 | 200 | 300 | 500 | 200 | 300 | 500 | ||||||||||
| Heat exchanger | 0.90 | 1. | 2. | 3. | 2. | 3. | 5. | 911653+ | 1239; | 230830+ | ||||||||||
| OUTLETS | ||||||||||||||||||||
| 1.-Inlet pipe | 3/4 | 3/4 | 3/4 | 1 | 3/4 | 3/4 | 1 | 3/4 | 3/4 | 1 | ||||||||||
| 2 —Outlet pipe | 3/4 | 3/4 | 3/4 | 1 | 3/4 | 3/4 | 1 | 3/4 | 3/4 | 1 | ||||||||||
| 3 —Outlet pipe | 3/4 | 3/4 | 3/4 | 31/4 | – | – | – | – | – | – | ||||||||||
| 4, 5 — Heat exchanger | 3/4 | 3/4 | 3/4 | 1 | 1 | 1 | 11/4 | 1 | 1 | 11/4 | ||||||||||
| 6 — Circulation | 3/4 | 3/4 | 3/4 | 3/4 | 3/4 | 3/4 | 3/4 | 3/4 | 3/4 | 3/4 | ||||||||||
| 7 — Thermostat coupling | IA | IA | IA | IA | IA | IA | IA | IA | IA | IA | ||||||||||
| 8 — Flansch | v | v | v | v | v | v | v | v | v | v | ||||||||||
| 9 — Thermometer | v | v | v | v | v | v | v | v | v | v | ||||||||||
| 10 — Additional coupling | – | – | – | – | – | 11/2 | 11/2 | 11/2 | ||||||||||||
| A | 265 | 230 | 230 | |||||||||||||||||
| DIMENSIONS | 260 2 0 | 260 2 0 | 265 265 | 320 | 200200 | 200 200 | 240 | 200200 | 200 200 | 240 | ||||||||||
| D | 600 | 600 | 670 | 800 | 670 | 670 | 800 | 670 | 670 | 800 | ||||||||||
| H | 1150 | 1430 | 1605 | 1765 | 1215 | 1605 | 1765 | 1215 | 1605 | 1765 | ||||||||||
| I [mm] | 550 | 840 | 945 | 970 | 560 | 830 | 890 | 200 | 315 | 350 | ||||||||||
| M | 690 | 690 | 760 | 890 | 760 | 760 | 890 | 760 | 760 | 890 | ||||||||||
| P | 890 | 1155 | 1315 | 1425 | 950 | 1330 | 1455 | 950 | 1330 | 1455 | ||||||||||
| E | – | – | – | – | – | – | – | 490 | 605 | 700 | ||||||||||
| J | – | – | – | – | – | – | – | 440 | 640 | 675 | ||||||||||
| C | – | – | – | – | – | – | – | 445 | 560 | 645 | ||||||||||
Dimensions in the tables are only approximate
for water pressure in the mains above 0,5 MPa
![]() | ![]() |
| Stop cock Pressure regulator (pressure reducing valve) Combined valve Pipe diverting water from the combined valve safety valve | Water supply mains outlet Stop cock Pressure regulator (pressure reducing valve) Back flow stop (non-return valve) Safety valve Pipe diverting water from the safety valve Expansion vessel Drain cock |

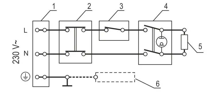
Terminal
Thermal cut-out
Thermostat
Switch
Heating element
Anode (optional)

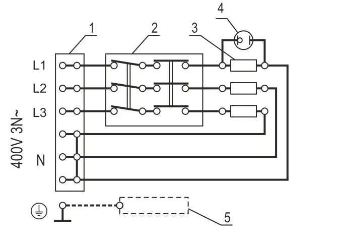
Terminal
Combined thermostat with
thermal cut-out
Heating element
LED
Anode (optional)
WARNING! Before installation and operation with the appliance, read carefully the present manual!
KEY REQUIREMENTS FOR SAFETY
Before starting the installation of your appliance and its operation it is compulsory to read carefully the text of the instructions booklet. It is designed to familiarize you with the unit, with the rules for its proper and safe use and the minimum activities necessary to maintain and service it. Furthermore, you will need to provide this guide for use by qualified persons who will install and repair the unit in case of failure. Installation and commissioning of the unit is not a warranty obligation of the seller and/or manufacturer. Keep this guide in a suitable place for future reference. Compliance with the rules helps for safe use of the appliance and is one of the warranty terms and conditions.
ATTENTION! Installation of the water heater and connection to the water main system should be performed only by qualified persons in accordance with the instructions in the present manual and local regulations in force. Installation of safety and other components provided by the manufacturer is COMPULSORY!
ATTENTION! Connection of the water heater to the water main system should be performed only by qualified persons in accordance with the instructions in the present manual and local regulations in force. The appliance should be properly connected to the current carrying wires and the protection grid! Do not connect the appliance to the electrical installation before filling its water tank up with water! Failure to comply shall make the appliance dangerous and in such state, its use is strictly forbidden!
ATTENTION! Connecting the tank with integrated heat exchangers to a local heating system (solar and/or other water heating systems using water or water solution as coolant) must be carried out by qualified and competent persons in accordance with their design. The way of use of such water heater when heating the water in its tank from an alternative electric coolant, as well as compliance with safety measures, must be carried out as described in the supplementary instructions, regulations and requirements for use, servicing and maintenance. Such an additional instruction booklet is provided by the company responsible for the design and installation works for connecting the tank to alternative heating sources.
WARNING! When using the appliance there is a risk of hot water scalding!
WARNING! Do not touch the appliance and its control panel with wet hands or if you are barefoot or standing on a wet spot!
WARNING! This appliance may be used by children of age over eight years old and persons with reduced physical, sensory or mental capabilities, or lack of experience and knowledge, where they are under supervision or instructed about the safe use of the appliance and understand the dangers. Children must not be allowed to play with the unit! It is absolutely forbidden that children undertake cleaning or servicing of this appliance!
ENVIRONMENTAL PROTECTION
This appliance is marked according to the REGULATION concerning waste electric and electronic equipment (WEEE). By ensuring this product is disposed of correctly, you will help prevent potential negative consequences for the environment and human health, which could otherwise be caused by inappropriate waste handling of this product. The symbol
on the product, or on the accompanying documents indicates that this appliance may not be treated as household waste. Instead, it should be handed over to the applicable collection point for the recycling of electrical and electronic equipment. Disposal must be carried out in accordance with local environmental regulations for waste disposal. For more detailed information about the treatment, recovery, and recycling of this product, please contact your local city office, your household waste disposal service or the shop where you purchased the product.
TECHNICAL DESCRIPTION
Water heaters are designed for room floor installation to provide hot water for large family homes. The heated water should correspond to the normative documents for domestic water and, in particular, its composition of chlorides should be less than 250 mg/l, and the electrical conductivity should be more than 100 µS/cm with pH within limits of 6.5-8 for the water heaters with enameled water tanks (containers), and less than 200 µS/cm for the water heaters with chrome-nickel steel water tanks. The water pressure in the water supply system should be higher than 0.1 MPa and lower than 0.5 MPa. If the water pressure is higher than 0.5 MPa – please refer to the instructions in the section for connection to the water supply network. Special water heater models are in production (for regions where local regulations require) with design to work in plumbing pressure up to 1 MPa. The water containers of the appliances are properly protected against corrosion by using high-quality enameled coating or are made of high-range alloy chrome-nickel (corrosion resistant) steel. Water tanks with enameled coating are equipped with built-in anodes made of special alloy providing additional protection. The heat isolation is hard (molded) polyurethane or polyester with an outer shell. The basic models and modifications are shown on Fig. 1 and 2, while their specifications are listed in Table 1. Please refer to all figures and tables in this manual. The water heater models and their modifications are marked with letters and numbers as follows: The first two letters and the following five digits indicate the device base model.
- „F“ – installation on the floor.
- „V“ – mounting position – vertical.
- xxx – the first three digits after the letter “V”, is the code of the water heater tank’s capacity range.
- yy – the next two digits are code of the device diameter. !Letters after the base model are:
- „I“ – the water container of the appliance is made of chrome-nickel steel alloy.
- „F“ – The thermal insulation of the appliance is made of polyester.
- „S“, „S2“, „S21“, „SМ“, „D1“, „D2“ – the water container is equipped with built-in one or two heat exchangers for water heating from an alternative heat source (local water heating, solar collector and any other similar sources). Fig. 1 for “S” and “S2“, Fig. 2 for „S21“, Fig. 1a for “SM”, Fig. 1b for “D1”, Fig. 2a for „D2“.
- „E“ – digital control unit for the heater or for both – the heater and the devices for heat transfer fluid flow control. These appliances are accompanied by additional instructions describing how to use the digital control unit.
!The power for water heaters for ranges up to 200 is up to 3 kW, for ranges 300-500 – up to 9 kW and up to 12 kW for the rest. Produced as well are water heaters with heat exchangers which do not have electric heaters. !The exact and complete model number, nominal operating parameters, and a serial number of the purchased water heater are marked on its plate affixed on its body. !In order to ease transportation, the water heaters are attached to individual transport pallets.
WATER HEATER INSTALLATION ON THE FLOOR OF THE PREMISE
The water heater can be installed only in normal fire safeguarded premises and where temperature cannot fall under 0 °C. The availability of a siphon of the installation for wastewaters is necessary on the floor of the premise because, during normal usage of the water heater, water may leak from the combined valve. At the same time, the siphon will facilitate the water tank maintenance, prevention, and servicing operations when water needs to be drained out of the water tank. The installation location of the water heater must comply with the outline dimensions, the location of its pipes, and the degree of protection against water penetration. The latter is marked on the appliance production plate with its serial number. The appliance must be protected from water dripping or spraying. The location of the water heater installment must be leveled. A distance between the unit and surrounding walls and ceiling must be allowed in order to complete the necessary electric and water connections, but not less than 100 mm. Before the installation of the appliance if it has been supplied with a transport pallet, start with removing the pallet. Water heaters by ranges up to 500 are equipped with 3 pcs. feet (supports). If the supports are not in the place they have to be screwed in the apertures which the device was attached to the transport pallet. The screwed part allows additional appliance leveling. Larger water heaters must be attached to the room floor through the same openings that serve for its attachment to the transport pallet. WARNING! Nonobservance of the requirements for fixing the water heater may cause damages to the appliance, to other appliances, and the premises, where the device is located, as well as corrosion of the casing or even more serious failures and damages. In such cases, eventual failures and damages are not subject to manufacturer and seller warranty liabilities and will be at the expense of the party which has not observed the present instructions manual. The removal from the transport pallet and the installation of the water heater on the room floor must be carried out by qualified persons who are due to take all necessary precautions to prevent accidents.
WATER HEATER CONNECTION TO THE WATER SUPPLY NETWORK
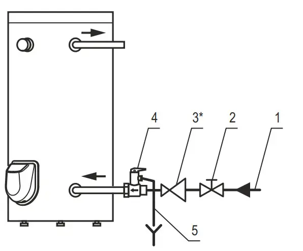
The water heater connected to the water supply network must be performed only by a qualified service company. The plumbing (water supply network) to which the water heater will be connected, as well as any other of its elements, shall have to withstand sustained water temperatures above 80 °C and for short periods – above 100 °C, as well as to pressure at least twice higher than the appliance work pressure. The pipes for cold (inlet) and warm (outlet) water of the water heater are identified by labels with the appropriate inscriptions. Where the plumbing pipes are copper or of another metal, other than that of the water tank, or where brass fasteners are used, it is obligatory to install on the water heater inlet and outlet non-metallic couplings (dielectric fittings). Water heaters by ranges up to 500 are equipped with a combined valve – safety valve and non-return valve located in a common body. The combined valve must be fitted onto the inlet pipe of the tank, in keeping with the arrow on the body showing the direction of the water passing through it. The water heaters by ranges 750 and more are equipped with separate safety and non-return valves. The water heater connected to the water supply network is shown on Fig 3. Their water heater works at the water supply network pressure and that of the safety valve. If the water mains pressure is greater than 0,5 MPa a reduced valve (pressure-reducing valve) has to be installed. When the water heater is part of a system providing hot water it usually works at a lower pressure than the pressure in the water supply network, and for its connection, additional fittings are installed. We recommend these connections to be completed in accordance with Fig. 4. The competent installation company shall identify and provide the necessary additional fittings. This is not a manufacturer and/or seller liability, and is not subject to warranty service.
WARNING! It is FORBIDDEN to install any kind of shut-off fittings between the combined valve and the water heater! It is absolutely forbidden to obstruct the side opening of the combined valve and/or to block its lever! It is recommended to set up a draining system for any dripping water from the combined valve side opening. The draining pipe must have a constant downward slope and locate in a frost secure environment and its ends to be constantly kept open to the atmosphere.
ATTENTION! For appliances with heat exchangers. It is compulsory that all additional tube outlets (except the outlets of the heat exchangers), which will not be connected to the plumbing, as well as the outlets for additional thermostats and/or thermomanometer must be closed with the equipment from the package, or other suitable equipment for this purpose. The compounds (closed outlets) should be sealed for water pressure at least 1,6 MPa and temperatures above 100 °C In order to maintain the appliance efficiency, we recommend that to coat/cover additionally with suitable heat-insulating material that meets the applicable requirements of all its pipe fittings and associated elements. The water tank shall be filled with water as follows: џ Open completely the turn-cock for hot water of the most distant mixing tap; џ Open the cold water stop cock located before the water heater. џ Wait for the in-air system to come out and then for over a half to one minute from the mixing tap should run a full and powerful water jet. џ Close the turn-cock of the mixing tap џ Turn (lift) the combined valve lever or the safety valve cap and wait for about 30 to 60 seconds to run a strong jet of water from the side opening. WARNING! If no water is coming out of the opening of the combined valve or the flow is weak (during normal water pressure), this should be considered as a malfunction indicating that impurities from the plumbing or caused by sewage connections have blocked the safety valve of the combined valve. IT IS FORBIDDEN to proceed with appliance electric connection before eliminating the reason for malfunction.
WARNING! Failure to comply with the requirements for connection to the water supply system may cause partial filling up of the water tank and malfunction of the heating element, or when the combined/safety valve is not installed at all or has been improperly installed this may even cause destruction of the water tank, the room and/or other damages to tangible and intangible property. Such consequences are not within the scope of manufacturer or seller warranty liabilities and shall be at the expense of the party, which has not observed the present manual instructions.
WARNING! The combined/safety valve is one of the unit safety components ensuring security for water heater users. It is specifically FORBIDDEN to use the water heater with a defective or removed/unmounted combined safety valve! hen necessary to drain the water from the water tank proceeds as follows: џ Disconnect the heater from the power supply network with the external disconnecting device and for greater security disconnect the fuse(s) in the heater phase circuit. џ Cut the cold water access to the appliance – close the stop cock џ Open the hot water cock on the tap or disconnect the tank hot water pipe (outlet pipe) connection. џ Open the drain cock or lift the combined valve lever and wait until water stops flowing out of it. hese steps do not still secure the complete draining of the water out of the tank. It is completed only by a qualified person because it requires complete disconnection of the appliance electric circuit and dismantling the water tank flange.
WARNING! When draining the water out of the water tank all necessary precautions must be taken to prevent damages from flowing out water.
WARNING! IT IS STRICTLY PROHIBITED to turn on the heater power while the water tank is partially or completely emptied of water! Do not forget to fill the tank with water before putting the appliance back into operation.
WARNING! Heat transfer fluid circulation through the heat exchanger(s) of a water heater equipped with such device(s) is PROHIBITED when the water tank is partially or completely emptied of water.
CONNECTING THE HEAT EXCHANGER OF THE WATER HEATER TO THE ALTERNATIVE HEAT SOURCE CIRCUIT
The heat exchanger terminals are identified by labels with the appropriate inscriptions. Only technicians who have designed and implemented the project for tank water warming from an alternative heat source shall connect the appliance to the alternative heat source installation. The heat transfer fluid must be driven by a circulating pump. As a heat transfer fluid can be used water with composition and index values within the levels laid down in the regulations related to water or a dedicated aqueous solution that is not aggressive to heat exchanger material. The heat transfer fluid must be with a temperature not higher than 85 °С and in its circuit must be installed a control device set at a temperature not to allow switch on (activation) of the thermal cut-out of the electrical heating elements during normal operation. The heat transfer fluid pressure in the heat exchangers should not exceed the rated pressure of the water heater.
WARNING! It is PROHIBITED to install stop valves on the heat exchanger on both ends (inlet and outlet) simultaneously. In cases where the water heater heat exchanger shall not be used and is not connected to the heat source circuit, it must be filled with propylene glycol solution suitable for heating systems. IT IS FORBIDDEN to allow heat transfer fluid circulation through the heat exchanger when the appliance water tank is empty. Connecting the heat exchanger of the water heater to an alternative heat source circuit must be completed only by qualified technicians, from a company specializing in such services and in accordance with the requirements in the design.
WATER HEATER CONNECTION TO THE POWER SUPPLY NETWORK
WARNING!
Do not proceed to connect the water heater to the power supply network unless you have made sure that its water tank is full of water! Check! The water heater is completed with a degree of protection against electric shock – Class I. The single-phase water heaters are connected to 230 V~, three wires electric installation in according the electric schema on Fig. 5. The three-phase water heaters are connected to 400V 3N~, five wires electric installation in according to the electric schema on Fig. 6. All ends of wires for the appliance electrical circuit must be properly connected in the main power switchboard and in the water heater connection point to the power supply grid. The installation protective conductor must not be interrupted at any place on its route from the appliance to the main power switchboard. The cross-section of each power cable conductor (3 phase, neutral and protected) must be not less than 2.5 mm2 at electric power up to 3 kW/phase and from 4 to 6 mm2 at the power of 4 kW/phase. The protective conductor MUST be connected to the terminal or to the stud marked with the sign of protective grounding. In each circuit, each phase must be installed with 16 A fuse for the power of 9 kW, and 25 A for the power of 12 kW. The electric installation to which the heater will be connected must be built in accordance with the requirements of the applicable statutes and local regulations in force. Protective grounding is mandatory for water heaters without electric parts because these are fitted with electric devices controlling the heat transfer fluid flow through the coils. In order to install the power cord to the electric heater input terminals, the plastic cover must be taken off. Once the connection is completed it must be returned on the place. During electric connection, particular attention must be paid so that the internal electric wires connectors and the water heater secure connections be kept together, as well as thermostats and thermal cut-outs capillary tubes not to be bent or broken.
WARNING! IT IS COMPULSORY that in the electric circuit feeding the heater is installed such a device which in the conditions of overvoltage category III provides full disconnection of all poles. The conductors between the circuit and the device’s incoming electrical terminals must not be interrupted by any circuit breaker or fuse.
WARNING! Failure to comply with the requirements concerning connection to the power supply network shall impede the appliance safety, in which it is prohibited to use. Such consequences are not within the scope of manufacturer or seller warranty liabilities and shall be at the expense of the party, which has not observed the present manual instructions. Only qualified persons are entitled to connect the water heater to the power supply network and to check its functionality.
HOW TO USE THE APPLIANCE
Once the water heater is installed and connected properly with water and electric supply networks it should be put into operation and tested for functionality. The water heater connection and functionality check are not manufacturer or dealer warranty obligations and are not covered by warranty service. Before switching the water heater into operation you must be sure 18 that the water tank is filled with water. CHECK!
WARNING! Do never switch the appliance if there is a chance that the water in the water tank is frozen! This shall damage the appliance. The single-phase water heaters are switched on by pressing the LED key button end marked ‘I’. With the knob, you may adjust to desired water temperature. The lighting of the key when in switched on position indicates that the water heater is operating and water is heating, while when the light is off it indicates that the water has reached adjusted temperature and the heater is switched off. You may switch off the appliance by pressing the end of the button of the glowing key marked with “0”. The appliance built-in thermostat unit has an antifreeze function. When the thermostat knob is to the extreme left, at the scale beginning, the heater shall switch on at ambient temperature around 8-10°C and shall switch off at about 12-15°C. Thus in case of air temperature fall in the room, the water in the tank will be protected from freezing.
ATTENTION! This feature shall not prevent the water in the room plumbing from freezing! There is a sector marked ECO on the graphics around the thermostat knob. When the knob mark is in the ECO sector area the water is heated to an optimal temperature with reduced thermal losses and with lower electrical energy consumption. At the same time the heated water is enough for domestic use. When a greater volume of mixed water is needed the thermostat knob should be set to maximum setting for reaching higher temperature of the water in the water heater. We recommend the knob to be set to ECO when the water heater is being switched on for extended periods of time with no warm water consumption only for storing the heated water.
The three-phase water heater commissioning and switching in operation is carried out by switching the external device in position ON when the control light located on the plastic cover lights on, then the heater is switched on and starts warming water. When the water temperature reaches the values set on the thermostat, the control lamp switches off and lights on again after the water is cooled below a certain degree. The water heater is turned off with the external device button. The appliance built-in thermostat unit has an Antifreeze function. The temperature indicator installed on the appliance external coating indicates the process of water heating. It is not a measurement device and indicates only the approximate temperature and quantity of hot water within the water tank. Using the built-in heater exchangers (for appliances equipped with) to heat the water in the tank must take place in accordance with the instruction provided for by the persons who carried out the design and installation of the system for heating water from alternative electric sources. The technicians who carried out the design and installation services shall be responsible for the water heater performance when powered with alternative sources of energy.
CORROSION PROTECTION
Enamelled water heater tanks
In each water heater with the enameled tank is installed additional corrosion protection. It consists of an anode protector (anode) of special alloy operating only when the water tank is full. The anode is a consumable (i.e. a device with normal wear during the appliance operation) and its average operational life is up to 3 years. This period depends on the type of operation of the appliance and the characteristics of the heated water. After the period of operational life, a manufacturer authorized specialist or dealer service company must check the condition of the anode(s). Where necessary it should be replaced with a new one. Compliance with the inspection deadline and timely replacement of the anode is important for the effective protection of the tank from corrosion. Both the assessment and replacement of the anode are not subject of manufacturer and seller warranty liabilities.
Water tanks of high-quality chrome-nickel alloy steel
Corrosion protection and guaranteed long life are secured by the correct choice of steel, adequate design, and engineering construction during the tank manufacture process.
SERVICE, PREVENTION, MAINTENANCE
In order to secure reliable operation of the water tank in areas with highly calcareous water, it is recommended to clean the limestone accumulated within. This operation should take place at least once every two years, while in areas with higher limestone content even more frequently. The depositions on the enamel coating should not be removed otherwise than wiped with a dry cotton cloth and without using hand tools. Regular limestone removal and cleaning is particularly important for appliance reliable operation. It is recommended that during this maintenance operation you carry out a review of the enameled tank anode condition. These services are not subject to warranty coverage and must be performed only by a qualified person.
WARNING! In order to secure the water heater safe and troublefree operation, the combined valve should be checked regularly for reduced permeability. This is carried out by lifting the lever and waiting 30 to 60 seconds from the valve side edge to run thick and with plenty of water. This operation must be carried out after connecting the water heater to the water supply network and when filling of the tank with water, in the process of using the water heater not less than once every two weeks, as well as eventually after stop and start of water supply. If at full tank by opening the valve does not leak water or its flow is weak, there is a failure and probably the valve is clogged by impurities in the sewage. Using a water heater combined with a defective valve is strictly prohibited. Switch off immediately the appliance from the power supply network and contact the nearest authorized by manufacturer or seller service company. Otherwise, it will cause damage to the water tank and could cause tangible and intangible damages in the room where the water heater is located. When you are not certain about the temperature in the room where the water heater is installed, i.e. that it may fall below 0 °C, the water from the water tank MUST be drained – please refer to section „WATER HEATER CONNECTION TO THE WATER SUPPLY NETWORK“ The water heater outer shell and plastic parts can be cleaned using only a slightly damp soft cotton cloth and never with invasive and/or abrasive substances and preparations. Before cleaning the appliance, it MUST be disconnected from the power supply network with the additional disconnection device. IT IS FORBIDDEN to clean the appliance with a steam generator. The water heater may be switched on in operation only after the complete removal of moisture. The rules for checking the anode and its replacement (please refer to the previous section), as well as the removal of the accumulated limestone, must be strictly observed both during and after the appliance warranty period. During the appliance usage and maintenance do not damage the metal plate with its technical data and serial number. Should you take it off, keep it with the warranty form because it is the document serving to identify the water heater.
FAILURES
If the water heater fails to heat water, check the external device for disconnection, and for single-phase devices if the switch key is off and/or the thermostat knob is in minimum position setting. If the power supply is in order, the circuit breakers are on and the thermostat knob is in maximum position, but the water in the appliance is still not warming (it is possible that the lighting key or the signal lamp are lighted or not), using the external disconnecting device unplug the water heater and contact the nearest authorized service company. In the case where from any mixing tap when the hot water cocks are fully open no water is flowing or the water flow is too weak, check whether the stopcock before the water heater is not partially or completely closed; if the mains water supply has not stopped, or if the output filters of the mixers are not clogged. If all listed above causes are not the cause of failure, use the external disconnecting device to unplug the heater, and contact the nearest authorized service company. When the water heater is equipped with an electronic control board, in the additional instruction manual there are listed error messages appearing on the display in case of failure and what measures to take for each case. In any other general case of failure, using the external disconnecting device unplug the heater and contact the nearest authorized service company.
WARRANTY, WARRANTY PERIOD, AND WARRANTY CONDITIONS
The warranty, warranty conditions, warranty period, warranty validity for the purchased appliance, and service-related manufacturer or vendor liabilities during the appliance warranty period are listed in the appliance warranty form. When buying the appliance the warranty form must be filled out and signed both by the seller and buyer. Keep the warranty form in a secure place. In all instances shall be in force the applicable laws, regulations, and other legislation dealing with the rights and obligations of consumer, seller, and manufacturer, and their relationships related to the purchased water heater, its installation, use, servicing, and maintenance. The warranty term is determined by the seller and is in force only for the geographical territory of the country. Warranty is valid only if the appliance:
- Is installed according to the requirements for installation and operation.
- Is used only as per designed purpose and in accordance with the installation and operation manual. Warranty consists of free-of-charge repair of all factory defects, which may arise during the warranty term. Repair is performed by service specialists, authorized by the seller. Warranty is not valid for damages, caused by:
- Improper transportation џ Improper storage
- Improper usage
- Parameters of water, are different from the admissible norms for quality of drinking water, particularly if: the composition of chlorides is more than 250 mg/l; the electrical conductivity is less than 100
- S/cm and pH is outside of 6,5-8 for water heaters with enameled water tanks; the electrical conductivity is more than 200
- S/cm for water heaters with water tanks made of chrome-nickel steel.
- The supply voltage is different than the unit’s rated voltage.
- Damages due to freezing of water.
- Elemental perils, disasters, and other force majeure circumstances.
- Nonobservance of the installation and operation manual.
- In cases, when a nonauthorized person has tried to repair any kind of defect.
In the above cases, the defect will be repaired against relative payment. Warranty shall not apply to normal wear parts and components of the device, parts that are removed during normal use, lighting and signal lamps and the like, changing the color of external surfaces, change of shape, size, and location of parts and components that are exposed to impact and conditions that are not considered normal use. Lost profits, tangible and intangible damages caused by temporary inability to use the device during its prevention and repair shall not be covered by the warranty.
COMPLIANCE WITH THE REQUIREMENTS OF THIS INSTRUCTION MANUAL IS A PREREQUISITE FOR THE SAFE OPERATION OF YOUR PURCHASED PRODUCT AND IS ONE OF THE WARRANTY TERMS AND CONDITIONS. IT IS ABSOLUTELY PROHIBITED TO THE USER OR ANY AUTHORIZED BY HIM PERSON TO UNDERTAKE ANY C H A N G E S I N T H E P R O D U C T D E S I G N A N D STRUCTURE. ANY FINDING OF SUCH ACTIONS OR ATTEMPTS SHALL AUTOMATICALLY RENDER VOID ALL WARRANTY LIABILITIES OF SELLER OR PRODUCER. IN CASE OF NECESSITY FOR SERVICE SEEK ONLY AUTHORIZED SERVICE COMPANIES. THE MANUFACTURER PRESERVED HIS RIGHT TO STRUCTURAL CHANGES WITHOUT NOTICE WHERE SUCH SHALL NOT AFFECT PRODUCT SAFETY.
Manufacturer:
ELDOMINVEST Ltd.
275A Vl. Varnenchik blvd., Varna, 9009, Bulgaria
www.eldominvest.com





















