E41 Electric Instant Water Heater
Instruction Manual




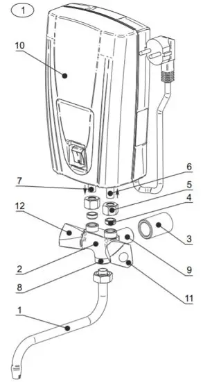
- Winch / Treuil
- Mixing knob / Robinet mélangeur
- Socket 1/2″ from the cold water conduit. The socket is not supplied with the delivery package. / Douille 1/2″ de la conduite d’eau froide. Ne fait pas partie du kit du dispositif.
- Seals / Scelles
- N uts 3/8″ / Écrous 3/8″
- A ppliance inlet pipe / Tuyau d’entrée du dispositif
- A ppliance outlet pipe / Tuyau sortant du dispositif
- M ixer tap outlet ATTENTION! To this outlet is installed ONLY the winch from the kit! /Trou de sortie du robinet mélangeur ATTENTION! A cette sortie s’installe UNIQUEMENT et RIEN QUE le treuil du kit /
- Mixer tap inlet Nipple 1/2″. Connects to the cold water conduit. / Trou d’entrée au robinet mélangeur Mamelon 1/2″. Se connecte au réseau de l’eau froide. /
- W ater heater / Chauffe-eau
- H ot water tap knob – red marking /Bouton de robinet d’eau chaude – marquage rouge
- C old water tap knob – blue marking Bouton du robinet pour l’eau froide – marquage bleu
Parameters
| Model | E41 | E51 | E71 | E42 | E52 | E72 |
| Type mixing tap | Two handles tap | Ceramic tap with one handle | ||||
Purpose | For sink | |||||
Rated voltage | 230 V— | |||||
Power | 3500 | 5000 (3500+1500) | 6500 (3500+3000) | 3500 | 5000 (3500+1500) | 6500 |
Type of the appliance | With free drain off open output type) | |||||
Pressure | 0 MPa | |||||
Water pressure in the water supply network | 0.2-0.8 MPa | |||||
The temperature of water flowing out at full power and inlet water temperature of 12 °C / | 59.5 °C | 68.5 °C | 71 °C | 59.5 °C | 68.5 °C | 71 °C |
at flow | ||||||
1 l/min | 1.2 l/min | 1.5 l/min | 1 l/min | 1.2 l/min | 1.5 l/min | |
43.5 °C | 46 °C | 56 °C | 43.5 °C | 46 °C | 56 °C | |
at flow | ||||||
1.5 l/min | 2 l/min | 2 l/min | 1.5 l/min | 2 l/min | 2 l/min | |
Dimensions | 232x145x85 mm | |||||
The parameters amount in the table above are approximate
WARNING! Before installation and operation with the appliance, read carefully the present manual!
KEY SAFETY REQUIREMENTS
Before starting the installation of your appliance and its operation it is compulsory to read carefully the text of the instructions booklet. It is designed to familiarize you with the unit, with the rules for its proper and safe use and the minimum activities necessary to maintain and service it. Furthermore, you will need to provide this guide for use by qualified persons who will install and repair the unit in case of malfunctioning. Installation and commissioning of the unit is not a warranty obligation of the seller and/or manufacturer. Keep this guide in a suitable place for future reference. Compliance with the rules helps for the safe use of the appliance and is one of the warranty terms and conditions.
ATTENTION! The water heater is intended for use only for domestic purposes in the household and is used to heat water from a common water supply network, which composition and features comply with the specified values in water quality legislation.
ATTENTION! The water heater must be installed and used only in premises without freezing temperatures, with normal fire security, and in conditions satisfying its protection level against water penetration. Otherwise, it shall damage the appliance, and because it is a violation of these instructions for installation and use it shall not be covered by the manufacturer or retailer warranty obligations.
ATTENTION! Installation of the water heater and connection to the water supply network should be performed only by qualified persons in accordance with the instructions in the present manual and local regulations in force. The water pressure in the water supply system should be higher than 0.2 MPa and lower than 0.8 Mpa.
WARNING! It is FORBIDDEN to install the appliance to operate under pressure!
WARNING! IT IS PROHIBITED to clog the opening of the safety valve pipe! Fig. 2
ATTENTION! Installation of safety and other components provided by the manufacturer is COMPULSORY! Installing different mixing knobs is FORBIDDEN!
WARNING! To the mixing, the tap outlet is mounted ONLY the winch supplied in the delivery set.
WARNING! Water heaters are produced with an open outlet to the atmosphere and it is absolutely PROHIBITED to connect their outlet pipe to the stop water tap or fittings. Failure to comply with this requirement shall destroy the appliance!
ATTENTION! Connection of the water heater to the power supply network should be performed only by qualified persons in accordance with the instructions in the present manual and local regulations in force. The appliance should be properly connected to the current-carrying wires and the protection grid! DO NOT connect the appliance to the electrical installation before filling its water tank up completely with water! Failure to comply shall make the appliance dangerous and in such a state, its use is strictly forbidden!
WARNING! It is OBLIGATORY to connect the plug of the power cord of units „E41″ and „E42″ ONLY to an upright and properly connected contact with protective plates type Schuco.
WARNING! In case of failure of the power cord, contact the nearest authorized by the manufacturer service company as the cord must be replaced by the manufacturer, its service agent, or a person with similar qualifications in order to avoid danger.
ATTENTION! IT IS COMPULSORY that in the premise electric circuit feeding the water heater with power cord without plug is installed such a device, which in the conditions of overvoltage category III, provides complete disconnection of all poles. The conductors between the circuit and the device’s incoming electrical terminals must NOT be interrupted by any circuit breaker or fuse.
WARNING! This appliance can be used by children aged from 3 years and above and persons with reduced physical, sensory or mental capabilities, or lack experience and knowledge, if they have been given supervision or instruction concerning the use of the appliance in a safe way understand the hazards involved. Children shall not play with the appliance. Cleaning and user maintenance shall not be made by children without supervision.
WARNING! When using the appliance there is a risk of hot water scalding!
WARNING! Do not touch the appliance and its control panel with wet hands or if you are barefoot or standing on a wet spot!
WARNING! When using the device is PROHIBITED to clog the winch so as to reduce the water flow, because this will cause increased water pressure in the water tank, and can lead to activation of the built-in safety valve.
WARNING! Periodically check for a possible reduction in the winch section caused most likely by the deposition of limestone. Upon finding such it should be carefully removed.
WARNING! In case of failure of the power cord and/or plug, contact your nearest authorized by the manufacturer or vendor service company, because the cord with plug must be replaced by the manufacturer, its service agent, or a person with similar qualifications to avoid danger.
WARNING! You should not use the appliance in case of doubt that the water within the water tank is frozen (room temperature is or recently was below 0°C or it is expected to be). It is MANDATORY to drain the water from the water tank – see section “Maintenance and prevention.” It is PROHIBITED to operate the device in question that the water in it is frozen.
WARNING! The water supply of the appliance by another water heater or system is prohibited!
ENVIRONMENTAL PROTECTION
This appliance is marked according to the European directive concerning waste electric and electronic equipment (WEEE). By ensuring this product is disposed of correctly, you will help prevent potential negative consequences for the environment and human health, which could otherwise be caused by inappropriate waste handling of this product.
The symbol
on the product, or on the enclosed documents indicates that this appliance may not be treated as household waste. Instead, it should be handed over to the applicable collection point for the recycling of electrical and electronic equipment. Disposal must be carried out in accordance with local environmental regulations for waste disposal. For more detailed information about the treatment, recovery, and recycling of this product, please contact your local city office, your household waste disposal service, or the shop where you purchased the product.
TECHNICAL DESCRIPTION
The water heater is intended for use only for domestic purposes in the household and is used to heat water from a common water supply network, which composition and features comply with the specified values in water quality legislation. The water heater is connected to the general water supply network and provides hot water for washing only on the spot (sink) where it is installed. The water is heated at the time of flowing through the unit water tank.
There are three main models of water heaters each with two modifications:
- Model Е41 – with mixer tap with two handles and 3,5kW power
- Model Е42 – with ceramic mixer tap with one handle and 3,5kW power
- Model Е51 – with mixer tap with two handles and 5kW power
- Model Е52 – with ceramic mixer tap with one handle and 5kW power
- Model Е71 – with mixer tap with two handles and 6,5kW power
- Model Е72 – with ceramic mixer tap with one handle and 6.5kW power
On Fig. 1 is displayed the general view of water heater model E41.
The manufacturer reserves the right to change the general appearance and fittings while maintaining the appliance’s safety and functionality.
WATER HEATER CONNECTION TO THE WATER SUPPLY NETWORK
The installation of the heater and mixing tap is carried out in the following sequence – please refer to Fig. 1:
- The mixing tap (2) is screwed into the socket of cold water plumbing (3). The socket is not supplied with the delivery package. In order to ensure connection tightness may be used Teflon tape or another suitable substitute. For tightening use a suitable tap slot wrench. Once tightening and connection tightening is completed, the tap should be placed in a horizontal position so that after heater installation, the latter is in a vertical position with the pipes down.
- To the mixing, the tap outlet is mounted ONLY the winch (1) s u p p l I e d I n t h e d e l I v e r y s e t .
WARNING! Violating this requirement shall impede the appliance’s safety and functionality. - Unscrew the nuts 3/8″(5) from the tap and take out the seals (4).
- Remove the two transport caps placed on the inlet/outlet pipes (6,7).
- Place the nuts on the water heater pipes (5) and then the seals (4).
- Take the water heater in your hands and carefully match its pipes in the mixing tap apertures. The water heater pipes must touch the mixing tap apertures bottoms. The pipe with the arrow pointing to the appliance must be on the right, while the one with the arrow pointing to the tap – on the left.
- While holding the water heater with one hand turn with the other the 3/8″ nuts to the tap. Be careful with the correct and uniform entry of the seals.
- Tighten carefully the nuts 3/8″ with a wrench. Pay attention not to over-tighten the connections.
WARNING! It is forbidden to install a different mixing tap than the one supplied in the manufacturer package.
WARNING! It is prohibited to install on the tap (8) output any fittings or plumbing parts other than the provided by the manufacturer winch or mixing tap!
Fill the water heater tank with water rotating the red tap (the one on the right) counterclockwise until the end (for the two handles tap models) or turn the handle right and upward (for ceramic tap models). Wait until the winch starts to flow strong and solid water flows. Then close the red tap by rotating clockwise to the end (for two handles tap models) or turn the handle down (for ceramic tap models). Because the appliance is with an open-air outlet (the water tank is permanently connected with the atmosphere through its outlet pipe), when the knob is rotated it is possible that from the winch flows out some water until the tank outlet system is completely empty. This is not a defect and the quantity of outflowing water is minimal.
WARNING! Failure to fill the water tank shall cause damage to the water heater.
WARNING! Failure to comply with these instructions and their consequences are not covered by manufacturer or seller warranty liabilities and shall be at the expense of the party, which has not observed the present manual instructions.
WATER HEATER CONNECTION TO THE POWER SUPPLY NETWORK
The instantaneous water heaters have an electrocution degree of protection Class I.
The main circuit to which the appliance is connected must be three-wire: phase, neutral, and grounding conductors. All the extremities of wires in the appliance circuit must be properly connected to the main power switchboard and in the point of connection of the water heater to the power supply grid. The installation grounding conductor must not be interrupted at any place on its route from the appliance to the main power switchboard. The cross-section of the circuit conductors and the fuse size are discussed below. The electric installation to which the heater will be connected must be built in accordance with the requirements of the applicable statutes and local regulations in force.
Models E41 and E42 come factory connected to the appliance with power cord and plug type Schuco. The unit connection is carried out by plugging the power cord into an upright and properly connected contact with protective plates type Schuco. The socket must be located in a place where it is secured against any spraying or pouring liquid, from the condensation of moisture on it and the plug joined and to be easily accessible after installing the heater in its working position. The conductors of the electric 2 installations must be with cross-sections at least 2.5 mm each. The fuse in the phase circuit must be 16 A.
The models E51, E52, E71, and E72 come with a factory connected to the unit three-wire power cord.
- The cross-section of each of the wires in the power cord models E51 and E52 is 2,5 mm².
- The cross-section of each of the wires in the power cord models E71 and E72 is 4 mm².
- Connect the power cord wire ends to a socket of the premise power supply circuit. The socket location must be selected so that it can be protected from any spraying or pouring liquid, from condensation or moisture on it and on the connecting power cord.
- The premise’s electric installation conductors which power water heaters models E51 and E52 should be at least with a section 2,5 mm each and provided with phase fuse circuit – 25 A.
- The premise’s electric installation conductors which power water heaters models E71 and E72 should be at least with a section 4 mm each and provided with phase fuse circuit – 35 A.
WARNING! IT IS IMPERATIVE that the power cord wires connecting the tank to the installation socket be as follows: - brown wire cord to the electric installation phase conductor;
- blue wire cord to the electric installation neutral conductor;
- green-yellow wire cord to the electric installation protective grounding conductor (grounded circuit).
WARNING! IT IS COMPULSORY that in the premise electric circuit feeding the heaters models E51, E52, E71, and E72 is installed such a device, which in the conditions of overvoltage category III, provides complete disconnection of all poles. The conductors between the circuit and the device incoming
electrical terminals must not be interrupted by any circuit breaker or fuse.
WARNING! When connecting the water heater to the mains the proper connection to the electric installation neutral and protective conductor is compulsory. Failure to comply shall make the appliance dangerous and in such a state, its use is strictly forbidden!
WARNING! Failure to comply with the requirements concerning connection to the mains shall reduce the appliance safety, which it is prohibited to use. Such consequences are not within the scope of manufacturer or seller warranty liabilities and shall be at the expense of the party, which has violated the present manual instructions.
The electric installation inspection and the connection of the water heater can be carried out only by authorized persons.
Once the water heater is installed and connected properly with water and electric supply networks it should be put into operation and tested for functionality. Appliance installation, connection, and functionality tests must be performed only by a qualified person. These activities are not manufacturer or dealer warranty obligations and are not covered by warranty service.
HOW TO USE THE APPLIANCE
The water heater can be switched in operation ONLY after being filled with water. CHECK! The check shall be carried out with heaters off (the extremities of the key marked “0” are pressed) the red tap of the mixing tap is turned counterclockwise (open position for two handles tap models) or turn the handle right and upward (for ceramic tap models). Wait until a dense water stream flows.
WARNING! If the winch (the shower apertures) do not leak water it is likely that these are blocked. In such case the device use is prohibited – please refer to the section Maintenance and prevention.
WARNING! Do never switch the appliance if there is a chance that the water in the water tank is frozen! This shall damage both heater and the tank.
Switching in operative mode the appliance filled with water and connected to the electric installation is carried out by opening the red tap of mixer tap with two handles or by rotating right and upward the handle of ceramic tap:
- When the key is switched off (the extremity marked “0” is pressed) from the winch (shower) shall flow cold water.
- When the key is switched on (the extremity of the key marked I and/or II is pressed) when rotating the knob after reaching a certain water flow, the key indicator lamp shall light up and the heater will turn on. The water temperature stabilizes after about 15-30 s.
- With the key in ON position turning the red tap of mixer tap with two handles in either direction or by turning right or left, and raising or lowering the handle of ceramic tap serves for selecting the optimum water temperature.
NOTE! To adjust the water temperature we recommend using only the red crane. At low water flow, the temperature is high and at higher flow rates the temperature lowers. The blue tap is used mostly for cold water.
For water heaters models E51, E52, E71, and E72 the water temperature can be further adjusted by switching on one or both of the heaters using the two-buttons key (marks “I” and “II” on the buttons). The button marked “I “switches the heater unit – the one with greater power.
The button marked “II” switches on the booster heater serving to increase the overall capacity of the unit. If only the booster heater is switched on, it is possible that the desired temperature of heated water is not achieved. Within the water heaters is built-in a thermal limiter to prevent water temperature excess beyond a specific limit.
When the water temperature reaches such a limit, the limiter switches off the heaters and then once the temperature falls too low switches them on.
For all water heater models, it may occur a significant decrease of the water flow through the unit that the integrated hydraulic breaker disconnects the heaters. Once the water flow increases the heaters shall be switched on.
Once the use of hot water is completed, close the red tap, switch the key/button in position “0” and wait for the water from the winch to drain out.
UNIT MAINTENANCE AND PREVENTION
The device is equipped with an integrated special valve protecting its structure from any hazardous pressure increase in the water tank.
In such cases the valve membrane is torn-off and the discharge pipe valve starts leaking. The safety valve pipe outlet is left of the appliance pipes – Fig. 2.
WARNING! IT IS PROHIBITED to clog the opening of the safety valve pipe!
When water leaks from the safety valve pipe nozzle it is MANDATORY immediately to:
- Stop using the device by closing the red tap (stop water flow through the unit);
- Toggle the buttons of the key in switch off position (the extremities of the key marked “0” are pressed);
- Switch off the unit from mains:
* for models Е41 and Е42 unplug the power cord from the socket;
* for models Е51, Е52, Е71 and Е72 switch off the additional switch; - Contact the nearest authorized by the manufacturer service company.
To protect the appliance in areas with high limestone content in the water we recommend cleaning limestone deposits on heaters from time to time. This can be carried out only by authorized by manufacturer repair specialists because it requires unit disassembly. This service is not part of manufacturer warranty liabilities.
In case of doubts for temperatures below zero in the premise where the appliance is installed, the water must be drained off.
This is carried out with the tank disconnected from the mixing knob with interrupted access of water from the water supply, held for a while in a vertical position with the pipe down, and waiting until the water is completely drained from the unit water tank.
WARNING! When draining the water out of the water tank all necessary precautions must be taken to prevent damages from flowing out water.
If the unit inlet pipe does not leak water you should contact the nearest authorized service center to remove the particles clogging the system (most frequently limestone).
Increasing the water pressure in the water tank of the appliance is a result of non-compliance with the appliance installation and usage requirements – mounting the appliance to operate under pressure, blocking the hot water pipe outlet, irregular cleaning of the limestone deposited in the areas with limewater, water freezing, etc. Replacing the safety valve membrane is not a warranty obligation of the trader and/or manufacturer.
FAILURES
In cases when the heater does not heat water, check if it is correctly connected to the mains, or if the power supply in the premise is not cut off, or if the illuminated switch is not in position off, or if the water flowing through the appliance is too little, or if the pressure in the plumbing is not lower than necessary.
If none of the above listed possible causes is present, disconnect the heater from the power supply, stop the water flow to the appliance, and call the nearest authorized service company.
In case that with a normal water supply and the knob turned to its maximum position and switched on the power supply (mains and unit key illuminated) from the winch or the shower apertures is leaking water, and key buttons are glowing, IMMEDIATELY UNPLUG THE APPLIANCE from both the power and the water supply networks.
IT IS FORBIDDEN to attempt appliance subsequent switch on. Immediately contact the nearest authorized by the manufacturer service company.
In case of failure of the power cord and plug of water heater models “E41” and “E42”, contact the nearest authorized by the manufacturer service company as the cord with plug must be replaced by the manufacturer, its service agent, or a person with similar qualifications in order to avoid danger.
During the appliance usage and maintenance do not damage the metal plate with its technical data and serial number. If you take it from the appliance store it is together with the warranty card because this is the only way to identify the product you purchased.
WARRANTY, WARRANTY PERIOD, AND WARRANTY CONDITIONS
The warranty, warranty conditions, warranty period, warranty validity for the purchased appliance, and service-related manufacturer or vendor liabilities during the appliance warranty period are listed in the appliance warranty form. When buying the appliance the warranty form must be filled out and signed both by the seller and buyer.
Keep the warranty form in a secure place.
In all instances shall be in force the applicable laws, regulations, and other legislation dealing with the rights and obligations of consumer, seller, and manufacturer, and their relationships related to the purchased water heater, its installation, use, servicing, and maintenance.
The warranty term is determined by the seller and is in force only for the geographical territory of the country.
Warranty is valid only if the appliance:
- Is installed according to the requirements for installation and operation.
- Is used only as per designed purpose and in accordance with the installation and operation manual.
Warranty consists of free-of-charge repair of all factory defects, which may arise during the warranty term. Repair is performed by service specialists, authorized by the seller.
Warranty is not valid for damages, caused by:
- Improper transportation
- Improper storage
- Improper usage
- Parameters of water, different from the admissible norms for quality of drinking water, and particularly if the composition of chlorides is more than 250 mg/l; the electrical conductivity is less than 100 μS/cm and pH is outside of 6,5-8 for water heaters with enameled water tanks; the electrical conductivity is more than 200 μS/cm for water heaters with water tanks made of chrome-nickel steel.
- The supply voltage is different than the unit’s rated voltage.
- Damages due to freezing of water.
- Elemental perils, disasters, and other force majeure circumstances.
- Nonobservance of the installation and operation manual.
- In cases, when a nonauthorized person has tried to repair any kind of defect.
In the above cases, the defect will be repaired against relative payment.
Warranty shall not apply to normal wear parts and components of the device, parts that are being removed during normal use, lighting and signal lamps and the like, changing the color of external surfaces, change of shape, size, and location of parts and components that are exposed to impact and conditions that are not
considered normal use.
Lost profits, tangible and intangible damages caused by temporary inability to use the device during its prevention and repair shall not be covered by the warranty.
COMPLIANCE WITH THE REQUIREMENTS OF THIS INSTRUCTION MANUAL IS A PREREQUISITE FOR THE SAFE OPERATION OF YOUR PURCHASED PRODUCT AND IS ONE OF THE WARRANTY TERMS AND CONDITIONS.
IT IS ABSOLUTELY PROHIBITED TO THE USER OR ANY AUTHORIZED BY HIM PERSON TO UNDERTAKE ANY CHANGES IN THE PRODUCT DESIGN AND STRUCTURE. ANY FINDING OF SUCH ACTIONS OR ATTEMPTS SHALL AUTOMATICALLY RENDER VOID ALL WARRANTY LIABILITIES OF SELLER OR PRODUCER.
IN CASE OF NECESSITY FOR SERVICE SEEK ONLY MANUFACTURER AUTHORIZED SERVICE COMPANIES LISTED IN THE ANNEXED FORM.
THE MANUFACTURER PRESERVED HIS RIGHT TO STRUCTURAL CHANGES WITHOUT NOTICE WHERE SUCH SHALL NOT AFFECT PRODUCT SAFETY.

Multi-thermique SAS
300 route de Cortines
01250 Montagnat
France
04 28 44 00 00



















