www.eldominvest.com
HOUSEHOLD ELECTRIC WATER HEATERS
designed for wall installation
TECHNICAL DESCRIPTION. MANUAL FOR INSTALLATION, OPERATION AND
MAINTENANCE. WARRANTY AND WARRANTY CONDITIONS

| Water inlet |
| Water outlet |
| Combined valve |
| Illuminated rocker switch |
| Thermostat |
| Anode tester |
| Signal lamp / LED |
Table 1
| 72269W 72269WG 72269WDG | 72267W 72267WG 72267WDG | 72268W 72268WG 72268WDG | 72280 | 72281 | ||
| Capacity group | 30 | 50 | 80 | 150 | 200 | |
| Fig. | 1+1d | 1 | ||||
| Dimensions | D | 360 | 360 | 360 | 586 | 586 |
| H | 550 | 750 | 1115 | 1015 | 1255 | |
| B | 470 | 665 | 1030 | 930 | 1170 | |
| W | 380 | 380 | 80 | 600 | 600 | |
| E | 70 | 70 | 70 | 105 | 105 | |
| C | 145 | 145 | 145 | 190 | 190 | |
| M | – | – | – | 560 | 780 | |
2
| Water inlet |
| Water outlet |
| Combined valve |
| Stand |
| Wall fixing |
| Appliance plate |
| М10 bolt with nut |


Dimensions in the tables are only approximate.
Table 1a
| Model | 72280XB (72280XBS) | 72281XB (72281XBS) | |
| Capacity group | 150 | 200 | |
| Fig. | 2 | ||
| Dimensions | H | 1015 mm | 1255 mm |
| B | 930 mm | 1170 mm | |
| Heat exchanger surface | (0.59) m2 | (0.77) m2 | |

Heat exchanger
Table 2
| Model | 72280S | 72281S | ||
| Capacity group Volumengruppe / Volume / Capaciteit | 150 | 200 | ||
| Fig. | ||||
| Площ на серпентините Heat exchanger surface | Enamel | S | 0.89 | 0.89 |
| S2 | – | – | ||
| Cr-Ni | S | 1.11 | 1.11 | |
| S2 | – | – | ||
| Dimensions | F | 195 | 195 | |
| Dimensiuni | 450 | 450 | ||

| Wall |
| Plate |
| Stud |
| Nut |

Remark:
- Pos. 1, 5 and 6 are welded.
- The premise floor and ceiling are made of reinforced concrete.
| Plate 4х60х360 |
| Appliance plate |
| Bolt (stud) М10 |
| Nut |
| Column (bracket) |
| Plate 4х100х100 |
| Anchors for concrete |

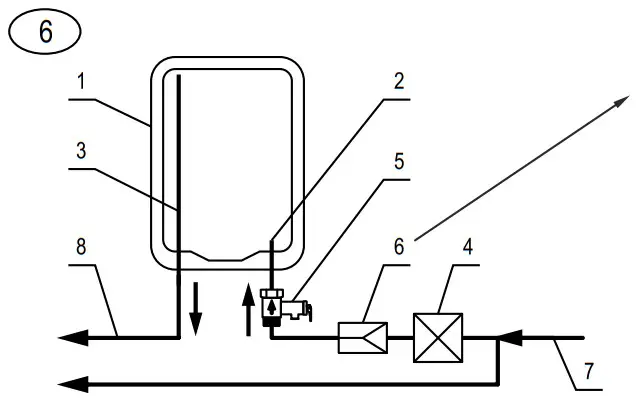
for water pressure in the mains above 0,5 MPa
| Water heater |
| Water inlet |
| Water outlet |
| Stop cock |
| Combined valve |
| Reducing valve |
| Cold water |
| Hot water |

| Thermal cut-out |
| Thermostat |
| Rocker switch |
| Heater |
| Anode |
| Anode tester |
| Signal lamp / LED |
![]()
Optional
WARNING! Before installation and operation with the appliance, read carefully the present manual!
KEY REQUIREMENTS FOR SAFETY
Before starting the installation of your appliance and its operation it is compulsory to read carefully the text of the instructions booklet. It is designed to familiarize you with the unit, with the rules for its proper and safe use and the minimum activities necessary to maintain and service it. Furthermore, you will need to provide this guide for use by qualified persons who will install and repair the
unit in case of failure. Installation and commissioning of the unit is not a warranty obligation of the seller and/or manufacturer. Keep this guide in a suitable place for future reference. Compliance with the rules helps for safety use of the appliance and is one of the warranty terms and conditions.
ATTENTION! Installation of the water heater and connection to the water main system should be performed only by qualified persons in accordance with the instructions in the present manual and local regulations in force. Installation of safety and other components provided by the manufacturer is COMPULSORY!
ATTENTION! Connection of the water heater to the water main system should be performed only by qualified persons in accordance with the instructions in the present manual and local regulations in force. The appliance should be properly connected to the current-carrying wires and the protection grid! Do not connect the appliance to the electrical installation before filling its water tank up with water! Failure to comply shall make the appliance dangerous and in such a state, its use is strictly forbidden!
ATTENTION! Connecting the tank with integrated heat exchangers to a local heating system (solar and/or other water heating systems using water or water solution as coolant) must be carried out by qualified and competent persons in accordance with their design. The way of the use of such water heater when heating the water in its tank from an alternative electric coolant, as well as compliance with safety measures, must be carried out as described in the supplementary instructions, regulations, and requirements for use, servicing, and maintenance. Such an additional instruction booklet is provided by the company responsible for the design and installation works for connecting the tank to alternative heating sources.
WARNING! When using the appliance there is a risk of hot water scalding!
WARNING! Do not touch the appliance and its control panel with wet hands or if you are barefoot or standing on a wet spot!
WARNING! This appliance may be used by children of age 3 years old and persons with reduced physical, sensory or mental capabilities, or lack of experience and knowledge, where they are under supervision or instructed about the safe use of the appliance and understand the dangers. Children must not be allowed to play with the unit! It is absolutely forbidden that children undertake cleaning or servicing of this appliance! Children aged from 3 to 8 years are only allowed to operate the tap connected to the water heater.
ENVIRONMENTAL PROTECTION
This appliance is marked according to the REGULATION concerning waste electric and electronic equipment (WEEE). By ensuring this product is disposed of correctly, you will help prevent potential
negative consequences for the environment and human health, which could otherwise be caused by inappropriate waste handling of this product. The symbol
on the product, or on the accompanying documents indicates that this appliance may not be treated as household waste. Instead, it should be handed over to the applicable collection point for the recycling of electrical and
electronic equipment. Disposal must be carried out in accordance with local environmental regulations for waste disposal. For more detailed information about the treatment, recovery, and recycling of
this product, please contact your local city office, your household waste disposal service or the shop where you purchased the product.
TECHNICAL DESCRIPTION
The water heater is intended for domestic purposes in households and can provide hot water from the common water main system simultaneously for a few consumers – kitchen, bathroom and etc.
The heated water should correspond to the normative documents for domestic water and, in particular: its composition of chlorides should be less than 250 mg/l; the electrical conductivity should be more than 100 µS/cm and pH=6,5-8 for the water heaters with enameled water tanks; the electrical conductivity should be less than 200 µS/cm for the water heaters with chrome-nickel steel water tanks. The water pressure in the water supply system should be higher than 0.1 MPa and lower than 0.5 MPa. If the water pressure is higher than 0.5 MPa – please refer to the instructions in the section for connection to the water supply network. Special water heater models are in production (for regions where local regulations require) with design to work in plumbing pressure up to 1 MPa.
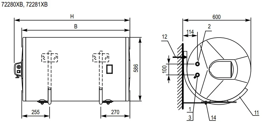
The appliance’s water containers of the appliances are properly protected against corrosion by using high-quality enameled coating or are made of high-range alloy chrome-nickel (corrosion resistant) steel. Water tanks with enameled coating are equipped with built-in anodes made of special alloy providing additional protection. The outer casing of the appliances is made of epoxy-polymer coverage and the heat insulation is made of CFC-free polyurethane foam. Schematic views of the basic models with their modifications are shown in Fig. 1-3, and their engineering characteristics – in Tables 1-2. Please refer to all figures and tables in the manual. The water heater models and their modifications are marked with a number with additional letter and digit as follow:
- The base model is marked only with a number – a water heater with an enameled water container for vertical installation, Fig. 1 and 1a.
- “А” – in the enameled water tank is built-in an anode tester indicating the level of corrosion protection and anode wear, Fig. 1b.
- “Н” – the water container of the appliance is made of chrome-nickel steel alloy.
- “Х” – the water heater may be installed only horizontally.
- “B” – the water heater for horizontal installation comes with a set of brackets for mounting.
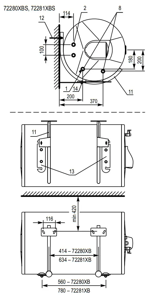
- “S” – the water container is equipped with built-in heat exchangers for water heating from an alternative heat source (local water heating, solar collector, and any other similar sources), Fig. 3. Water heaters with a heat exchanger designed for horizontal installation are marked with additional combinations of letters, the main ones being “XBS,” Fig. 2.
- “R” – the outlets of the heat exchanger and/or the cold/hot water pipes on some modifications vertical and horizontal water heaters are located on the right side of the mounted on the wall appliance.
- “L” – the cold/hot water pipes on some modifications of horizontal water heaters are located on the left side of the mounted on the wall appliance.
- “D”, “DC” – within the water heaters are built-in up to two electric heaters located in special tubes on the tank flange. It improves the appliance safety of the device while increasing corrosion resistance. “D” – metal tube heating element, up to 1,6 kW for 30 and 50 l., up to 2 kW for 80 and 100 l., and up to 2,4 kW for the remaining. “DC” – ceramic heating element, 1,5 kW for 50 l. and up to 2.2 kW for the remaining.
- “E” and “Ek” – water heater with heater digital control unit (“E”) or in modification with heat exchanger – on both heater and devices for coolant flow control (“Ek”), Fig. 1c. These appliances are
accompanied by additional instructions describing how to use the digital control unit. - “W”, “WG”, and “WDG”, “WNDG” – the water heater is with new design of the shell. “W” – The appliance is equipped with a rocker switch (for turning on/ off of the heating element) and with additional LED indication for the operation of the heating element. “WG” – the appliance is equipped only with an LED indication for the operation of the heating element. The general view of these modifications is shown in Fig 1d. The electric power of water heaters (excluding those with letters “D” and “DC”) is 1,5 kW for 30 l, up to 2 kW for 50 l, and up to 3 kW for all others.
The exact and complete model number, nominal operating parameters, and serial number of the purchased water heater are marked on the manufacturer plate affixed on its body. Water heaters for vertical installation. These models of heaters are designed for mounting only in a vertical position with cold and hot water pipes downward, Fig. 1.
Water heaters for horizontal installation. These models of heaters are designed for mounting only in a horizontal position in accordance with the schema designed for each model number, Fig. 2.
Water heaters with heat exchanger. The water heaters of these models secure an energy-efficient operation thanks to their built-in heat exchangers. The heat exchanger(s) outlets locations and their basic installation distances are shown in Fig. 2-3 and Tables 1a and 2. By using a heat exchanger bigger quantities of water inside the water container can be heated through an additional alternative energy source, i.e. local or central heating system, solar collectors, and other similar sources. For more efficient heat exchanger use it is recommended to move the heat-transfer liquid with a circulation pump. For heat-transfer liquid may be used as well water with composition and parameters with deviations within the permissible norms as defined in the regulations concerning the water legislation. The heat-transfer liquid must be with a temperature not higher than 85 °С and in its circuit must be installed a control device set at this temperature in order not to allow thermal cut-out of the electrical heating element during normal operation. The pressure of the heat-transfer liquid in the heat exchangers must not exceed the stated working pressure of the heater.
WATER HEATER INSTALLATION ON THE WALL OF THE PREMISE
The water heater can be installed only in normal fire safeguarded premises and where temperature cannot fall under 0 °C. The availability of a siphon on the installation for wastewaters as during normal usage of the water heater, water may leak from the safety valve aperture. At the same time, the siphon will facilitate the water tank maintenance, prevention, and servicing operations when water needs to be drained out of the water tank.
The type and nature of wall construction material, the appliance dimensions, the way of fixing it, the location of its fixing elements and tubes, its protection against dripping water must be taken into account when choosing the proper place for installation. The appliance must be mounted where it is protected against water dispersion or water pouring over. In order to reduce heat loss, it is recommended to keep a minimum distance between the heater and the places where hot water is used. It is obligatory that there are spaces provided between the appliance and the surrounding walls and the ceiling of the premise, as follow:
- For vertical heaters – at least 70 mm between the appliance and the ceiling; at least 50 mm between the appliance and the sidewall; at least 350 mm below the appliance to facilitate servicing and possible repair.
- For horizontal heaters – at least 70 mm between the unit and the ceiling; at least 70 mm between the side cover (outlets excluded) and the wall; at least 350 mm between the electric part plastic cover and the wall to facilitate the servicing and possible repair, and a sufficient distance below the unit for installation of water connections and drain the water from the tank.
- In tanks with heat exchangers must be kept a distance from the coil terminals side and the joints for additional thermostats necessary to connect the additional control and safety units. A water heater should be installed steadily on the wall of the premises. For this purpose steel bolts (studs), tightly fixed in the wall, with a diameter 10-12 mm are used. The fixing elements should be secured against pulling aside the wall – they should be anchor or passage bolts (depending of the wall construction material). It is recommended that the elements on which the heater will be suspended are designed for three times greater loads than the appliance’s total weight and located in the water therein. Installation of the water heater on decorative walls (made of single bricks or of other light materials) is strictly forbidden. In Fig. 1-3 and in the tables are shown the distances between the bolts (studs) for mounting the units. Vertical heaters of 150 and 200 liters are equipped with a special type of suspension plate and correspondingly the distance between the bolts (studs) differs from that of other models and modifications, please refer to Fig. 1.
WARNING! The bearing plates of horizontal water heaters must be securely clamped to the premise wall. Under the heads of the bolts (nuts on studs) must be placed support washers!
Given the greater weight for water heaters of 150 and 200 liters there are higher requirements for fixing to the premise wall and to the wall itself:
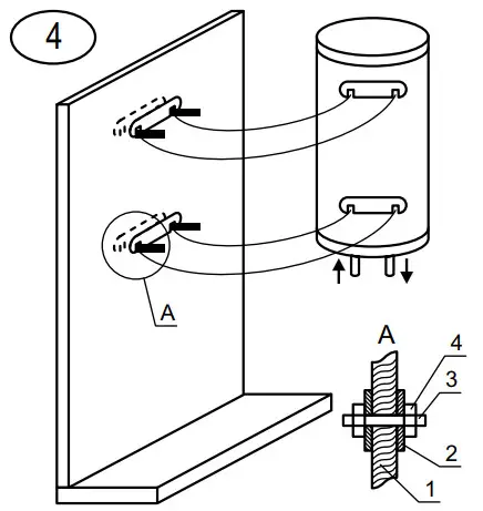
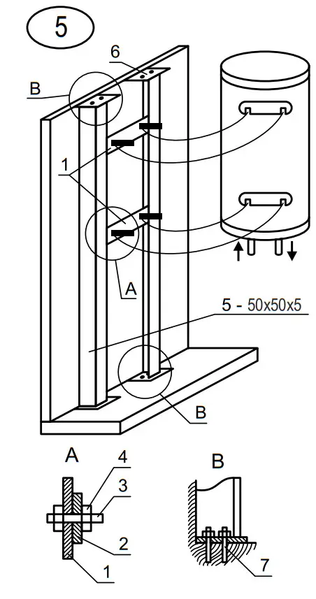
- Given the wall type, material and strength, in order to provide secure attachment for vertical water heaters it is necessary to build an additional structure or to take adequate measures to strengthen an existing one. Samples of such constructions are shown on Fig. 4 for reinforced concrete wall thick 25 cm and more, and on Fig. 5 – for a brick wall and others materials.
- The producer supplies an additional package of bolts brackets for horizontal water heaters. These water heaters may be mounted only on reinforced concrete walls thick 25 cm and more. The brackets are attached to the premise wall with securely held studs (anchors) The location of the brackets and the way the water heater is attached to them are shown in Fig. 2.
WARNING! Nonobservance of the requirements for fixing the water heater on the wall may cause damages to the appliance, damages on other appliances and the premises, where the device is located, as well as corrosion of the casing or even more serious failures and damages. In such cases, eventual failures and damages are not subject to manufacturer and seller warranty liabilities and will be at the expense of the party which has not observed the present manual instructions. The water heater mounting to the premise wall must be completed only by a specialist.
WATER HEATER CONNECTION TO THE WATER SUPPLY NETWORK
The plumbing to which the water heater will be connected, as well as any other elements included in it shall have to withstand sustained water temperatures above 80 °C and for short periods – above 100 °C, as well as to pressure at least twice high the appliance working pressure.
Upon connection of the water heater to the water supply grid, the arrows and indication ring around the water heater pipes for hot and cold water must be observed (inlet and outlet pipes). With an arrow towards the pipe and blue color is marked the cold water pipe and an arrow starting from the pipe in red color – the hot water pipe. Some appliance pipes are additionally marked with badges. The pipe’s outlets are with threading 1/2″. A schematic diagram for the water heater connection is shown in Fig 6. Where local regulations require the use of additional devices that are not included with the unit supply set and are not placed in the packaging, these must be purchased and installed according to regulations.
The water heater is equipped with a combined check-safety valve. The latter is located in the appliance packaging and MUST OBLIGATORY be mounted on the cold water pipe. During that installation follow the arrow on its hull showing the direction of water flow through it.
WARNING! It is FORBIDDEN to install any kind of shut-off fittings between the combined valve and the water heater! It is absolutely forbidden to obstruct the lateral opening of the combined valve and/or to block its lever! Where the plumbing pipes are copper or of another metal, other than that of the water tank, or where brass fasteners are used, it is obligatory to install on the water tank inlet and outlet non-metallic couplings (dielectric fittings).
ATTENTION! For appliances with heat exchangers. It is compulsory that all additional tube outlets (except the outlets of the heat exchangers), which will not be connected to the plumbing, as well as the outlets for additional thermostats and/or thermomanometer must be closed with the equipment from the package, or other suitable equipment for this purpose. The compounds should be sealed for water pressure of at least 1,6 MPa. It is recommended to set up a draining system for any dripping from the combined valve side opening. The draining pipe must have a constant downward slope and locate in a frost secure environment and its ends to be constantly kept open to the atmosphere. Once the water heater is connected to the water supply main, its water tank should be filled up with water. It is carried out in the following order:
- Open completely the turn-cock for hot water of the most distant mixing tap;
- Open the stop valve on pos. 4 from Fig. 6);
- Wait until a thick and powerful stream of water runs out of the mixing tap;
- Close the turn-cock for hot water of the mixing tap;
- Lift the lever of the combined valve on pos. 5 from Fig. 6) and wait for about 30-60 seconds until a thick and powerful stream of water runs out from the valve side opening;
- Loose the lever of the combined valve.
WARNING! If no water is coming out of the opening of the combined valve or the flow is weak (during normal water pressure), this should be considered as a malfunction indicating that impurities from the plumbing or caused by sewage connections have blocked the safety valve of the combined valve. IT IS FORBIDDEN to proceed with appliance electric connection before eliminating the reason for malfunction!
WARNING! Failure to comply with the requirements for connection to the water supply system may cause partial filling up of the water tank and malfunction of the heating element, or when the combined valve is not installed at all or has been improperly installed this may even cause destruction of the water tank, the room and/or other damages to tangible and intangible property. Such consequences are not within the scope of manufacturer or seller warranty liabilities and shall be at the expense of the party, which has not observed the present manual instructions.
WARNING! The combined reciprocating safety valve is one of the unit safety components ensuring security for water heater users. It is specifically FORBIDDEN to use the water heater with a defective or removed/unmounted combined safety valve!
The water heater connected to the water supply system must be performed only by qualified persons.
Where necessary the safety valve may serve for draining the water out of the water tank. It is carried out the following order:
- Disconnect the heater from the mains with the optional device and for greater security disconnects the fuse in the heater phase circuit.
- The cold water access to the appliance is cut – close the stop cock (pos. 4 from Fig. 6).
- Open the hot water cock on the tap or disconnect the tank hot water pipe (outlet pipe) connection.
- Lift the lever of the combined valve on pos. 5 from Fig. 6 and wait until the water stops flowing out of the valve opening.
These steps do not still secure the complete draining of the water out of the tank. It is completed only by a qualified person because it requires complete disconnection of the appliance electric circuit and dismantling of the water tank flange
WARNING! IT IS STRICTLY PROHIBITED to turn on the heater power while the water tank is partially or completely emptied of water! Do not forget to fill the tank with water before putting it back into operation.
WARNING! The coolant circulation through the heat exchanger of a water heater equipped with such a device is PROHIBITED when the water tank is partially or completely emptied of water.
WARNING! When draining the water out of the water tank all necessary precautions must be taken to prevent damages from flowing out water.
CONNECTING THE WATER HEATER WITH HEAT
EXCHANGER TO THE ALTERNATIVE HEAT
SOURCE CIRCUIT
The water heater with heat exchanger must be connected to the alternative heat source in accordance with the special additional instructions provided by the company responsible for the installation and connection of the heater design. It is mandatory to install all supplied and/or recommended by this company safety, control, and coolant movement management devices.
WARNING! It is prohibited to fit stop valves on heat exchangers on both ends (inlet and outlet) simultaneously. In cases where the water heater heat exchanger shall not be used and is not connected to the heat source circuit, it must be filled with propylene glycol solution suitable for heating systems.
Connecting the heat exchanger of the water heater to an alternative heat source circuit must be completed only by qualified technicians in the field from a company specializing in such services and in accordance with the design.
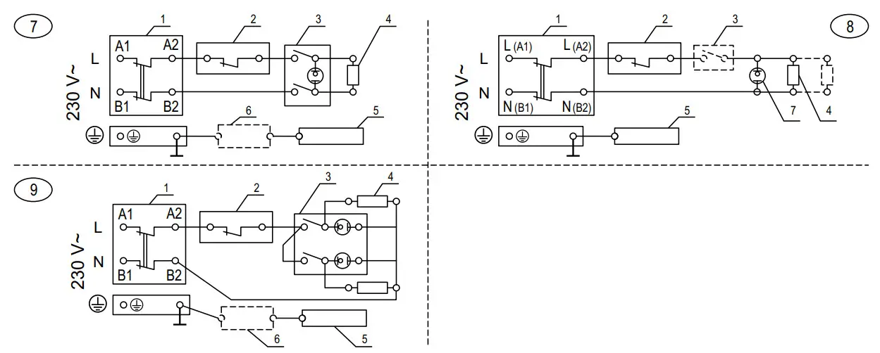
WATER HEATER CONNECTION TO THE POWER SUPPLY NETWORK WARNING!
Do not proceed to connect the water heater to the power supply network unless you have made sure that its water tank is full of water! Check! A water heater is an appliance with a protection degree against current damages Class I, which requires its compulsory connection to the earthling circuit of the power supply installation. The water heaters models electric circuit schema are shown on Fig. 7-9. The electric power supply of the water heaters is 230 V~ and should be performed by a separate current circuit of insulated three-core supply cable 2 with a cross-section of each of the wires of 2,5 mm (phase, neutral, and grounding). Therefore if the in-wall cable is two-wire, a qualified electrician must add a third, protective conductor with no interruption on its track from the switchboard to the water heater. If the earthling conductor/wire has intermediate connections, the latter must be secured against loosening. Otherwise, the appliance shall not be correctly earthed and it shall reduce its safety.
WARNING! IT IS COMPULSORY that in the electric circuit feeding the heater is installed such a device which in the conditions of overvoltage category III provides full disconnection of all poles. The conductors between the circuit and the device’s incoming electrical terminals must not be interrupted by any circuit breaker or fuse. Should the water heater be installed in premise with shower cubicle and/or bath the disconnecting device must be located outside. All the extremities of wires in the appliance circuit must be properly connected to the main power switchboard and in the heater connection point to the power supply grid. In the phase circuit, it is obligatory to install an electric fuse 10 А for water heater electric capacity up to 2 kW and 16 A for electric capacity of 3 kW. The electric installation to which the heater will be connected must be built in accordance with the requirements of the applicable statutes and local regulations in force. Where the regulations in force do not require that in the water heater circuit be installed an automatic breaker against leakage of current (residual current protection device), we recommend installing such a device. The connection of the cables from the main switchboard to the unit terminals shall be carried out after carefully removing the plastic cover so that the electrical wiring in the unit does not disengage. In accordance with the electric circuit schema glued on the cover connect the phase conductor of the power wire to the terminal marked L (or A1 depending on the modification), the neutral wire to the terminal marked N (or B1) and the earthling – to the security terminal (screw or stud) marked for protective earthing. The power cord must be secured against displacement by using the cable clamp located next to the cable hole in the plastic cover. After connecting and attaching the power cable, put the plastic cover into place and secure it with screws, taking care of the free movement of cables, thermostat capillary tube and the control switch. If you have purchased a water heater with a pre-installed power cord with a plug, the electric connection shall be carried out as the plug is put directly in a functioning and grounded socket of the premise electric installation. The socket should be on a separate, dedicated only for the water heater circuit and located so as to be easily accessible after the unit installation. The section of the electric installation wires in which the socket is placed must be 16 suitable for the water heater electric power consumption. On the phase, the line must be installed a fuse (10 A for a capacity of 2 kW and 16 A for 3 kW). The installation must be carried out in compliance with the regulations in force. Taking out the power cord plug from its socket shuts down the water heater. Faulty and/or inappropriate electric installation and/or socket are high-risk conditions for accidents with damages to the product and possible damages to the environment, objects and living species. Once the appliance is connected to the power supply grid check its functionality.
WARNING! Failure to comply with the requirements concerning connection to the mains shall impede the appliance safety, in which it is prohibited to use. Adverse effects occurring as a result of noncompliance with requirements concerning the appliance electric connection are not covered by the manufacturer and seller warranty liabilities and are at the expense of the party violating the requirements of this instruction manual. Only qualified persons are entitled to connect the water heater to the mains and to check its functionality.
HOW TO USE THE APPLIANCE
The water heater is switched on the operative mode by switching the rocker of the illuminated rocker switch by pressing its extremity marked „І”. With the knob, you may adjust to desired water temperature. The lighting of the rocker when in switched on position indicates that the water heater is operating and water is heating, while when the light is off it indicates that the water has reached adjusted temperature and the heater is switched off. You may switch off the appliance by pressing the end of the rocker of the illuminated switch marked “0”. The water heater’s complete disconnection from the power supply takes place from the additional disconnecting device. For models marked with the letter “D”, each rocker on the double-rocker illuminated switch located on the control dashboard serves to switch on/off one of the heaters. Thus you may use appliance half or full-electric power depending on the specific needs and desired time for water heating. Modifications with letters “WG” and “WDG” in their model numbers are not equipped with a built-in switch. They are included/excluded in/from operating mode using the external device. In the plastic cover of these devices is a mounted signal lamp (LED) that shines while the electric heating element works. Modifications with letter/s “W” in their number are equipped with a rocker switch without LED indication. It is located on the bottom of the appliance, in the central part of the plastic cover, and is used for turning on/off the device to/from the operation mode of the heating element. The built-in LED indicator located above the handwheel of the thermostat indicates when the heating element is working. The appliance built-in thermostat unit has an antifreeze function. When the thermostat knob is to the extreme left, at the scale beginning, the heater shall switch on at ambient temperature around 8-10 °C and shall switch off at about 12-15 °C. Thus in case of air temperature fall in the room, the water in the tank will be protected from freezing.
ATTENTION! This feature shall not prevent the water in the room plumbing from freezing! There is a sector-marked ECO on the graphics around the thermostat knob. When the knob mark is in the ECO sector area the water is heated to an optimal temperature with reduced thermal losses and with lower electrical energy consumption. At the same time, the heated water is enough for domestic use. When a greater volume of mixed water is needed the thermostat knob should be set to maximum setting for reaching a higher temperature of the water in the water heater. We recommend the knob to be set to ECO when the water heater is being switched on for extended periods of time with no warm water consumption only for storing the heated water. Switching on and off, set up, and using water heaters equipped with an electronic control board takes place in accordance with the instructions and requirements listed in the additional manual supplied with the appliance – instructions on how to connect and use an appliance with an electronic control board. For such appliances, the additional instruction manual is an integral part of the present installation and operation manual. The thermometer installed on the appliance external coating indicates the process of water heating. It is not a measurement device and indicates only the approximate temperature and quantity of hot water within the water tank. WARNING! Do never switch the appliance if there is a chance that the water in the water tank is frozen! This shall damage both heater and the tank.
WARNING! This appliance may be used by children of age over eight years old and persons with reduced physical, sensory or mental capabilities, or lack of experience and knowledge, where they are under supervision or instructed about the safe use of the appliance and understand the dangers. Children must not be allowed to play with the unit! It is absolutely forbidden that children undertake cleaning or servicing of this appliance! Within the combined valve is built a special controller which during water heater normal operation allows the expanded during heating water not to leak through the valve side hole, but to pass into cold water plumbing. The quantity of this water is negligible and usually is with low temperature. During normal operation of the water heater, as well as in presence of an additional return valve, it is possible that through the valve side opening leak some water drops. This should not be perceived as a defect and the side hole of the combined valve should not be blocked because it shall cause destruction of the tank. The built-in controller in the valve prevents, in case of cutting water supply, the water in the water tank to return to the cold water pipeline. Using the built-in heater exchangers (for appliances equipped with) to heat the water in the tank must take place in accordance with the instruction provided for by the persons who carried out the design and installation of the system for heating water from alternative electric sources. Compliance with the instruction in such guides is mandatory. When the appliance is used in areas with soft water-rich in limestone it is possible to hear some noises during water heating. The noise is due to the limestone stitching on the heater contained within the tank. The quantity of limestone contained depends of the type of water and its heating temperature. When the latter is higher than 60 °С the number of separate limestone increases. Accumulated limestone impedes the heater efficiency and may even cause its failure while increasing the time for water heating. When using the appliance it is possible to hear some weak noise due to the water flow through the pipelines and the appliance, as well as to the natural process of expanding and heating. When the heater is regularly used to heat water to a lower temperature, it is recommended to turn the thermostat knob at least once monthly to its maximum position, then to heat the water to maximum degrees and keep it at least for 24 hours. The purpose it to prevent bacteria growth.
ADDITIONAL CORROSION PROTECTION
Enameled water heater tanks. In each water heater with the enameled tank is installed additional corrosion protection. It consists of an anode protector (anode) of special alloy operating only when the water tank is full. The anode is a consumable (i.e. a device with normal wear during the appliance operation) and its average operational life is up to 3 years. This period depends on the type of operation the appliance and the characteristics of the heated water. After the period of operational life, a manufacturer authorized specialist or dealer service company must check the conditions of the anode. Where necessary it should be replaced with a new one. Compliance with the inspection deadline and timely replacement of the anode is important for the effective protection of the tank from corrosion. Both the assessment and replacement of the anode are not subject to manufacturer and seller warranty liabilities.
Water heater with enamel tank and anode tester. The availability of the anode tester as a control device is essential for the heater operation. Some water heater modifications with a traditional thermostat are equipped with an electromechanical anode tester (Fig. 10). It consists of an arrow-indicating system with a scale and switch (button). The scale has two sections – red and green. In-tank normal operating conditions the tester pointer is in the red section – the tester is not switched on and the anode is working properly. Checking the anode efficiency is carried out when the water is fully heated (the thermostat is in position OFF, i.e. the key is not lit) by pressing for a few seconds the button on the tester. The arrow shall depart in the direction of the scale green sector. The magnitude of the variation is strongly affected by the parameters of the water and its temperature, as the boundary between 17, the two sectors correspond to the water average values. The anode efficiency criterion is its arrow deflection. When at the time of pressing the tester button, the arrow does not divert or is held at the beginning of the red section, you should contact the specialists at your nearest manufacturer or vendor-authorized service company. Their specialist shall review the tank corrosion protection and repair, if necessary. In some water heaters modifications, the electronic control board indicates the anode efficiency and degree of wear with periodic regular display blinking. With advanced wear the size of the lighted part decreases. More specifically the process is described in the additional instruction manual concerning the electronic control board functions. Once the lighted part of the display switches off completely you may contact the closest service company to review and eventually replace the anode.
Water tanks of high-quality chrome-nickel alloy steel. Corrosion protection and guaranteed long life are secured by correct choice of steel, adequate design, and engineering construction during tank manufacture process.
SERVICE, PREVENTION, MAINTENANCE
In order to secure reliable operation of the water tank in areas with highly calcareous water, it is recommended to clean the limestone accumulated within. This operation should take place at least once every two years, while in areas with higher limestone content even more frequently. The depositions on the enamel coating should not be removed otherwise than wiped with dry cotton cloth and without using hard tools. Regular limestone removal and cleaning is particularly important for appliance reliable operation. It is recommended that during this maintenance operation you carry out a review of the enameled tank anode condition. These services are not subject to warranty coverage and must be performed only by a qualified person.
WARNING! In order to secure the water heater safe and trouble-free operation, the combined valve should be checked regularly for reduced permeability. This is carried out by lifting the lever and waiting 30 to 60 seconds from the valve side edge to run thick and with plenty of water. This operation is obligatory carried out after connecting the heater to the plumbing and when filling of the tank with water in the process of using the heater not less than once every two weeks, as well as eventually after stop and start of water supply. If at full tank by opening the valve does not leak or water flow is weak, there is a failure and probably the valve is clogged by impurities in the sewage. Using a water heater combined with a defective valve is strictly prohibited. Switch off immediately the appliance from the power supply and contact the nearest authorized by the manufacturer service company. Otherwise, it will cause damage to the water tank and could cause tangible and intangible damages in the room where the water heater is located. The water heater outer shell and plastic parts can be cleaned using only a slightly damp soft cotton cloth and never with invasive and/or abrasive substances and preparations. Before cleaning the appliance, it MUST be disconnected from the power supply with the additional disconnection device. IT IS FORBIDDEN to clean the appliance with a steam generator. Particular attention should be paid to prevent wetting of the appliance light switch on its control panel. The water heater may be switched on in operation only after the complete removal of moisture. The rules for checking the anode protection and anode replacement (please refer to the previous section), as well as the removal of the accumulated limestone, must be strictly observed both during and after the appliance warranty period. During the appliance usage and maintenance do not damage the metal plate with its technical data and serial number. Should you take it off, keep it with the warranty form because it is the document serving to identify the water heater.
FAILURES
When the heater does not heat the water, check if the external disconnecting device is not switched off, if the lighting key is switched off, and if the thermostat knob is not turned to the lowest position. If the power supply is in order, the lighting key is switched on and the thermostat knob is turned to its highest position, but the water in the appliance is still not warming (it is possible that the lighting key or the signal lamp are lighted or not), using the external disconnecting device unplug the heater and contact the nearest authorized service company.
In case when from the mixer at the completely open tap for hot water there is no leakage or water flow is weak, check if the filter at the mixer outlet is not clogged, or whether the shut-off valve before the heater is not fully or partially closed (4, Figure 11), or if the water supply is not stopped. If all listed above causes are not the cause of failure, use the external disconnecting device to unplug the heater, and contact the nearest authorized service company.
When the water heater is equipped with an electronic control board, at the end of the additional instruction manual are listed the error messages appearing on the display in case of failure and what measures to take for each case. In any other general case of failure, using the external disconnecting device unplug the heater and contact the nearest authorized service company.
WA R R A N T Y, WA R R A N T Y P E R I O D A N D
WARRANTY CONDITIONS
The warranty, warranty conditions, warranty period, warranty validity for the purchased appliance, and service-related manufacturer or vendor liabilities during the appliance warranty period are listed in the appliance warranty form. When buying the appliance the warranty form must be filled out and signed both by the seller and buyer. Keep the warranty form in a secure place. In all instances shall be in force the applicable laws, regulations, and other legislation dealing with the rights and obligations of consumer, seller, and manufacturer, and their relationships related to the purchased water heater, its installation, use, servicing, and maintenance. Warranty term is determined by seller and is in force only for the geographical territory of the country. Warranty is valid only if the appliance:
- Is installed according to the requirements for installation and operation.
- Is used only as per designed purpose and in accordance with the installation and operation manual.
!Warranty consists of free of charge repair of all factory defects, which may arise during the warranty term. Repair is performed by service specialists, authorized by seller.
!Warranty is not valid for damages, caused by:
- Improper transportation
- Improper storage
- Improper usage
- Parameters of water, different from the admissible norms for quality of drinking water, and particularly if the composition of chlorides is more than 250 mg/l; the electrical conductivity is less than 100 μS/cm and pH is outside of 6,5-8 for water heaters with enameled water tanks; the electrical conductivity is more than 200 μS/cm for water heaters with water tanks made of chrome-nickel steel.
- Supply voltage is different than the unit’s rated voltage.
- Damages due to freezing of water.
- Elemental perils, disasters, and other force majeure circumstances.
- Non-observance of the installation and operation manual.
- In cases, when a non-authorized person has tried to repair any kind of defect.
!In the above cases the defect will be repaired against relative payment.
!Warranty shall not apply to normal wear parts and components of the device, parts that are removed during normal use, lighting and signal lamps and the like, re-painting color of external surfaces, change of shape, size, and location of parts and components that are exposed to impact and conditions that are not considered normal use.
!Lost profits, tangible and intangible damages caused by temporary inability to use the device during its prevention and repair shall not be covered by the warranty.
C O M P L I A N C E W I T H T H E R E Q U I R E M E N T S OF T H I S INSTRUCTION MANUAL IS A PREREQUISITE FOR SAFE OPERATION OF YOUR PURCHASED PRODUCT AND IS ONE OF THE WARRANTY TERMS AND CONDITIONS. IT IS ABSOLUTELY PROHIBITED TO THE USER OR ANY AUTHORIZED BY HIM PERSON TO UNDERTAKE ANY CHANGES IN THE PRODUCT DESIGN AND STRUCTURE. ANY FINDING OF SUCH ACTIONS OR ATTEMPTS SHALL AUTOMATICALLY RENDER VOID ALL WARRANTY LIABILITIES OF SELLER OR PRODUCER. IN CASE OF NECESSITY FOR SERVICE SEEK ONLY MANUFACTURER AUTHORIZED SERVICE COMPANIES LISTED IN THE ANNEXED FORM. T H E M A N U FA C T U R E R P R E S E RV E D H I S R I G H T TO STRUCTURAL CHANGES WITHOUT NOTICE WHERE SUCH SHALL NOT AFFECT PRODUCT SAFETY.
Manufacturer: ELDOMINVEST Ltd.
275A Vl. Varnenchik blvd., Varna, 9009, Bulgaria
www.eldominvest.com


















