HOUSEHOLD ELECTRIC WATER HEATERS designed for wall installation
MANUAL FOR INSTALLATION, OPERATION, AND MAINTENANCE
| Model | DU060 DV060D | DU080 DV080D | DU100 DV100D |
| A, mm | 838 | 1033 | 1227 |
| B. mm | 468 | 663 | 858 |
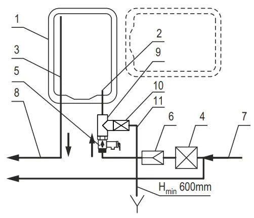
- Inlet, cold water
- Outlet, hot water
- Combined valve
- Electronic control



| Water heater |
| Water inlet |
| Water outlet |
| Stopcock |
| Combined valve |
| Pressure-reducing valve |
| Coldwater |
| Hot water |
| Tee connector |
| Stopcock |
| Drain hose |
NOTES:
- Pos. 6 is installed for water pressure in the mains above 0,5 MPa
- The connection between pos. 10 and pos. 11 should be watertight.
BOUTONS

| Mode selection |
| Main menu |
| Increase or Move up button |
| Decrease or Move down button |
| Move left |
| Move right |
| Return to previous screen or function |
| Enter |
| Display information pages |
| Preset temperature adjustment |
| Enable POWERFUL heating when operating in Smart Control mode |
| Activate “Delayed Start” when the thermostat is off |
MAIN SCREEN

1. Vertical installation

2. Horizontal installation

OPERATION MODES


| Antifrost | Anti-freezing mode activated. |
| Standby | Turned off-state. |
| Heating | Heating operation mode. |
| Smart Ctrl | Smart Control operation mode. |
| Learning | A self-learning procedure for the water heater is activated to make a hot water consumption schedule. |
| Timers | Timers operation mode with preset intervals in which switching on and heating up to the temperature set in the timer is allowed. |
| Anti Leg | Anti-legionella function enabled. |
SCREENS – ADDITIONAL INFORMATION

Technical data of the electronic control unit
| Supply voltage | 230V— 50Hz +5/-10% |
| Maximum allowable current flowing through the relay contacts | 16AAC |
| Power consumption with heating element switched off: – no WiFi module – with WiFi module | <0.8W <1.2W |
| Measured temperature range | -25°C — 120°C |
| Set temperature range | 35 °C — 75°C |
| Error in temperature measuring by the thermal sensor | <1% +/- 0.5°C |
| Temperature activating the Anti-freezing mode | <=3°C |
| Permissible ambient temperature during operation with relay switched on | -20 go +55°C |
Error messages
| Disconnected SST | Thermal sensor in the second water tank is switched off or disconnected. The heating element will not function and the water heater will not turn on until the problem is resolved. |
| Short SST | Thermal sensor in the second water tank is shorted out. The heating element will not function and the water heater will not turn on until the problem is resolved. |
| Disconnected SFT | The thermal sensor in the first water tank is switched off or disconnected. The heating element will not function and the water heater will not turn on until the problem is resolved. |
| Short SFT | Thermal sensor in the first water tank is shorted out. The heating element will not function and the water heater will not turn on until the problem is resolved. |
| WH Frost | The water may be frozen. The water heater will turn off. |
| Faulty FT heater | The heating element of the first water tank is faulty. The water heater will turn off. |
| Faulty ST heater | The heating element of the second water tank is faulty. The water heater will turn off. |
| Faulty flash! | Problem with recording on a Flash memory. The controller needs to be repaired. |
![]()
Dear clients, thank you for choosing the device from ELDOMINVЕST LTD.- Bulgaria!
It will be a trustworthy helper in your household for many years because in its products we have combined high-quality materials and innovative technologies.
To be sure of its hopeful and trouble-free operation, please read the installation and operating instructions carefully.
WARNING! Before installation and operation with the appliance, read carefully the present manual!
SAFETY, GENERAL REQUIREMENTS
Before starting the installation of your appliance and its operation it is compulsory to read carefully the text of the instructions booklet.
It is designed to familiarize you with the unit, with the rules for its proper and safe use and the minimum activities necessary to maintain and service it. Furthermore, you will need to provide this guide for use by qualified persons who will install and repair the unit in case of failure. Installation and commissioning of the unit is not a warranty obligation of the seller and/or manufacturer.
Keep this guide in a suitable place for future reference.
Compliance with the rules helps for the safe use of the appliance and is one of the warranty terms and conditions.
ATTENTION! Installation of the water heater and its connection to the water supply system shall be only made by qualified persons in accordance with the instructions herein contained and current local regulations. It is OBLIGATORY to install the safety and other fittings supplied or recommended by the manufacturer!
ATTENTION! The electrical connection of the unit shall only be made by qualified persons in conformity with the instructions herein contained and relevant regulations. The appliance must be properly connected to the conductive wires and to the protective circuit! Do not perform an electrical connection until you are sure that the unit is filled with water! Nonobservance of these requirements could render the appliance dangerous and its use is prohibited!
WARNING! When using the appliance, there is a risk of burns with hot water!
WARNING! Do not touch the appliance and its control unit with wet hands or if you are barefoot or stepped on a wet floor!
WARNING! This appliance may be used by children over 3 and persons with reduced physical, sensory or mental capabilities, or lack of experience or knowledge if supervised or instructed to use the appliance and understand the potential hazards. Children may not play with the appliance. Cleaning and maintenance operations performed by the user shall not be carried out by children without supervision. Children aged from 3 to 8 years are only allowed to operate the tap connected to the water heater.
ENVIRONMENTAL PROTECTION
This appliance is marked according to the REGULATION concerning waste electric and electronic equipment (WEEE). By ensuring this product is disposed of correctly, you will help prevent potential negative consequences for the environment and human health, which could otherwise be caused by inappropriate waste handling of this product.
The symbol on the product, or on the accompanying documents indicates that this appliance may not be treated as household waste. Instead, it should be handed over to the applicable collection point for the recycling of electrical and electronic equipment. Disposal must be carried out in accordance with local environmental regulations for waste disposal. For more detailed information about the treatment, recovery, and recycling of this product, please contact your local city office, your household waste disposal service, or the shop where you purchased the product.
TECHNICAL DESCRIPTION
Your water heater is intended for domestic use and can provide heated water from the main water supply line to a number of consumers at the same time – kitchen, bathroom, etc.
The water used for heating should correspond to the regulatory documents on domestic water and particularly: chlorine content must be less than 250 mg/l; electrical conductivity must be greater than 100 µS/cm, and pH must be within 6.5-8 for water heaters with enameled water tanks; electrical
conductivity must be less than 200 µS/cm for water heaters with tanks of chrome-nickel steel. Water pressure in the water supply installation must be
higher than 0.1 МРа and less than 0.5 МРа. In the event that the water supply pressure is higher than 0.5 МРа, please refer to the recommendations described in the section concerning water connections.
The appliance has two tanks and two heating elements that are intelligently controlled by the electronic control unit.
Water tanks of the appliances are protected against corrosion with the help of high-quality enamel coating or are made of high alloy chrome-nickel (corrosion-resistant) steel. Enameled water tanks have built-in anodes of special alloy for further protection.
The casing of the appliance is made of steel with epoxy-polymer coating and their thermal insulation is made of CFC-free polyurethane foam.
Schematic design and technical data of basic models and modifications are shown in Fig. 1-2 and in the table. All figures and tables can be found at the beginning of this booklet.
Models of water heaters and their modifications are designated with letters and digits as follows:
- The first two letters and the following three digits indicate the basic model of the appliance.
- „D“ – appliances are designed for wall mounting.
- „U“ – water heater for universal mounting, either in a vertical or horizontal position.
- „V“ – water heater for vertical mounting position.
- xxx – first three digits after the letter „U“/„V“, code of water heater capacity.
- „I“ – appliance’s water tanks are made of high alloy chrome-nickel steel.
- „D“ – the water heater has built-in heating elements that heat water indirectly.
This helps to improve appliance safety and increases corrosion resistance. - „W“ – The water heater’s electronic control unit has a WiFi module.
Hot and cold water pipes have indicative color markings, blue and red respectively.
The exact and complete model number declared performance parameters, and a serial number of your water heater is printed on the plate attached to the unit.
WALL MOUNTING OF THE WATER HEATER
Water heaters are intended to be fitted either vertically (Figure 1) or horizontally (Figure 2), except for models with the ‘D’ letter after the basic model, which can be only mounted in a vertical position.
WARNING! When the unit is mounted in a horizontal position, hot and cold water pipes and electrical parts MUST be on its left side, see Figure
2. Non-observance of this obligation will render the appliance dangerous whereby the manufacturer and/or retailer will not assume any liability for adverse consequences and damages!
The water heater should only be installed on premises with normal fire safety where the temperature is always higher than 0 °С. The floor of the premises must be fitted with a floor drain of the sewage water system, as it is possible for water to leak from the safety valve port during normal use of the water heater. The floor drain will facilitate the unit maintenance, inspection, and service, whenever it is necessary to drain water from the tank.
The location of the water heater should be selected according to the wall type and material, appliance dimensions, fixing method, arrangement of fixing elements and pipes, degree of protection against ingress of water. The latter is indicated on the serial number plate. The appliance must be installed in a place where it will be prevented from water sprays and splashing. To reduce heat losses, it is desirable to minimize the distance between the water heater and premises where hot water will be used.
If your water heater has a factory-fitted power supply cord combined with a plug, the appliance shall not be installed in wet rooms! The appliance location must comply with the requirements of electrical installation and its socket. Refer to the section concerning electrical connections herein. It is mandatory to allow clearance between the appliance and surrounding walls and ceiling:
- When the water heater is mounted vertically – at least 70 mm between the appliance and the ceiling; at least 50 mm between the appliance and the sidewall; at least 600 mm under the appliance to facilitate maintenance operations and repairs.
- If the water heater is mounted horizontally on the wall in the room – at least 70 mm between the appliance and the ceiling; at least 70 mm between the side (no leads) and the wall; at least 350 mm between the plastic cover with electrical parts and the wall to facilitate maintenance operations and repairs. Under the unit, there should be enough space to drain water from the water heater.
The water heater shall be rigidly mounted to the wall. Steel bolts should (studs) with a diameter of 10-12 mm be used, securely fixed into the wall.
Fixing elements must be secured against pulling aside the wall, they need to be anchor bolts or through bolts (depending on the wall material). It is necessary that the fixing elements intended for the water heater have a bearing capacity of three times the total weight of the appliance with water in it. Appliance installation on decorative walls (made of single bricks or of other light materials) is prohibited. Figure 1 and the table show the necessary distances between bolts (studs) for suspension of appliances.
WARNING! Support brackets for a horizontally mounted water heater should be securely fixed to the wall of the room. Washers should be placed under the bolt heads (tenon nuts)!
WARNING! Water heaters with heating elements that heat water indirectly could only be mounted in a vertical position! The manufacturer and/or retailer shall not be liable for losses, damages, and other circumstances resulting from improper installation, which will also render the product warranty invalid!
WARNING! Non-observance of the requirements for fixing the water heater to the wall may cause damages to the appliance, other appliances, and the room where the appliance is located, corrosion of the casing, or even more serious failures and damages. In such cases, the damage is not subject to warranty obligations of the retailer and manufacturer and will be borne by the party who did not observe the requirements of these instructions.
Installation of the water heater on the wall of the premises should only be performed by qualified persons.
WATER HEATER CONNECTION TO THE WATER
SUPPLY NETWORK
The water supply system to which the water heater will be connected, as well as other elements included, should resist continuously at water temperatures above 80 °C, and above 100 °С for a short time; they should also be capable to withstand pressure at least twice the working pressure
of the appliance.
Upon connection of the water heater to the water supply system, the indication rings around the cold and hot water pipes (inlet and outlet pipes) of the water heater should be observed. The cold water pipe is indicated with blue color, and the hot water pipe is indicated with red color. See Figure 1.
The pipes of some appliances are additionally labeled. These are with threading 1/2″.
A diagram showing the connection of the water heater is shown in Figure 3.
Under this diagram, the water heater operates at the pressure of the water supply line and of the safety valve. If the water supply line pressure is greater than 0.5 MPa, it is mandatory to install a pressure-reducing valve (reducing valve). If local regulations stipulate the use of additional devices
that are not supplied with the appliance, they need to be purchased and installed in accordance with the requirements.
The water heater is equipped with a combined non-return-safety valve. The latter is located in the packaging of the appliance and MUST OBLIGATORY
be mounted on the cold water pipe. During that installation, the arrow on its hull showing the direction of water flow through the valve must be followed.
WARNING! The absence or improper installation of the combined valve supplied with the product is grounds for voiding the product warranty.
WARNING! It is FORBIDDEN to install any kind of shut-off fittings between the combined valve and the water heater! It is absolutely forbidden to obstruct the lateral opening of the combined valve and/or to block its lever!
Where the plumbing pipes are copper or of another metal, other than that of the water tank, or where brass fasteners are used, it is obligatory to install on the water tank inlet and outlet non-metallic couplings (dielectric fittings).
It is recommended to set up a draining system for any dripping from the combined valve side opening. The draining pipe must have a constant
downward slope and located in frost secure environment and its ends to be constantly kept open to the atmosphere.
In order to maintain the effectiveness of the appliance, it is recommended that all its pipe outlets and elements connected to them be additionally covered with a suitable thermal insulating material compliant with applicable requirements.
Once the water heater is connected to the water supply main, its tank should be filled up with water. This is performed in the following order:
- Close the stopcock (10 in Figure 3)
- Open completely the hot water tap of the most remote mixing cock.
- Open the stop valve (4 in Figure 3)
- Wait until the air runs out of the system and a copious flush flows from the mixing cock for a half to one minute.
- Close the hot water tap of the mixing cock.
- Raise the lever of the combined valve (5 in Figure 3) and wait for between 30 and 60 seconds until a copious flush of water flows from the side port of the valve.
- Lower the valve lever.
WARNING! If no water is flowing from the valve port or it is too weak (under normal water-supply pressure), this is a fault and indicates the presence of impurities inflowing from the water main or resulting from plumbing connections that have been blocked the safety vent of the combined valve.
IT IS PROHIBITED to proceed to the electrical connection of the appliance until the reason for failure is not eliminated!
WARNING! Non-observance of the requirements for connection to the water supply system may result in the partial filling of the tank with water and malfunction of the heating element. If the combination valve is not installed or it has been improperly installed, this may even result in the destruction of the water tank, premises, and/or other material and nonmaterial damage. Such sequences are not within the scope of the warranty obligations of the manufacturer and retailer and will be borne by the party who did not observe the requirements of these instructions.
WARNING! The combined non-return-safety valve is one of the protective fittings ensuring the safety of the water heater. It is strictly PROHIBITED to use the water heater with a defective or removed/non-installed combined valve! Connection of the water heater to the water supply system must only be performed by specialists. The safety valve, if appropriate, will be used to drain water from the tank. This shall be performed as follows: џ Disconnect the water heater from the mains from the additional device and, for more security, turn off the safety fuse that is in the phase circuit to the water heater.
- Shut the cold water flow to the appliance by closing the tap (4 in Figure 3).
- Open a hot water tap of a mixing cock or disconnect the coupling of the hot water pipe (outlet pipe) of the unit.
- Open the tap (10 in Figure 3) and wait until the water stops flowing from the opening of the drain hose.
The height between the tap and the end of the hose should be at least 600mm.
These operations do not ensure that the water tank is completely drained.
Draining should only be performed by a qualified technician because it involves disconnection of the electrical circuit of the appliance and removal of the water heater flange.
WARNING! IT IS STRICTLY PROHIBITED to turn the water heater on while its tank is partially or completely drained! Before you turn the appliance on again make sure the tank is full of water.
WARNING! When draining water from the tank, it is necessary to take all appropriate measures to prevent damage caused by leaking water.
WATER HEATER ELECTRICAL CONNECTION
WARNING! Before you switch the power supply, make sure the appliance is full of water!
A water heater is an appliance with a degree of protection against electric shock Class I, which requires its mandatory connection to the grounding circuit of the electrical wiring.
The electrical power supply of the water heater is 230 V~ and is performed by a separate electrical circuit via a three-core insulated cable with a cross- section of each core of 2.5 mm (phase, neutral and protective). If the protective conductor/core has attachment points, they should be safely secured against self-loosening. Otherwise, the appliance will not be properly protection-connected which will impair its safety.
In the phase circuit, it is obligatory to fit an electric fuse 16 А. The electric wiring to which the water heater will be connected should be constructed in line with the requirements of relevant standards. In the event that relevant standards do not stipulate it, it is recommended that an automatic protection
against leak currents (residual current device) be installed in the electrical circuit of the water heater.
Your water heater is fitted with a factory power supply cord combined with a plug and it is electrically connected when the plug on the cord is plugged into a working and grounded power socket of the premises’ electrical installation.
The socket must be protected against moisture, be spray-proof, connected to a separate electrical circuit intended only for the water heater and positioned in such a way as to be easily accessible after the appliance installation. The water heater is switched off from the electrical installation when the plug of the cord is pulled from the socket while switching on/off the appliance from the electronic control is only a function. Damaged and/or improper electrical installation, and/or socket are major hazards, they may cause accidents, product damages or impose risks to the environment, objects, and humans.
In the event that the purchased water heater has no factory fitted plug on the power supply, connect its conductors to the electrical installation as follows:
- conductor with brown insulation – to the phase conductor
- conductor with blue insulation – to the neutral conductor
- conductor with yellow-green insulation – to the safety conductor
WARNING! If the appliance power cord is connected to the electrical installation in a wet room, the connection must be waterproof!
After the appliance is connected to the electrical installation, it is necessary to check its functionality.
WARNING! Non-observance of the electrical connection requirements will impair the appliance’s safety, whereby its use is prohibited. Any adverse consequences resulting from non-observance of the requirements on appliance electrical connection are not within the scope of the warranty obligations of the manufacturer and retailer and will be borne by the party who failed to observe the requirements in these instructions.
The only suitably qualified specialists must perform the connecting of the water heater to the electric network and check its functionality. It is not an obligation of the manufacturer or retailer and is not covered by the guarantee.
HOW TO USE THE APPLIANCE
The water heater is controlled by an electronic control unit (thermoregulation, controller) that controls directly two electric heating elements using two NTC thermal sensors for measuring the relevant temperatures in each water tank. The thermoregulator is controlled and set by self-explanatory and intuitive menus by means of 4 multifunctional buttons. The specific function of each button can be changed and its current status is displayed with an appropriate graphic on an information bar on the screen. There is an option to rotate screen images 90 degrees if the unit is installed in a vertical position, for easy reading.
The thermoregulator has 5 main operation modes:
- ‘Standby‘,
- ‘Heating’ – to maintain the preset temperature,
- ‘Smart Control’ – automatic heating temperature selection mode to achieve maximum energy cost savings,
- A self-learning mode to measure and save the individual hot water consumption schedule.
- ‚Timers’ mode enables manual entry of heating time and temperature by means of up to seven-week timers.
The thermoregulator has a Delayed start function which allows a switched-off water heater to be switched on at a user-set time within 24 hours from the current moment. In the event of failure of the power supply, the thermoregulator will save its current operation mode, settings, time, and date.
The thermoregulator may be equipped with a WiFi module NRM-W3 for connecting to the remote monitoring system and control through the Internet.
Menus and screens in different languages, buttons, and their functions, technical specifications, and error messages are specified and described at the beginning of this booklet. In each figure, screens are shown in Arabic numerals in brackets, and buttons are shown in Roman numerals.
MAIN SCREEN – FIG. 5
When the power supply is switched on, the hardware and software version of the electronic control unit is displayed for 2 seconds.
WARNING! Do not switch the appliance on if it is suspected of being frozen! This will damage the water heater and the tank.
Then the main screen is displayed, which differs for the operation mode and setting for vertical (1) or horizontal (2) installation. Each view of the main screen has information that is essential for the relevant operating mode. In the middle of each screen, there is a color decorative line with different colors depending on different operation modes.
SETTINGS AND MENUS – FIG. 6
The Setting mode is entered by pressing
(II) button, which visualizes the main menu (1). Scrolling in the menu is performed by ▲ and ▼ buttons. To enter the current setting press (VIII) button. After the screen with the relevant setting is displayed, individual parameters contained therein are adjusted as follows:
- The current parameter is displayed enclosed in a blue rectangle (2). Parameters are toggled with ▲ and ▼ or ◄ and ► buttons.
- Pressing (VIII) button enters a current parameter adjustment mode (3), whereby its value is displayed in a red rectangular. In this mode, ▲ and ▼ buttons may change the parameter value.
- After the required value is selected press (VIII) button to confirm the change and exit the parameter adjustment mode.
- Parameters in the form of ticks (4) can be changed by pressing (VIII) button, which directly changes the tick status (enabled/disabled).
After all parameters are set, changes are confirmed by pressing (VII) button, whereby the controller returns to the main menu containing the following settings:
- Time and date (5) – sets date and time of the controller. Moreover, it controls the automatic synchronization function where a WiFi module is available.
- Language (6) – sets the language in which all messages are displayed on the screen of the controller.
- Display (7) – changes display brightness and dims by reducing the brightness, 30 seconds after the last time a button is pressed.
- Timer1-7 (8) – adjusts the week program timer operation. For each timer, it is necessary to enter the beginning and end of the interval, to specify in which weekdays to operate and the maximum heating temperature of the water when the current moment is within the interval.
ATTENTION! In order to use a timer, it must be activated! When entering a beginning and end of the interval, it must be taken into account that the thermoregulator will not allow for the end to precede the beginning!
- Start time of “day” and “night” tariffs (9) – sets the start time of both tariffs, for which the controller maintains energy meters.
ATTENTION! To enable the correct functioning of Smart Control mode, the start times of both tariffs must be entered properly!
- System settings (10) – sets a mode, mounting position of the water heater (horizontal or vertical), heater power, water heater capacity, activation of the Anti-Legionella function, and concurrent operation of both heating elements (Fast Heating). Upon selection of the ‘Horizontal’ field, after exiting the menu, the screen will rotate horizontally with right-side buttons. If the ‘Fast Heating’ field is selected, the concurrent operation of both heating elements will be permitted. If that field is not selected and there are conditions to switch on the two heating elements, the element of the outlet water tank will switch on first and after it switches off the heating element of the inlet tank.
ATTENTION! For the proper metering of energy consumed and correct functioning of Smart Control mode, it is essential that the heating element power and water tank volume are properly set.
џ Smart Control (11) – fine adjustment of control algorithms for Smart Control mode. The ‘Priority’ field sets the energy-saving method: priority use of the cheaper night tariff, when the ‘Night Tariff’ is selected, or use of a pre-learned schedule of water consumption during the week when the ‘Consumption schedule’ is selected.
When the ‘Seasonal’ switch is activated it allows for extra heating of water during the cold season. This option compensates for the need for more hot water during winter due to the lower temperature of cold water and more heat losses due to the colder environment and walls in the room where the water heater is installed. It is recommended to turn on that switch.
The ‘Operation Mode’ field is under the ‘Seasonal’ switch. Fine adjustment of the temperature is carried out through it when priority is given to ‘Night Tariff’. The more economical the mode, the lower the temperature of water heating. Possible alternatives are ‘Eco Heating’, which is the most economical model, and ‘Normal Heating’ and ‘Powerful Heating’.
The EN 814 switch has an effect in ’Consumption Schedule’ priority only. It coordinates more completely the controller operation with the requirements of EN 814/2013 Directive that is applicable to the water heater. Since that directive stipulates requirements for achievement of higher minimum temperatures than those required for normal operations that will surely increase heat losses. It is recommended to turn off that switch.
џ New WiFi network (12) – initializes the WiFi module, if installed, to switch to Access Point (AP) mode, by which the thermoregulator canbe connected to a WiFi network. With the pressing of (VIII) button, the modem will switch to Access Point mode, which means that it will create a new WiFi network. The controller will show a display with the
name of the network and will read ‘Successful!’ when the network is completely ready (13). Following the creation of a new WiFi network the module may be connected to a phone, tablet or PC that will connected the module to an Internet network to enable the remote control and monitoring of the appliance operation. This is described in the additional booklet provided in the packaging of the appliance package.
OPERATION MODES – FIG. 7
The selection of an operation mode is made by pressing the button (I), which calls menu (1). The appropriate mode is selected by ▲ or ▼ buttons, and the selection is confirmed by (VIII) button. Five seconds after a button is last pressed, the mode selection menu is exited without changing the mode.
ATTENTION! ‘Timers’ mode cannot be selected, if there is no at least one timer activated and the clock is not set to correct time. Smart Control and Self-learning modes cannot be selected, if the clock is not set to correct time.
‘Standby’ mode (2)
It turns off all active operations of the water heater. In this mode, only the Anti-freezing mode and the Delayed start option are maintained.
‘Heating’ mode (3)
The thermoregulator will heat the water up to the preset temperature. The temperature is set by pressing the button (X). The preset temperature is displayed in the middle of the screen. Subsequent pressing of buttons changes the setting as desired. If no button is pressed by 10 seconds, the new setting will be saved and the main screen is displayed. If you hold any of ▲ or ▼ buttons longer than 0.7 sec, the value of the preset temperature will be automatically increased or decreased with a rate of 4 units per second.
Temperature control limits are 35-75°C (12).
NOTE! While the water heater is in this mode, there is an option for forced water heating to the maximum temperature (POWERFUL submodel) by pressing and holding the (XI) button for more than 2 sec. (8) In this sub-mode, the two heating elements will operate irrespective of the status of the ‘Fast Hearing’ switch in the ‘System Settings’ menu. Forced water heating will turn off automatically when the two water tanks are heated up to the required temperature. Then, it will proceed to normal mode operation.
Smart Control mode (4)-(9)
Automatically determines the temperature to which water is heated up at any moment. The purpose is to ensure sufficient quantity of hot water where it is necessary. Where no hot water is necessary, heating will be minimal in order to reduce energy costs. There are two options. The setting for the heating method is made in the ‘Smart Control’ submenu of the main menu, the ‘Priority’ line.
џ Heating with learning user consumption habits and weekly hot water consumption schedule. Mode repeated every subsequent week. When selecting ‘Consumption Schedule’ priority, you need to activate the ‘Self-learning’ mode through the ‘Mode Selection’ menu (1). Then, for seven full days, the water heater will monitor and save the time for using hot water and its quantity. Upon passing the self-learning cycle water will be heated up to a higher temperature, saving hot water consumption data. During other periods a minimum temperature of 40оC will be maintained. To make full use of the energy-saving options of this method, you need to use hot water in similar times and quantities as during self-learning. Variation in time of hot water use of more than half an hour and/or using a different quantity of hot water than that during the self-learning period will result in reduced energy savings.
NOTE! If the ‘Smart Control’ mode is activated with ‘Consumption Schedule’ priority and the full seven-day self-learning cycle has not yet passed, it will be started automatically (6). When the self-learning cycle is completed, it will automatically proceed to ‘Smart Control’ mode with ‘Consumption Schedule’ priority.
џ Heating with using a second ‘cheap’ electricity tariff. When selecting the ‘Night Tariff’ priority (5), the advantages of the lower electricity tariff will be used. Such tariffs are available in some countries that stimulate the electric power consumption in specified time intervals to ensure even the load of the energy distribution network in the country. The thermoregulator will comply with the history of hot water consumption for the last 7 days, in order to choose the maximum water heating temperature in the period of ‘cheap’ tariff and when to do so. For example, if the data analysis shows that on the same day of the past week there was a greater hot water consumption, water will be heated up to a higher temperature in the current night. In order to provide a sufficient quantity of hot water, water will be also heated during the day but to the minimum usage temperature of 40оC. If on two or more subsequent days the electricity consumption is sufficiently low, the appliance will switch to the most economical water heating and ‚Reduced Power’ (7) will read on the screen. In order to use the ‘Night Tariff’ priority the start times of both tariffs must be current!
NOTE! Where the water heater is in ‘Smart Control’ mode, there is an option to proceed to forced water heating up to the maximum temperature (POWERFUL submodel) by pressing and holding the button (XI) for more than 2 sec. (8) In this submodel, the two heating elements will operate irrespective of the status of the ‘Fast Heating’ switch in the ‘System Settings’ menu. Forced water heating will turn off automatically when the two heating tanks are heated up to the required temperature. Then it proceeds to the normal operation of ‘Smart Control’ mode.
ATTENTION! In order to activate ‘Smart Control’ mode, you need to set the system clock to correct time! ‘Self-learning’ mode (9) Prior to turning ‘Smart Control’ mode on with ‘Consumption Schedule’ priority, the water heater must undergo a procedure for measurement and recording the hot water consumption schedule, which is performed by starting the ‘Self-learning’ mode. This procedure lasts for 7 full days in order to cover all specific features of weekly consumption. As the controller starts the seven-day cycle at 00:00 o’clock on the next day, on the day when this mode is activated water will be only heated up to the required temperature without analyzing the consumption. After the end of the self-learning procedure, the appliance will automatically switch to ‘Smart Control’ mode with ‘Consumption Schedule’ priority. ‘Timers’ mode (10)-(11) It allows for user-control of the water heating algorithm by using thermoregulator weekly timers. They can adjust the water heater turning on and the maximum water heating temperature. Each of the seven timers allows for the entry of one-time intervals, specific days of the week in which it will be active, and the maximum water heating temperature during the specified interval. To activate the mode you must set the system clock to correct time and have a set and active timer. The thermoregulator will display in the left field on the screen information on the maximum water heating temperature and the maximum operation time at that temperature or the turn-on time.
NOTE! While the water heater is in this mode, there is an option of forced water heating to the maximum temperature (POWERFUL submodel) by pressing and holding the button (XI) for more than 2 sec. (8) In this submodel, the two heating elements will operate irrespective of the status of the ‘Fast Hearing’ switch in ‘System Settings’ menu. Forced water heating will turn off automatically when the two water tanks are heated up to the required temperature. Then, it will be proceeded to normal mode operation.
‘Delayed Start’ mode (13) When the water heater is in ‘Off’ mode, pressing and holding of button (XII) for 3 seconds will allow you to enter the time at which the appliance will turn off automatically. The time is set by increments of 10 minutes. The delayed start may be up to 24 hours. When entering a ‘Delayed start’ setting mode, the default time is the current time rounded up to 10 minutes, and by subsequent pressing of ▲ or ▼ buttons, time may be increased or decreased. If any of ▲ or ▼ buttons is held for more than 0.7 sec., the value will be automatically increased or decreased with a rate of 4 units per second. Inactivated ‘Delayed Start’ mode, the turn-off time will be shown in the middle of the screen. To adjust a preset time, press and hold (XII) button again. ‘Delayed Start’ mode is cancelled by pressing (I) button and switching to another mode. The subsequent pressing of (I) button can return the setting to ‘Standby’ mode.
ATTENTION! In the case of power supply interruption, while ‘Delayed Start’ mode is active, the controller will save the delayed start time. If the time set comes before power recovery, when the power is recovered, the controller will remained switched off.
Protection modes
џ Protection from freezing. When the water heater is in ‘Off’ mode or heating is suppressed by a preset timer, if water temperature falls below 3°C, the anti-freezing mode is activated, and the heating element is switched on and on the top of the screen reads ‚Antifreezing’ mode. As the temperature rise above 3°C, the protection mode is deactivated.
џ ‘Anti-Legionella’. This is a function to prevent from the growth of certain bacteria in the water. If the ‘Anti-Legionella’ function is enabled from the ‘System Settings’ menu, ‚Anti-Legionella’ field, and water has not been heated up to 70°C for more than 7 days, this function will be activated to ensure that water in the water heater will be heated up to 70°C, then the function will automatically be deactivated. This function will be activated one hour after the beginning of the night-time electricity tariff.
ATTENTION! If the water heater is disconnected from the power supply network, this will not change the preset temperature and the operation mode at the time of disconnection. For example, if the water heater was in ‘Heating’ mode when it was disconnected, after connection it will be in the same mode with the same preset temperature.
ATTENTION! In the event of brief power outage, the set system time and ‘Delayed start’ mode associated with countdown time will still be active. The time they will be active is up to 25 hours, if the water heater was connected for more than 4 minutes or up to 40 seconds, if it was not connected for such period.
ADDITIONAL INFORMATION – FIG. 8
When the controller is in a main screen and (IX) button is pressed, 4 screens with additional information are displayed. First, the electricity meters (1) separately for both tariff are displayed, energy saved and date and time of last reset. While this screen is displayed, if (IX) button is held for 2 seconds, the meters will be reset and the reset date and time will be recorded. The energy saved is a tentative indicator. In order to calculate it, it is necessary to determine how much the electricity costs will be reduced when using the electronic Smart control compared to the conventional (mechanical) control of the same water heater.
WARNING! Losses in the domestic hot water system (DHW) will increase with the increase in hot water temperature and with the lengthening of the water pipe from the water heater to the hot water consumer. On screen (1) when pressing ▼ button you go to a screen showing information on the status of the WiFi module (modem) (2), if any.
The field are as follows:
- ID – Unique identifier of each modem
- IP – IP address of the modem
- WiFi mode – Connection status:
- Idle – the modem has not yet connected to an Internet-enabled WiFi router.
- Access point – the modem is in ‘Access point’ mode and can take the name and password of a local WiFi network to connect to it.
- AP Associated – The modem has connected to the router.
- Internet Access – There is an Internet connection.
- Connected – The modem has connected to the server of the information system. This should be the normal operation condition.
- Snd/Rcv – Data packets sent/received through the Internet
On-screen (2) when pressing ▼the button you will see a screen showing information on the versions of the thermoregulator and WiFi module (3), if any.
When you subsequently press ▼the button you go to the ‚System Information’screen (4), which shows the information on the operation of heating elements (turned on or off) if the first (FT) and second (ST) water tank, which is inlet and outlet, respectively. The water temperatures measured in both water tanks are displayed here.
When you subsequently press the ‚ i‘ button you will see screens showing diagrams of electricity consumed by hours (5). The controller stores such information for the last 8 days. Pressing the ▲ or ▼ buttons will change diagrams with the days for which data is available. Each diagram shows the data it is referred to, the energy consumed by the water heater in the first (red column) and second (green column) water tank, as well as the total energy consumption on a relevant day. It must be taken into account that the information on energy consumption is calculated based on the present power of the heating element.
The diagrams of energy consumption are followed by diagrams of water average temperature every half an hour of the day (6). The controller stores such information for the last 8 days. Pressing the ▲ or ▼ buttons will change diagrams with the days for which data is available. Each diagram shows the data it is referred to.
WARNING! This appliance can be used by children aged from 8 years and above and persons with reduced physical, sensory or mental capabilities, or lack of experience and knowledge if they have been given supervision or instruction concerning the use of the appliance in a safe way and understand the hazards involved. Children shall not play with the appliance. Cleaning and user maintenance shall not be made by children.
The combination valve is equipped with a special integrated vent, which during normal operation of the water heater, prevents the expanded water from dripping out the side port of the valve and allows it to enter the cold water pipe. The water amount is minimal and it is not hot. During normal operation of the water heater and if an additional non-return valve, water may drip from the side port of the valve. This is not be considered a defect and the side port of the combination valve should not plug in anyway,
because it will cause destruction of the water tank. The integrated vent prevents the water contained in the water tank from flowing back to the cold water pipe in the event of water supply interruption. When the appliance is used in hard water areas, it may produce noise during heating. It is due to the lime deposits upon the surface of heating elements and water tanks. The quantity of lime deposits depends on the type of water and its heating temperature. When the latter is higher than 60 °С, lime deposits will increase. The built-up lime will impair the performance of the wiring element, may cause damage, and increase the water heating time. During operation, you may hear minimum noise due to the water flowing through water pipes or appliances, as well as to natural processes of thermal expansion and heat exchange.
If the water heater is regularly used to heat water to a lower temperature, it is recommended to heat and maintain water up to the maximum temperature for at least one day. This prevents from growth of bacteria.
ADDITIONAL CORROSION PROTECTION
Water heater with enameled water tanks. Every water heater with enameled water tank has additional integral corrosion protection. It consists of anode/s made of a special alloy and only operates when the water tank is filled with water. The anode is consumable (normally worn during operation) and its operating life is up to 5 years. This period is highly dependent on the usage pattern and on the parameters of water heated.
Following the expiry of this period, a technician employed by a repairer authorized by the manufacturer or retailer will have to inspect the anode/s. If necessary, the anode must be replaced with a new one. Meeting the deadline and timely replacement of the anode/s is an important condition to prolong the effective anti-corrosion protection to the internal tank. Anode assessment and replacement is not covered by the manufacturer or retailer’s warranty.
Water heater with high alloy chrome-nickel steel. Anticorrosion protection and long service life are guaranteed by the properly selected steel, suitable design, and workmanship.
SERVICE, PREVENTION, MAINTENANCE
For the proper operation of the water heater in hard water areas, it is recommended that the water tank is de-scaled periodically. It must be performed at least every 2 years and more frequently in hard water areas. Limescale deposited on the enamel coating should not be removed but only cleaned with dry cotton cloth without using hard objects. Regular descaling and cleaning is of particular importance for appliance reliability. During these operations, it is desirable to inspect the anode of the enameled water tank. This service is not provided under warranty maintenance and should be performed by an appropriately qualified person.
WARNING! To ensure the safe and flawless operation of the water heater, the combination valve must be inspected periodically to make sure that its flow rate is not decreased. You should perform this by raising the lever and waiting for 30-60 seconds until a copious flush of water flows from the side port of the valve. This must be carried out after the unit is connected to the water supply system and the water tank is filled with water, during operation but not less than every 2 weeks, as well as after any water supply interruptions. If the water tank is filled and no water runs out of the valve port or the flow is too weak, this is a failure and the valve is probably clogged with dirt. It is strictly prohibited to use an appliance with a faulty combination valve. Immediately disconnect the appliance from the electrical supply and contact the nearest repairer authorized by the manufacturer. Otherwise, this will damage the water tank and possibly cause other damages to objects or the room where the water heater is installed.
When you are not certain about the temperature in the room where the water heater is installed, i.e. that it may fall below 0°C, the water from the water tank MUST be drained – please refer to section ‘CONNECTION TO THE WATER SUPPLY NETWORK’
In order to clean the housing and plastic parts of the water heater only use a damp cotton cloth, do not clean with aggressive and/or abrasive substances or detergents. Prior to cleaning the appliance, it MUST be disconnected from the electrical supply by means of the additional uncoupling device or by pulling the plug out of the socket. IT IS PROHIBITED to clean the appliance with a steam generator. Please, take special precautions to prevent moisture formation on the control panel. The water heater may be switched into operation mode again only after the complete removal of moisture. The rules concerning the anode inspection and replacement (see the preceding section), and de-scaling must be observed during and after guarantee expiry.
When using and maintaining the appliance safeguard the plate with the appliance’s specifications and serial number. In the event, you unstick it, keep it together with the warranty card because it is possible to identify the water heater only by them.
FAILURES
If the appliance does not heat water, check if the wall switch is not turned off, if the appliance is not switched off or if the temperature is not set to a minimum.
If the electrical supply is in order, the appliance is switched on and the temperature is set to maximum but water is not heated, switch the appliance off from the wall switch and call the nearest authorized repairer.
If no water runs out of a fully opened hot water tap or the flow is weak, check if the filter at the mixing cock is not clogged, whether the stopcock is not partially or completely closed before the water heater (4 in Figure 3), of whether the central water supply is not interrupted. If all of the above is in order, disconnect the water heater from the power supply from the wall switch and call the nearest authorized repairer.
All error messages displayed on the screen and their remedies are described at the beginning of this booklet. In general, you need to disconnect the water heater from the power supply from the wall switch and call the nearest authorized repairer.
In the event of damage to the power cord and/or plug, please refer to the nearest repairer authorized by the manufacturer/retailer, because the cord
with the plug must be replaced by the manufacturer, its authorized service or a suitably qualified person, in order to avoid a risk.
WARRANTY, WARRANTY PERIOD AND WARRANTY CONDITIONS
The warranty, warranty conditions, warranty period, warranty validity for purchased appliance and service-related manufacturer or vendor liabilities during the appliance warranty period are listed in the appliance warranty form. When buying the appliance the warranty form must be filled and signed both by seller and buyer. Keep the warranty form in a secure place. In all instances shall be in force the applicable laws, regulations and other legislation dealing with the rights and obligations of consumer, seller and manufacturer, and their relationships related to the purchased water heater, its installation, use, servicing and maintenance. The warranty term is determined by seller and is in force only for the geographical territory of the country. Warranty is valid only if the appliance:
- Is installed according to the requirements for installation and operation.
- Is used only as per designed purpose and in accordance with the installation and operation manual.
- Warranty consists of free-of-charge repair of all factory defects, which may arise during the warranty term.
Repair is performed by service specialists, authorized by the seller. - Warranty is not valid for damages, caused by:
- Improper transportation
- Improper storage
- Improper usage
- Parameters of water, are different from the admissible norms for quality of drinking water, particularly if the composition of chlorides is more than 250 mg/l; the electrical conductivity is less than 100
- S/cm and pH is outside of 6,5-8 for water heaters with enameled water tanks; the electrical conductivity is more than 200
- S/cm for water heaters with water tanks made of chrome-nickel steel.
- Supply voltage is different than the unit’s rated voltage.
- Damages due to freezing of water.
- Elemental perils, disasters, and other force majeure circumstances. Nonobservance of the installation and operation manual.
- In cases, when a nonauthorized person has tried to repair any kind of defect. џIn the above cases the defect will be repaired against relative payment.
- Warranty shall not apply to normal wear parts and components of the device, parts that are being removed during normal use, lighting and signal lamps and the like, changing the color of external surfaces, change of shape, size, and location of parts and components that are exposed to impact and conditions that are not considered normal use. џLost profits, tangible and intangible damages caused by temporary inability to use the device during its prevention and repair shall not be covered by the warranty.
COMPLIANCE WITH THE REQUIREMENTS OF THIS INSTRUCTION MANUAL IS A PREREQUISITE FOR THE SAFE OPERATION OF YOUR PURCHASED PRODUCT AND IS ONE OF THE WARRANTY TERMS AND CONDITIONS.
IT IS ABSOLUTELY PROHIBITED TO THE USER OR ANY AUTHORIZED BY HIM PERSON TO UNDERTAKE ANY CHANGES IN THE PRODUCT DESIGN AND STRUCTURE. ANY FINDING OF SUCH ACTIONS OR ATTEMPTS SHALL AUTOMATICALLY RENDER VOID ALL WARRANTY LIABILITIES OF SELLER OR PRODUCER. IN CASE OF NECESSITY FOR SERVICE SEEK ONLY MANUFACTURER AUTHORIZED SERVICE COMPANIES LISTED IN THE ANNEXED FORM. T H E M A N U FA C T U R E R P R E S E RV E D H I S R I G H T TO STRUCTURAL CHANGES WITHOUT NOTICE WHERE SUCH SHALL NOT AFFECT PRODUCT SAFETY.
https://youtu.be/OzuKLu4liKU
https://youtu.be/OzuKLu4liKU
Manufacturer: ELDOMINVEST Ltd.
www.eldominvest.com
275A VI.
Varnenchik blvd., Varna, 9009, Bulgaria




















