Eldominvest 80-200 INDIRECTLY HEATED WATER HEATERS

WARNING! Before installation and operation with the appliance, read carefully the present manual!
KEY REQUIREMENTS FOR SAFETY
Before starting the installation of your appliance and its operation it is compulsory to read carefully the text of the instructions booklet. You must respect its requirements and recommendations in order to help you use the appliance, as well as the authorized persons who shall install and eventually repair the unit in case of malfunction. Compliance with the rules helps for safety use of the appliance and is one of the warranty terms and conditions.
ATTENTION! Installation of the water heater and connection to the water main system should be performed only by qualified persons. Installation of safety and other components provided by the manufacturer is COMPULSORY!
ATTENTION! Connection of the water heater to electrical installation should be performed only by qualified persons. It must be performed in accordance with the instructions in present guide. Moreover, it is mandatory to meet all requirements of the specific project for installing, connecting the appliance to heat source and the use and management of the entire system. Such project must be produced by a specialized company that carried out design and eventually assembling operations.
ATTENTION! It is compulsory to connect the water heater to the protective earth circuit of the building in which it is installed. This precaution is necessary because to the water heater are fitted other electrical devices used for controlling the entire system.
WARNING! When using the appliance there is a risk of hot water scalding, especially when the water in the water heater is heated to temperatures closer the thermostat higher limit.
WARNING! It is forbidden to allow circulation of the heating element through the heat exchanger of the appliance before filling its water tank up with water!
WARNING! This appliance may be used by children of age over eight years old and persons with reduced physical, sensory or mental capabilities, or lack of experience and knowledge, where they are under supervision or instructed about the safe use of the appliance and understand the dangers. Children must not be allowed to play with the unit! It is absolutely forbidden that children undertake cleaning or servicing of this appliance!
TECHNICAL DESCRIPTION

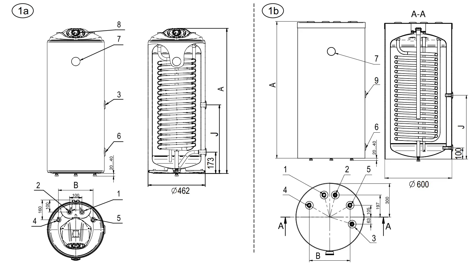
| Model Fig. | FV08046TST (FV08046TSL) 1a(1c) | FV10046TST (FV10046TSL) 1a(1c) | FV12046TST (FV12046TSL) 1a(1c) | 1b | 1b | |
| Group | 200 | |||||
| Pressure | 0.6 | |||||
| Tmax DHW | 95 | 95 | 95 | 95 | 95 | |
| Heat exchanger surface | (0.49) | 1.03 (0.75) | 1.32 (0.99) | 1.22 | 1.68 | |
| Heat exchanger volume | (2.3) | 5 (3.6) | 6.4 (4.7) | 5.9 | 8.1 | |
| CONNECTIONS | ||||||
| 1: Hot water outlet | G3/4 M | G3/4 M | G3/4 M | G3/4 F | G3/4 F | |
| 2: Cold water inlet | G3/4 M | G3/4 M | G3/4 M | G3/4 F | G3/4 F | |
| 3: Recirculation | G3/4 F | G3/4 F | G3/4 F | G3/4 F | G3/4 F | |
| 4: Inlet to heat exchanger | G3/4 M (G3/4 F) | G3/4 M (G3/4 F) | G3/4 M (G3/4 F) | G3/4 F | G3/4 F | |
| 5: Outlet of heat exchanger | G3/4 M (G3/4 F) | G3/4 M (G3/4 F) | G3/4 M (G3/4 F) | G3/4 F | G3/4 F | |
| 6: Drain | G3/4 F | G3/4 F | G3/4 F | G1/2 F | G1/2 F | |
| 7: Temperature indicator | V | V | V | V | V | |
| 8: Control panel | V | V | V | x | x | |
| 9: Thermostat socket | x | x | x | G1/2 F | G1/2 F | |
| A | 835 | 1005 | 1170 | 980 | 1220 | |
| B | 280 | 280 | 280 | 364 | ||
| J | 555 | 470 | 385 | 450 | 570 | |
The values in the tables are only approximate.

This water heater is intended for use only as part of a complete system built to provide hot water for domestic consumers, consisting of the water heater, additional external heat source and the requisite for the purpose protection and control devices.
Domestic water in the unit is heated by using the built-in heat exchanger. As a coolant can be used a mixture of water and propylene glycol in a ratio set by the system designer, as well as other water-based coolant, containing the necessary anticorrosion additives.
A schematic diagram for water heater connection is shown on Fig 1, while its technical specifications – in the table. The appliances water containers are properly protected against corrosion by using high quality enameled coating or are made of high-range alloy chrome-nickel steel. Water tanks with enameled coating are equipped with a built-in anode of special alloy, which by wearing provides additional protection of the enameled coating.
The heated water should be correspond to the normative documents for domestic water and, in particular: its chlorides composition should be less than 250 mg/l and its electric conductivity should be more than 100 µS/cm, while its pH within the limits of 6.5-8 for the water heaters with enameled water tanks, and electric conductivity less than 200 µS/cm for the water heaters with chrome-nickel steel water tanks. The water pressure in the water supply system should be higher than 0.1 MPa and lower than 0.5 MPa. If the water pressure is higher than 0.5 MPa – please refer to the instructions in the section for connection to the water supply network.
The built-in heat exchanger ensures rapid domestic water heating and maintains the flow at the temperature set.
Within the device plastic cover is mounted a thermostat which can be used to control the flow of coolant through the heat exchanger.
The outer casing of the appliances is made of epoxy-polymer coverage and the heat insulation is made of CFC-free polyurethane foam.
INSTALLING THE WATER HEATER
The water heater can be installed only in normal fire safeguarded premises and where temperature cannot fall under 0 °C.
The availability of a siphon on the installation for waste waters or another system with the same purpose is necessary on the floor of the premises because during normal usage of the water heater, water may happen to drop from the opening of the safety valve. At the same time the siphon will facilitate the water tank maintenance prevention and servicing operations when water needs to be drained out of the water tank.
Dimensions of the appliance, the way of fixing, the location of the elements for the fixing and the tubes, its protection against dripping water (as marked on its serial number plate), the way of fixing and connection to the water main and electrical installations should be taken into account when choosing the proper place for installation. The appliance must be installed where it is protected against water dispersion or water pouring over.
The water heater is designed for floor installation The place must be leveled carefully. By screwing or unscrewing the unit feet is achieved its vertical position.
WARNING! Non observance of the requirements for fixing the water heater on the wall may cause damages of the appliance, damages on other appliances and the premises, where the device is located, as well as corrosion of the casing or even more serious failures and damages. In such cases eventual failures and damages are not a subject to manufacturer and seller warranty liabilities and will be at the expense of the party which has not observed the present guide instructions. Installation of the water heater should be performed only by qualified persons!
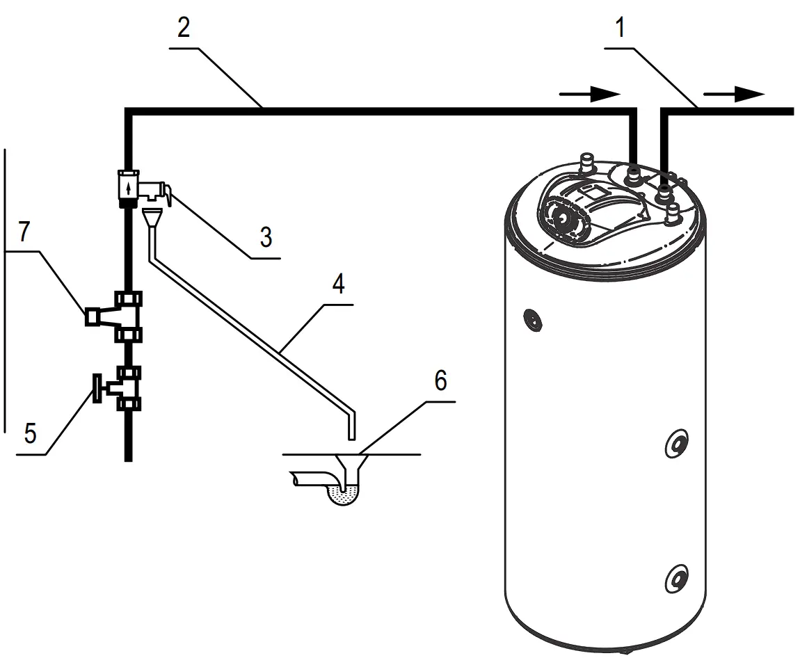
WATER HEATER CONNECTION TO THE WATER SUPPLY NETWORK
For water pressure in the mains above 0,5 MPa

| Hot water |
| Cold water |
| Combined valve |
| Shut-off valve. |
| Discharge system |
| Siphon |
| Reducing valve |
All water tank outlets are marked with signs with the corresponding text.
Where the plumbing pipes are copper or of another metal, other than that of the water tank, or where brass fasteners are used, it is compulsory to install on all of the water tank inlet and outlet pipes non-metallic couplings (dielectric fittings).
In the water heater packaging is placed a combined check-safety valve. When connecting the device to the water supply network it is compulsory to install the check-safety valve on the cold water pipe. The check safety valve must not be installed in the space above the water heater. The arrow on the valve body indicating the direction of water flow must be observed. The lateral valve opening, intended to drain the expanded during heating water, should point downwards.
WARNING! It is FORBIDDEN to install any kind of shut-off fittings between the combined valve and the water heater! It is absolutely forbidden to obstruct the lateral opening of the combined valve and/or to block its lever!
It is necessary to make a system for draining dripping water from the combined valve lateral opening. This pipe will also capture the water flowing out of the valve during prevention works. This draining pipe must have a constant downward slope and located in frost secure environment and its ends to be constantly kept open to the atmosphere.
The draining outlet must be sealed hermetically at water pressure of at least 1,6 . We recommend to install on the draining outlet a suitable check safety valve. Where necessary it shall ease the water drain from the unit.
In cases where recirculation shall not be used the system must also be sealed watertight to water pressure at least 1.6 MPa.
In case of pressure of more than 0.5 MPa in the water within the pipe feeding the tank, before the shut-off valve must be installed special lowering pressure reducer valve (reducer) (See Fig. 2).
In the pipelines for hot and cold water to which the tank is connected may be installed other elements that are prescribed by the system designer in order to provide domestic hot water, but only on the places and in the manner provided in the project. Once the water heater is connected to the water supply main, its water tank should be filled up with water. It is carried out in the following order:
Open completely the turn-cock for hot water of the most distant mixing tap;
The shut-off valve opens; Wait until a flow of dense and strong jet of water comes from
the mixing tab outlet; Close the turn-cock for hot water of the mixing tap; Lift the combined valve lever and wait for about 30-60
seconds until a thick and powerful stream of water runs out from the valve side opening; Loose the lever of the combined valve.
WARNING! If no water is coming out of the opening of the combined valve or the flow is weak (during normal water pressure), this should be considered as a malfunction indicating that impurities from the plumbing or caused by sewage connections have blocked the safety valve of the combined valve. IT IS FORBIDDEN to proceed with appliance electric connection before eliminating the reason for malfunction.
WARNING! Failure to comply with the requirements for connection to the water supply system may cause partial filling up of the water tank and malfunction of the heating element, or when the combined valve is not installed at all or has been improperly installed this may even cause destruction of the water tank, the room and/or other damages to tangible and intangible property. Such consequences are not within the scope of manufacturer or seller warranty liabilities and shall be at the expense of the party, which has not observed the present manual instructions.
WARNING! The combined reciprocating safety valve is one of the unit safety components ensuring security for water heater users. It is specifically FORBIDDEN to use the water heater with a defective or removed/unmounted combined safety valve!
WARNING! In case of possible temperature fall below 0 ° in the premise where the water heater is installed it is compulsory to drain off the water completely from its tank. You may drain off the water from the tank with the shut-off valve installed to the unit draining outlet as follows:
- First close the shut-off valve installed on the pipeline feeding the system with cold water – Fig.2.
- Open the hot water cock of the closest mixing tap or disconnect the tank hot water pipe connection.
- Open valve installed to the unit draining outlet.
- Wait until the water is completely drained off and stops flowing. The outflowing water must be accordingly directed to a siphon for waste water.
WARNING! When draining the water out of the water tank all necessary precautions must be taken to prevent damages from flowing out water.
WARNING! IT IS FORBIDDEN to allow coolant circulation through the heat exchanger when the unit water tank is empty. The water heater connection to the water supply system must be performed only by qualified persons.
WATER HEATER CONNECTION TO THE POWER SUPPLY NETWORK
WARNING! Do not proceed to connect the water heater to the power supply network unless you have made sure that its water tank is full with water! Check!
The heat exchanger terminals are connected to the power supply network as provided for in the system design for domestic hot water. It is necessary in the coolant line to install a suitable expansion vessel and safety devices preventing increasing its pressure above the recommended values.
WARNING! It is prohibited to fit stop valves or other devices with the same objective on heat exchanger both ends (inlet and outlet) simultaneously. In cases where the water heater heat exchanger shall not be used and is not connected to the heat source circuit, it must be filled with propylene glycol solution suitable for heating systems.
In order to assist the management of coolant flowing through the heat exchanger, in the plastic cover of the unit is mounted a control panel with user adjustable thermostat.
Connecting the heat exchanger of the water heater to an alternative heat source circuit must be completed only by qualified technicians in the field from a company specializing in such services and in accordance with the design.
WATER HEATER CONNECTION TO THE POWER SUPPLY EARTLING
Given the connection to the heater electric devices that help manage the coolant flow it is necessary to connect the appliance to the room grounding circuit in order to avoid the risk of electric shock. The grounding wire is connected to the screw terminals of the flange plate, located under the plastic cover on top of the unit. Its terminal is marked with the sign of protective grounding.
WARNING! Failure to comply with the requirements concerning connection to the mains shall impede the appliance safety, in which it is prohibited to use. Such consequences are not within the scope of manufacturer or seller warranty liabilities and shall be at the expense of the party, which has not observed the present manual instructions. Only qualified persons are entitled to connect the water heater to the mains and to check its functionality.
HOW TO USE THE APPLIANCE
The operation of the heater is controlled by the general management of the system to provide hot tap water. The water heater can not operate separately. The thermometer installed (optional) on the appliance external coating indicates the process of water heating.
WARNING! Do never switch the appliance if there is a chance that the water in the water tank is frozen! This shall damage both heater and the tank.
WARNING! Do not switch the system in operation if the water tank is empty or partially full of contained water. When using the appliance it is possible to hear some weak noise due to the water flow through the pipelines and the appliance, as well as to the natural process of expanding and heating.
CORROSION PROTECTION, PREVENTION, MAINTENANCE
Enameled water heater tanks. In each water heater with enameled tank is installed additional corrosion protection. It consists of an anode protector (anode) of special alloy operating only when the water tank is full. Its average operation life is at most 3 (say: three) years. After this period, a manufacturer authorized specialist or dealer service company must check the conditions of the anode.
Where necessary it should be replaced with new one. Compliance with the inspection deadline and timely replacement of the anode is important for the effective protection of the tank from corrosion.
Water tanks of high quality chrome-nickel alloy steel. Corrosion protection and guaranteed long life are secured by correct choice of steel, adequate design and engineering construction during tank manufacture process.
SERVICE, PREVENTION, MAINTENANCE
In order to secure reliable operation of the water tank in areas with highly calcareous water it is recommended to clean the limestone accumulated within. This operation should take place at least once every two years, while in areas with higher limestone content even more frequently. The depositions on the enamel coating should not be removed otherwise than wiped with dry cotton cloth and without using hard tools. Regular limestone removal and cleaning is particularly important for appliance reliable operation. It is recommended that during this maintenance operation you carry out a review of the enameled tank anode condition. These services are not subject to warranty coverage and must be performed only by qualified person.
WARNING! In order to secure water heater safe and trouble-free operation, the combined valve should be checked regularly for reduced permeability. This is carried out by lifting the lever and waiting 30 to 60 seconds from the valve side edge to run thick and plenty water. This operation must be carried out after connecting the heater to the plumbing and when filling of the tank with water in the process of using the heater not less than once every two weeks, as well as eventually after stop and start of water supply. When at full tank by opening the valve does not leak or water flow is weak, there is a failure and probably the valve is clogged by impurities in the sewage. Using water heater with a defective valve is strictly prohibited! Stop immediately using the device! Stop the coolant flow before it enters the heat exchanger! Contact the nearest authorized by the manufacturer service company! Otherwise, it will cause damage to the water tank, and could cause tangible and intangible damages in the room where the water heater is located.
The water heater outer shell and plastic parts can be cleaned using only a slightly damp soft cotton cloth and never with invasive and/or abrasive substances and preparations. Before cleaning the appliance, it MUST be disconnected from the power supply with the additional disconnection device or by unplugging the plug on the power cord. IT IS FORBIDDEN to clean the appliance with steam generator. Particular attention should be paid to prevent wetting of the appliance light switch on its control panel. The water heater may be switched on in operation only after complete removal of moisture.
The rules for checking the anode anti-corrosion protection and anode replacement (please refer to previous section), as well as removal of the accumulated limestone, must be strictly observed both during and after the appliance warranty period.
WARRANTY, WARRANTY PERIOD AND WARRANTY CONDITIONS
The warranty, warranty conditions, warranty period, warranty validity for purchased appliance and service related manufacturer or vendor liabilities during the appliance warranty period are listed in the appliance warranty form. When buying the appliance the warranty form must be filled and signed both by seller and buyer. Keep the warranty form in a secure place.
In all instances shall be in force the applicable laws, regulations and other legislation dealing with the rights and obligations of consumer, seller and manufacturer, and their relationships related to purchased water heater, its installation, use, servicing and maintenance.
This appliance warranty shall be in force only is it:
- Is installed in accordance with the instructions for installation and usage;
- Is used only for the purpose it is produced and in accordance with the instructions for installation and usage;
The warranty shall consist of free of charge repairs of any factory related defaults that may manifest during the warranty period; The repairs shall be carried out only by reseller authorized experts and/or technicians.
This unit warranty shall not be valid for any damage caused by:
- Incorrect transportation;
- Incorrect storage;
- Incorrect usage;
- Used with water characteristics beyond the acceptable values for drinking water quality and in particular: its composition of chlorides should be less than 250 mg/l, and the electrical conductivity should be more than 100 µS/cm with pH within limits of 6.5-8 for the water heaters with enameled water tanks, and less than 200 µS/cm for the water heaters with chrome-nickel steel water tanks;
- Power supply with a different tension that the nominal one for the appliance;
- Damages due to water freezing;
- Natural disasters, calamities or other force majeure circumstances;
- Noncompliance with the instructions for installation and usage;
- In any cases where repair of any damage is performed by unauthorized person.
In all mentioned above instances repairs shall be paid.
Warranty shall not apply to normal wear parts and components of the device, parts that are removed during normal use, lighting and signal lamps and the like, re-painting color of external surfaces, change of shape, size and location of parts and components that are exposed to impact and conditions that are not considered normal use.
Lost profits, tangible and intangible damages caused by temporary inability to use the device during its prevention and repair shall not by covered by the warranty.
COMPLIANCE WITH THE REQUIREMENTS OF THIS INSTRUCTION MANUAL IS A PREREQUISITE FOR SAFE OPERATION OF YOUR PURCHASED PRODUCT AND IS ONE OF THE WARRANTY TERMS AND CONDITIONS.
IT IS ABSOLUTELY PROHIBITED TO THE USER OR ANY AUTHORIZED BY HIM PERSON TO UNDERTAKE ANY CHANGES IN THE PRODUCT DESIGN AND STRUCTURE. FINDINGS OF SUCH ACTIONS SHALL AUTOMATICALLY TERMINATE THE MANUFACTURER OR DEALER WARRANTY LIABILITIES.
IN CASE OF NECESSITY, PLEASE CONTACT THE AUTHORIZED BY THE MANUFACTURER OR SELLER SERVICE CENTERS.
THE MANUFACTURER PRESERVES HIS RIGHT TO STRUCTURAL CHANGES WITHOUT NOTICE WHERE SUCH SHALL NOT AFFECT PRODUCT SAFETY.




















