MA213 (fr_en)
Assembly instructions
CombiTac uniq
Delivery versions
Contacts delivered separately for panel assembly
for assembly in housings
The compressed air and coolant couplings are delivered pre-assembled.
Assembly Instructions overview
| MA213-01 | Electrical connectors | |
| MA213-02 | Coaxial Connectors | |
| MA213-03 | Plastic optical fiber contacts POF | |
| MA213-04 | Contacts for data transmission | |
| MA213-05 | High voltage module 2.5 kV/5 kV | |
| MA213-06 | Glass optical fiber contacts GOF | |
| MA213-07 | Last Mate First Break (LMFB) | |
| MA213-08 | 10Gbit module | |
| MA213-09 | PE module | |
| MA213-10 | Light housing | |
| MA213-11 | Coaxial unit 6 GHz | |
| MA091 | CombiTac for battery pack | |
| Compressed air and coolant | pages 4 + 18 | |
Safety instructions
Use only the components and tools specified by Stäubli. In case of self-assembly, do not deviate from the preparation and assembly instructions as stated herein, otherwise Stäubli cannot give any guarantee as to safety or conformity with the technical
data.
Do not modify the product in any way.
Connectors not originally manufactured by Stäubli which can be mated with Stäubli elements and in some cases are even described as ”Stäubli-compatible” by certain manufacturers do not conform to the requirements for safe electrical connection with long-term stability, and for safety reasons must not be plugged together withStäubli elements.
Stäubli therefore does not accept any liability for any damages resulting from mating such connectors (i.e. lacking Stäubli approval) with Stäubli elements.
Stäubli Electrical Connectors (Stäubli) does not accept any liability in the event of failure to observe these warnings.
IEC 60417-6182
Installation, electrotechnical expertise
The products may be assembled and installed by electrically skilled or instructed persons duly observing all applicable safety regulations.
IEC 60417-6042
Caution, risk of electric shock
Work in a de-energized state
Follow the five safety rules, when working on electrical installations.
After the respective electrical installations have been identified, the following five essential requirements shall be undertaken in the specified order unless there are essential reasons for doingotherwise:
- disconnect completely;
- secure against re-connection;
- verify absence of operating voltage;
- carry out grounding and short-circuiting;
- provide protection against adjacent live parts.
Any person engaged in this work activity shall be electrically skilled or instructed, or shall be supervised by such a person.
Source: EN 50110-1:2013
Protection against electric shock shall be checked in the end-use applications too.
For voltages > DC 60 V or > AC 30 V, protective earthing (PE) measures of metal housings must be taken.
IEC 60417-6070
Do not disconnect under load
Connecting and disconnecting when live is only permitted if the rated voltage does not exceed AC 1000 V/DC 1500 V.
For rated voltages over AC 1000 V/DC 1500 V, the voltage must only be applied in mated condition, disconnecting under load or connecting when live is not permitted. This also applies for electrical connections in close proximity to fluid and gas con- nections.
ISO 7000-0434B
Caution
Each time the connector is used, it should previously be inspected for external defects (particularly the insulation). If there are any safety concerns, an electrically skilled person must be consulted or the connector must be replaced.
The plug connectors are watertight in accordance with the product specific IP protection class.
Unmated plug connectors must be protected from moisture and dirt. The male and female parts must not be plugged together when soiled.
ISO 7000-0421
Examine; Check
To indicate examination or checking
Useful hint or tip
For further technical data please see the product catalog.
Electrical contacts in close proximity to connectors for
liquids and gases
Defect electrical contacts or connectors which leak gas or liquids can be a safety hazard to personnel and the environment as well as affecting the proper function of the system. It is the respon- sibility of the end user to ensure that both safety and proper function in the end use is guaranteed. The result of a risk analysis requires that the end user of CombiTac connectors must ensure the following:
* All relevant national and intemational standards and regulations must be complied with in the end use.
« Field-tested techniques must be applied and if necessary a risk assessment must be carried out in order to identify and reduce the risks.
« The use of flammable or explosive liquids or gases is prohibit- ed.
¢ Exclusively CT-…SCT couplings with both male and female sided locking systems are permitted to be used for liquids.
« Automatic disconnection of power supply in the event of indi- rect contact, overload or short circuit is required according to IEC 60364-4-41.
« If the voltage is higher than AC 30 V, DC 60 V all simultane- ously accessible conductive parts, which do not carry current during normal operation, must be connected to the protective conductor (PE).
¢ If the voltage is higher than AC 30 V, DC 60 V all electric cir- cuits have to be protected by a residual-current-operated protective device (RCD) with a rated residual-operating-current not exceeding 30 mA according to IEC 60364-4-41.
« Connecting or disconnecting under load or live is not allowed (Connector without breaking capacity according to IEC 61984}.
* On permanently fixed installations electrical contacts have to be placed above liquid couplings.
Place the electrical contacts above the fluid couplings:
Do not disconnect or connect under load or voltage
- In CombiTac housing applications the housing has to be connected to the protective conductor according to IEC 60364-4-41
- The maximum rated voltage phase to neutral conductor is AC/ DC 1000 V
- The fluid couplings must be replaced if a leak is detected.
Safety situation for CombiTac connectors
Connecting or disconnecting when CombiTac is isolated from supply

Connecting and disconnecting when live is only permitted if the rated voltage does not exceed AC 1000 V/DC 1500 V.
For rated voltages over AC 1000 V/DC 1500 V, the voltage must only be applied in mated condition, disconnecting under load or connecting when live is not permitted.This also applies for electrical connections in close proximity to fluid and gas connections.
Attention
When disconnected, the socket side is touch protected, i.e has IP2X protection according to IEC 60529. See also catalogue CombiTacline section Underwriters Laboratories UL 1977.
Connecting or disconnecting when under load
Panel-mounted version
The protection against electric shock is provided by the enclo- sure of the equipment in which it is installed. This is provided by the CombiTac end user.![]()
Tools required
(ill. 1) Torque wrench
(ill. 2) Grease Stäubli G10, 50 g
Order No. 70790053
Grease Stäubli G4, 100 g
Order No. 70790054
Orientation of the contact carriers
(ill. 3)
The mating side is the side with the MC logo on each carrier.
Most contact carriers that are not identical for pins and sockets, are marked with a “B” (for sockets) and “S” (for pins)
Individual parts
(ill. 4)
Supporting rail CT-BS or CT-BS-UR,
Order No. 33.5606-.
Supportinig rail CT-BS-AL,
Order No. 33.5601-.
Filister head screws form
Type LI-BL-SHR,
Order No. 33 .5615
(ill. 5)
Standard end piece for DIN housing,
pins CT-BEG-S, order No. 33.4057
For DIN housings:
Screws LI-SHR-GF-TORX M3x10,
Order No. 33.2890
Tightening torque: max. 1.2 N m


CombiTac assembly
(ill. 12)
Clamp on all the contact carriers in the desired sequence on a supporting rail.
Note: MC logo orientation according to ill. 3
(ill. 13)
Clamp on the second supporting rail.
(ill. 14)
Connect the end pieces to the supporting rails and secure using the 8 screws as shown. Tightening torque:
Supporting rail in plastic: 0,5 N
m Supporting rail in aluminium: 0,8 N m
Note: Pay attention to the end pieces orientation in relation to the MC logo.
Note: Small projection of contact carriers is posible depending on the configuration.
Use of Ø 3 mm CT-E3-3 and CT-E3-2+PE contact carriers up to 1000 V
The rated voltage for a CT-3 module may be increased over 600 V 2/CAT II up to 1000 V for pollution degree 2/CAT II, and up to 400 V for pollution degree 3/CAT III.
To do so, the clearance and creepage distances between the CT-3 and some neighboring modules must be increased with CT-DIP separators.
The corresponding combinations are given in the table.
| CT-DIP2 required | CT-DIP1 required | No DIP required |
| Module signaux/Signal unit: CT-E0,6-20 Data transfer unit: CT-10GBIT | Module signaux/Signal unit: CT-E1-6, CT-LMFB Data transfer unit: CT-NET, CT-RJ45 Module fibre optique/Optical fiber unit: CT-E-POF, CT-E-GOF | Module signaux/Signal unit: CT-E1-15, CT-E1-26, CT-E1,5 Module pour courant fort/Power unit: |
Higher voltages must not be applied to the CT-E3-3/PCB version.
(ill. 15 – 17)
Cutout dimensions according to Tab. 1,page 10 for housing sizes 1 to 6
Note: CombiTac Light housing assembly instructions MA213-10, www.staubli.com/electrical
MOUNTING INFORMATION


b
Housing securing screws
1) The screw lenghts depend on the customer panel thickness and housing base thickness (C6, C10)
1) not included
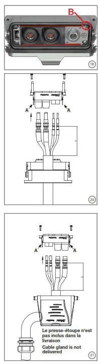
Installing in surface mount housing
fl 10+20)
Remove CombiTac from auriace mount housing by unscrewing the 4 screws (B) a. 19,
Pass cables with contacts through surface mount housing (iL 20) and assemble into the CombiTac carriers.
Finally secure the CombiTac back into the surface mount housing by screwing. the 4 screws (B) back on.
2 Mote
1 Cable praparation, crimping and contact assembly according to MA213-01, wien: staubli. comelectrical
& Mote
1 Cabs tength L {4 18) depercta on the CombiTac configuration and must be sufficient to enews pulling forces. ae not applied to the contacts when assembled in cariars.
After connecting the lead, the crimping area of connectors size 3mm to 12 mm must be insulated with a shrinking sleeve.
Installing in housing coupler hood
Remove CombiTac from housing cou- pler hood by unscrewing the 4 screws Bia. 19.
Pass cables with contacts through housing coupler hood (il. 21) and as- semble into the CombiTac carers.
Finally tighten cable gland and make sure that no pulling forces are applied 10 the contacts. joe . .
(Cable gland tightening torque ac- cording to supplier apactications. For 12 mm contacts, the shrinking sleeve shoud pass through the cable gland. 2 Mo
1 The DIN metal housings can be earthed through the fiat comact (6.3 trent x 0.8 mm) on the standard and pieces 33.4066 and 33.4057 {position
A) Cables up to a maximum of 6 rer? may be connected tp the flat contact. The PE module 33.4165 ia used for croes-eections for 10 my or higher.
Coding

(ill. 22)
Coding variants
S = Pin side
B = Socket side
= Coding pin
Standard delivery: Coding C2, order No. 33.1021
Protection against electrical shocks
For voltages > DC 60 V or > AC 30 V, metal (conductive) housings must be connected to protective earth (PE).
Housing sizes 1 to 6
Note for all aluminium DIN housings (IP65):
Before first use and after 5’000 cycles, lubricate the housing rollers, axles and lever stops with commercial long-lasting rolling and plain bearing grease.e.g. Klüber LDS 18 special or Klüber- lectric KR44-402. Every 1’000 cycles check to ensure that the
locking mechanism screws have not loosened. If loosened, tighten them up to 1.9 N m.
Housing sizes 5 and 6

(ill. 23)
For all Aluminium DIN housings sizes 5 and 6 an uniform spa-cing (B) between the pin and socket sides must be kept.
Observation: Check housing seals visually for damage!
Replacement seals
Housing seals from NBR material can be ordered as replacements.
Note: Use a needle-nose pliers to remove replaceable seals of aluminum DIN Housings size 2, 3, 4.New seal can be inserted by hand.
Fixing the CombiTac on panel
Panel mounting drilling plan for CombiTac with panel mount end pieces
Pin side panel mounting drilling plan for CombiTac with housing end pieces
Panel mounting drilling plan for CombiTac with high misalignment end pieces
Socket side panel mounting drilling plan for CombiTac with housing end pieces
(ill. 24)
The recess and borehole diameters are such that the connecting elements can absorb positioning errors of 2 mm in the x and y directions.
Note: Minimal supporting rail length L = 18 mm. If required, fill up with spacers.
(ill. 25)
Securing material: Panel mounting end pieces 1)
- 2 screws M4x16 (DIN 912), (screw length for panel thickness, size A = 2-5 mm)
- 2 nuts M4 (DIN 934)
- 2 washers M4 (DIN 125A)
Panel mounting
Please note that locking is required for panel mounting when contacts are included that have a permanent axial forces in mated condition (LMFB, Thermocouple contacts, POF, GOF, RCT, UCT and SCT).


| Contacts | Dimensions X Sizes X |
| max. mm | |
| CT0.6 | 1,5 |
| CT1.5 | 2.75 |
| CT-E8-2-IP2X | 2 |
| CT-LMFB | 1 |
| Electriques supplémentaires /Further electrical | 3 |
| POF-version à sertir/crimp version | 1,5 |
| POF/SL-version avec lentille/Lens contact | 7,5 |
| Coaxial/Coaxial | 1,5 |
| Contacts à pression pour thermocouples/Thermocouple pressure contacts | 1,5 |
| CT-NET | 2 |
| SCT | 2 |
| UCT/RCT | 2 |
High misalignment end pieces mounting offset

Attention
Connections with uncontrolled coupling force and undefined end position Undefined coupling forces must not be applied to the connectors, frames or guiding pins. In such cases the customer must provide a pole-mating guide (e.g. with mechanically robust
pins). Failure to follow such recommendations may result in connector damage.
Final check
Before using for the first time, check the following:
(ill. A) Check CombiTac connection sides for clearance and creepage distances between bare metal parts (cable lugs, bare wires etc)
(ill. B) Compare the socket and pin side configuration.
(ill. C) Check coding if applicable, ill. 20, page 12.
(ill. D) In panel mount applications, correct installation is necessary to ensure proper float mounting function. It should be possible to move the socket and pin side in x and y direction by ± 1 mm without resistance.
(ill. E)
Check end pieces are correctly positioned.
IP2X must be ensured in mated condition.
For assembly of the specific modules, please refer to the corresponding assembly instructions.
Following assembly, no pulling forces must act upon the contacts via the assembled cables.
Mating cycles
Compressed air and coolant units
Note: Lubrication interval every 20‘000 mating cycles.
(ill. 26)
for CT-…SCTXX
Grease Staubli G11, 25 gr., order No.70790062
Attention
Lubricate only the dotted area
(ill. 27 + 28)
for CT-…UCTXX and CT-…RCTXX
Grease Staubli G4, 100gr., order No. 70790054
Attention
Lubricate only the dotted area Thermocouple Unit for Types:
T: Copper + Constantan
J: Iron + Constantan
Maintenance note: Every 10‘000 cycles: clean the contacts with clean compressed air.
After 50‘000 cycles: clean the contacts with alcohol (eg. methylated spirit) with a cotton swab.
for Types:
E: Chromel + Constantan
K: Chromel + Alumel
N: Nicrosil + Nisil
Maintenance note: Every 50‘000 cycles: clean the contacts with clean compressedair.
After 100‘000 cycles: clean the contacts with alcohol (eg. methylated spirit) with a cotton swab.
Fabricant/Producer: Stäubli Electrical Connectors AG
Stockbrunnenrain 8 4123 Allschwil/Switzerland
Tel. +41 61 306 55 55
Fax +41 61 306 55 56
[email protected]
www.staubli.com/electrical
© by Stäubli Electrical Connectors AG, Switzerland – MA213 – 05.2022, Index i, Marketing Communications – Modifications sous réserve / Subject to alterations

















