MA213-07 (de_en)
Assembly instructions
CombiTac uniq
(Last Mate First Break-LMFB)
Safety instructions
Use only the components and tools specified by Staubli. In case of self-assembly. do not deviate from the preparation and assem-bly instructions as staled herein. otherwise Staubli cannot give any guarantee as to safety or conformity with the technical data. Do not modify the product in any way.
Connectors not originally manufactured by Staubli which can be mated with Staubli elements and in some cases are even de-scribed as ‘Staubli-compatible by certain manufacturers do not conform to the requirements for safe electrical connection with long-term stability. and for safety reasons must not be plugged together with Staubli elements. Staubli therefore does not ac-cept any liability for any damages resulting from mating such connectors (i.e. lacking Staubli approval) with Staubli elements.
Staubli Electrical Connectors (Staubli) does not accept any liability in the event of failure to observe these warnings.
Installation, elecirotechnical expertise
The products may be assembled and installed by electrically skilled or instructed persons duly observing all applicable safety regulations.
Caution, risk of electric shock
Work in a de-energized state Follow the five safety rules. when working on electrical installa-tions. After the respective electrical installations have been identified. the following five essential requirements shall be undertaken in the specified order unless there are essential reasons for doing otherwise:
- disconnect completely:
- secure against re-connection:
- verify absence of operating voltage:
- carry out grounding and short-circuiting:
- provide protection against adjacent live parts. Any person engaged in this work activity shall be electrically skilled or instructed. or shall be supervised by such a person. Source: EN 50110-1:2013
Protection against electric shock shall be checked in the end-use applications too.
Do not disconnect under load
Plugging and unplugging when live is permitted.
Caution
Each time the connector is used, it should previously be inspected for external defects (particularly the insulation). If there are any safety concerns, an electrically skilled person must be consulted or the connector must be replaced. The plug connectors are watertight in accordance with the product specific IP protection class. Unmated plug connectors must be protected from moisture and dirt. The male and female parts must not be plugged together when soiled.
Useful hint or tip
For further technical data please see the product catalog.
Tools required
(ill. 1) Crimping pliers CT-M-CZ, Order No. 33.3800
(ill. 2) Adjustable locator MES-CZ, (for con-ductor cross section 0,14 — 4 mm2) Order No. 18.3801
Cable preparation
Note: I Make sure that no pulling forces are present at the contacts through the assembled leads (Cable strain relief).
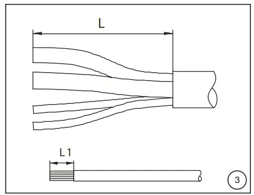
(ill. 3) Place accessories (e.g. cable gland) on the cable. Strip cable and single conductors. Lenght L1 for single conductors, see Tab. 1.
Tab. 1
| Leiterquerschnitt Conductor cross section | Crimpzange/Crimping pliers | ||||
| CT-M-CZ | Ll | ||||
| mm2 | AWG | Selector AWG-N° | Selector SEL-N° | Locator | mm |
| 0.5 | 20 | 20 | 4 | ||
| 0.75 | 18 | 18 | 5 | ||
| 8 | |||||
| MES-CZ | |||||
| 1 | 18 | 18 | 5 | ||
| 2. | 16 | 16 | 6 | ||
Cable assembly
Crimp connection
Crimping pliers and locator according to ill. 1 and ill. 2.
(ill. 4a, 4b, 4c)
Insert contact as shown (ill. 4a).
Adjust locator as shown (ill.4b) to ensure contact is at same level as hole (ill. 4a), then lock adjustable locator into position (ill. 4c).
(ill. 5)
Insert wire into the contact crimping sleeve as far as possible, and proceed with crimping (ill 5).
Note: Wires must be visible in the sight hole before and after crimping (ill. 5a).
Assembly
Note: The assembly of LMFB contacts must be carried out by a skilled person using appropriate equipment.
Attention
The positioning of the LMFB contacts in the contact carrier is very important.
The two LMFB contacts should only be placed in the edge slots (slot number 1 and 4). Failure to place the LMFB contacts in the correct position, will lead to incorrect LMFB functionality.
We recommend using blind plugs CT-BSGOF, 33.4080 to fill empty slot positions 2 and 3. Ensure blind plugs are inserted correctly, as seen in ill. 6.
(ill. 6)
Place crimped contacts in the contact carrier slots 1 and 4.
(ill. 7 – 8)
Place the holding plate into the contact carrier.
Attention
Check correct latching!

Disassembly
(ill. 9)
Pull the retaining latch outwards to release holding plate.
Depending on the installation position, a screwdriver may be used.
(ill. 10)
Pull holding plate with the contacts out of the contact carrier.
Positioning and wiring of LMFB modules on CombiTac
(ill. 11)
For a single row Combitac, two LMFB modules are required. They must be placed at the edge positions (first and last).
(ill. 12)
For CombiTac rails > 90 mm, if a third LMFB module is needed, two must be placed at the edge positions (first and last), and one in the center.
Note: A double row CombiTac requires two LMFB modules as shown in ill. 13.
(ill. 14 – 16)
Depending on the CombiTac configuration, and to ensure correct functionality of LMFB contacts, the contacts must be connected in series as shown (ill. 14 – 16).
Spacer clamp
(ill. 17 – 18)
For housing size 1, 6 and pedestal housing size 5, a spacer clamp is used if improvement of tolerance levels is required. The space clamp is not included in the delivery and can be ordered separately if needed.
CT-SC0,8
Order No. 33.4157

Hersteller/Producer:
Stäubli Electrical Connectors AG
Stockbrunnenrain 8
4123 Allschwil/Switzerland
Tel. +41 61 306 55 55
Fax +41 61 306 55 56
mail [email protected]
www.staubli.com/electrical
© by Stäubli Electrical Connectors AG, Switzerland – MA213-07 – 05.2022, Index b, Marketing Communications – Änderungen vorbehalten/Subject to alterations


















