EATON Crouse-Hinds Explosion Protected Plug and Socket System

Product Information
The CROUSE-HINDS SERIES Explosion protected plug and socket system is a 16 A, 3-pole, 4-pole, 5-pole system with model number GHG 511. It includes a wall socket, plug, coupler, and flange socket. The product is suitable for use in hazardous environments with gas groups D II 2 G Ex db eb IIC / IIB / IIB+H2 Gb D II 2 D Ex tb IIIC / IIIB Db. The product can handle a maximum voltage of up to 690 V and a frequency of up to 400 Hz. The product is available in different temperature ranges and has various cable entries.
Product Usage Instructions
- Electrical connection: Follow the instructions provided for electrical connections, including cable entries and blanking plugs.
- Closing the device: Make sure that the device is properly closed before use.
- Taking into operation: Follow the instructions provided for taking the device into operation.
- Maintenance/Servicing: Refer to the manual for instructions on maintenance and servicing of the product.
- Repair/Overhaul/Modifications: Refer to the manual for instructions on repair, overhaul, or modifications of the product.
- Disposal/Recycling: Refer to the manual for instructions on proper disposal or recycling of the product.
- Switching operation: Follow the instructions provided for switching operation of the product.
- Coding: Refer to the manual for instructions on coding the product.
- Dimensional drawings: Refer to the manual for dimensional drawings of the product.
Technical data


Auxiliary contact
![]()
Principles
Caution
- This symbol warns of a possible failure. Failure to observe this caution may result in the total failure of the device or the system or plant to which it is connected.
Special conditions
- This symbol shows Highlights for safe use in accordance to EU-Type-Examination Certificate/ IEC Ex-Certificate of Conformity.
Safety instructions
Target group
For skilled electricians and suitable qualified, instructed personnel in accordance with national legislation, including the relevant standards and, where applicable, in acc. with IEC/EN 60079-14 on electrical apparatus for explosive atmospheres. They are not suitable for Zone 0 and Zone 20 hazardous areas. The temperature class and explosion group marked on the apparatus shall be observed.
Modifications to the plugs and sockets or changes of their design are not permitted. They shall be used for their intended purpose and in perfect and clean condition. The requirements of the IEC/EN 60079-31 regarding excessive dust deposits and temperature to be considered from the user. To ensure adherence to the temperature class stated on the type label of the apparatus, the permissible ambient temperature, the rated terminal cross section and the self heating of the apparatus that is mainly due to the power dissipation shall be taken into account (test criterion for the self heating is an overload of 10%).
Prior to taking the plugs and sockets into operation, they will have to be checked in accordance with the instruction as per section 6. The sockets may only be used with the associated Cooper Crouse- Hinds plugs in undamaged condition. The interlocking switch of the socket is mechanically secured and cannot be connected without plug. The plugs GHG 543/531 can further on be inserted with the sockets of the series GHG 543/GHG531. Flange sockets may only be used in protective enclosure or apparatus that have been certified for the respective application. Observe the national safety rules and regulations for prevention of accidents as well as the safety instructions included in these operating instructions and set in italics the same as this text!
Conformity with standards
The apparatus is conform to the standards specified in the EU-Declaration of conformity, enclosed separately. References to standards and directives in these operating instructions always relate to the latest version. Other additions (e.g. details relating to the year) shall be observed.
Field of application
The plugs and sockets GHG 511 are suitable for use in Zones 1 and 2 as well as in Zones 21 and 22 in accordance with IEC/EN 60079-10-1 and IEC/EN 60079-10-2. The enclosure materials employed, including the exterior metal parts, are made of high- quality materials which ensure a corrosion protection and resistance to chemical substances corresponding to the requirements in a “normal industrial atmosphere”:
- impact resistant polyamide
- glass-fibre reinforced polyester
- special steel AISI 316 L
When used in extremely aggressive atmosphere, you can request additional information on the chemical resistance of plastics used in your responsible Cooper Crouse-Hinds branch.
Use/Properties
The GHG 511 plugs and sockets are used for the power supply of local controls with varying locations, as well as of electrical installations, mobile machinery and driving gear in hazardous areas.
The low-voltage plugs and sockets GHG 511 are fitted with a load switch and can be used up to max. 16 A (see technical data). The plugs and sockets can generally be used for the voltage range laid down in IEC/EN 60309 (e.g. UN 400 V that corresponds to the voltage range 380-415 V). The apparatus connected to the plug shall be suitable for the applied mains voltage. In order to switch on the socket, the plug is inserted, pushed fully home and then turned through approx. 45° to the right. Thereby the plug is locked in the socket (see, fig. 1). For switching off and pulling the plug, proceed in inverse order. After separating the plug from the socket, the latter shall be closed with the hinged cover and secured with the bayonet ring. The plug can be pushed into the socket and pulled out of it only whilst the socket is switched off.


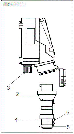
In order to ensure the socket’s type of protection acc. to the type label also with the plug being inserted, the bayonet ring of the plug (see fig. 2, item 2) is turned to its stop onto the socket. The data as per point 3 and 4 will have to be taken into account with the use. Applications other than described are not permitted without Cooper Crouse-Hinds’s prior written consent. For the operation, the instructions stated in section 7 of the operating instructions will have to be observed. From time to time, the locking function protecting against inappropriate use e. g. of industrial plugs in zone 1 has to be checked. In the open air, the plugs must be kept with the plug opening (pin side) pointing downwards or be closed with protective plug caps available as an optional extra (see general catalogue).
The user alone is responsible for the appropriate use of this plug and socket system in consideration of the basic conditions existing at the plant (see technical data). After a short in the circuit, the functioning of the plug and socket system and of the plugs has to be checked. Since the switch contacts can no more be checked because of the flameproof enclosure, the complete switch insert (flange socket) will have to be replaced after repeated short circuits.
Installation
For the mounting and operation, the respective national regulations as well as the general rules of engineering will have to be observed (IEC/EN 60079-14). The improper installation and operation of plugs and sockets may result in the invalidation of the guarantee.
Mounting

The wall sockets can be mounted without opening their enclosure. X ATEX – IEC If an ambient temperature between -40 °C and -55 °C is to be expected when used as intended, the plug may only be installed in a protected location. The impact energy shall not exceed 4 joules.
In case the wall sockets are mounted directly onto the wall, they may rest evenly only at the respective fastening points. The chosen screw shall match the fastening hole (see dimensional drawing) and it must not damage the hole (e. g. use of a washer). The device shall be fastened diagonally with at least 2 screws. The wall sockets, flange sockets and couplers shall be mounted so that the plug hole points downwards (fig. 2). The wall sockets can be clipped onto the Cooper Crouse-Hinds mounting plate size 4. They are laterally pushed into the guiding groove on the left-hand side of the mounting plate. The respective mounting instructions will have to be observed.
Opening the device/ Electrical connection


Before opening the apparatus, ensure that it has been isolated from the voltage supply, or take appropriate protective measures. The electrical connection of the device may only be carried out by skilled staff (IEC/EN 60079-14). The conductors shall be connected with special care in order to maintain the explosion category. The insulation of the conductors shall reach up to the terminal. The conductor itself shall not be damaged. The connectible min. and max. conductor cross-sections shall be observed (see technical data). Taking into account the respective regulations, the properly bared conductors of the cables shall be connected. The plug insert (page 18, item 2, fig. 4) is removed from the pin bushing (item 1, fig. 4), after the fastening screws (item 3, fig. 3) have been unscrewed. Thereafter, the plug insert can be connected to the connections of the plug pins ( view 1, fig. 4).
Attention: When the fastening screws (item 3, fig. 3) get lost, they will have to be replaced by similar screws or to be ordered directly from the manufacturer.
Assembly is made in inverse order, after the cable has been connected. To connect the coupler, unscrew and remove the 4 fixing screws of the flange from the body sleeve. The coupler insert can then be connected to the respective contacts. When reassembling, the flange screws shall be screwed into the body sleeve with a maximum test torque of 1 Nm. All screws and / or nuts of the supply terminals, also of those remaining vacant, shall be tightened down.
Excessive tightening may affect or damage the connection. The supply terminals are designed for the connection of copper conductors. If multi- or fine-wire connecting cables are used, the wire ends will have to be handled in acc. with the applicable national and international rules (e.g. use of sleeves for strands).
Cable entries (KLE); blanking plugs
Socket
Generally, only certified cable entries and blanking plugs are permitted for use. Flexible cables shall be used with trumpet-shaped cable glands or other suitable entries with additional pull-relief. When using cable entries with a lower IP protection than that which applies to the device (see technical data), the IP protection of the whole device will be reduced. The mounting directives applicable to the cable entries used shall be observed. Unused holes shall be closed with a certified blanking plug in order to establish the minimum protection category. Care has to be taken that when fitting the cable entries, sealing inserts appropriate to the cable diameter are used. In case of sealing inserts that are cut out, it shall be ensured that the insert is properly adapted to the cable diameter. In order to ensure the required minimum protection category, the cable glands are to be tightened down.
Overtightening might impair the protection category. All vacant metric Cooper Crouse-Hinds cable entries shall be closed with the certified blanking plug for metric cable entries.
Warning: Metal plates and metal glands shall be incorporated in the potential equalization.
Plug/coupler
In general, only the sealing inserts fitted in the plug or in the coupler may be used. When mounting the cable, attention has to be paid that sealing inserts matching the cable diameter be used. After having connected the cable, the coupling ring (page 18, fig. 2, item 4) is to be screwed fingertight until the sealing effect is obtained. Then the screws item 5, of the pull-relief item 6, are to be tightened down.
Mind

Overtightening might impair the pull- relief effect! In case an ”external earth connection“ is mounted on the plastic enclosure, it should be connected with a max. 25 mm² wire. This earth connection is inserted through a M6 drill in the inner wall of the enclosure( fig. 5).
Warning: Metal plates and metal glands shall be incorporated in the potential equalization.
Closing the device
- In order to ensure the required minimum protection category, the cover screws, the screws of the plug, and of the coupler shall be tightened down. The screws of the plug and the coupler shall be tightened down.
- Overtightening might impair the protection category.
- Any foreign matter shall be removed from the device.
Taking into operation
- Prior to taking the apparatus into operation, the tests specified in the relevant national regulations shall be carried out. Apart from that, the correct functioning and installation of the apparatus in accordance with these operating instructions and other applicable regulations will have to be checked.
- Check the plug for any damages before putting it in the socket.
- The user must ensure that a uniform equipotential earth applies throughout when the plug and socket system is operated.
- The inappropriate installation and operation of the plugs and sockets can entail the loss of warranty.
Maintenance/Servicing
The relevant national regulations which apply to the maintenance/ servicing of electrical apparatus in explosive atmospheres shall be observed (IEC/EN 60079-17). Before opening the enclosure, make sure that the device is disconnected from the voltage, or take appropriate protective measures.
The required maintenance intervals depend on the specific application and will therefore have to be determined by the user dependent on the conditions of use. When servicing the plugs and sockets, particularly those parts that are decisive for their type of protection against explosion will have to be checked (e. g. intactness of flameproof enclosed components, of the housing, firm fit of the cable entries and efficacy of gaskets). If during servicing, repairs prove to be necessary, section 8 of these operating instructions will have to be observed.
Wallsocket and coupler
- The 4 fixing screws of the flange socket have to be considered in the maintenance intervals too.
- The test torque have to be checked (see Technical data).
Repair/Overhaul/ Modifications
- Repairs and overhaul may only be carried out with genuine Cooper Crouse- Hinds spare parts.
- Should the flameproof enclosure be damaged, only a replacement will be permitted. In case of doubt, the respective apparatus will have to be returned to Cooper Crouse-Hinds for repair.
- Repairs that affect the explosion protection, may only be carried out by Cooper Crouse-Hinds or a qualified electrician in compliance with the applicable national rules (IEC/EN 60079-19).
- Modifications to the device or changes of its design are not permitted.
Disposal/Recycling
![]()
- When the apparatus is disposed of, the respective national regulations on waste disposal will have to be observed.
- In case of disposal you can obtain additional information from your Cooper Crouse-Hinds branch.
- In order to facilitate the recycling of individual components, plastic parts are provided with the identification mark of the plastic material used.
- Subject to modifications or supplement of the product range.
Contact arrangement Wall/Flange socket, GHG 511

Coding

Dimensional drawings
Drilling templatefor flange sockets

Dimensions in mm
- Coding zone 1

Wall socket
- 2-pol./pôl. + PE
- 4/5-pol./pôl. + PE

Flange socket

- Plug: 2-pol./pôl. + PE
- 4/5-pol./pôl. + PE

- 2-pol./pôl. + PE
- 4/5-pol./pôl. + PE

Coupler

- 2-pol./pôl. + PE
- 4/5-pol./pôl. + PE
You can request this user manual in their mother tongue with the person concerned representation of Cooper Crouse-Hinds/CEAG in your country.”
Eaton is dedicated to ensuring that reliable, efficient and safe power is available when it’s needed most. With unparalleled knowledge of electrical power management across industries, experts at Eaton deliver customized, integrated solutions to solve our customers’ most critical challenges. Our focus is on delivering the right solution for the application. But, decision-makers demand more than just innovative products. They turn to Eaton for an unwavering commitment to personal support that makes customer success a top priority. For more information, visit www.eaton.com/electrical.
Changes to the products, to the information contained in this document, and to prices are reserved; so are errors and omissions. Only order confirmations and technical documentation by Eaton is binding. Photos and pictures also do not warrant a specific layout or functionality. Their use in whatever form is subject to prior approval by Eaton. The same applies to Trademarks (especially Eaton, Moeller, and Cutler-Hammer). The Terms and Conditions of Eaton apply, as referenced on Eaton Internet pages and Eaton order confirmations.
Eaton is a registered trademark.
All trademarks are property of their respective owners.


















