Leuchten Direkt 11592-77 Iron 1xE27 60W Indoor Table Lamp

WHAT IN BOX
SPECIFICATIONS
- 995708
- 230V/5OHz~
- 1x E27 max. 25W
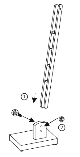
INSTALLATION INSTRUCTION


LeuchtenDirekt GmbH Olakenweg 36 · D-59457 Werl +49(0)2922 9721 9290
[email protected]
www.leuchtendirekt.de
















