HOME DECORATORS COLLECTION C7082-BK Lincoln 4 Light Pendant Light

Product Information
The Lincoln 4-Light Pendant is a decorative lighting fixture designed to enhance the ambiance of any room. It is available in two models – C7082-BK and C7082-BN, with item numbers 1008195479 and 1008195486 respectively. This pendant light comes with a mounting unit, mounting screw, wire nut, and cap screw. For any questions, problems, or missing parts, customers can contact Home Decorators Collection Customer Service at HOMEDEPOT.COM/HOMEDECORATORS. The product is covered under warranty for a specific period from the date of purchase and applies only to the original consumer purchaser.
Product Usage Instructions
Before starting the installation process, customers are advised to read all instructions to avoid damaging the product. Assemble the product on a soft, non-abrasive surface like carpet or cardboard. Keep the receipt and instructions for proof of purchase.
Pre-Installation
Inspect the wire insulation for any cuts, abrasions, or exposed copper that may have occurred during shipping. Do not attempt installation if there is a defect in the wire; call customer service instead.
Planning Installation
Gather all the tools required for installation, including a ladder, safety glasses, electrical tape, Phillips screwdriver, flat blade screwdriver, pliers, and wire strippers.
Installation
- Turn off the circuit breaker or remove the fuse at the fuse box before starting the installation.
- Attach the mounting unit to the ceiling using the mounting screw and secure it in place.
- Connect the wires from the mounting unit to the wires from the pendant light using wire nuts. Cover the wire nuts with electrical tape.
- Attach the cap screw to the pendant light and secure it in place.
- Install the light bulbs and adjust the pendant light to the desired height.
- Turn on the circuit breaker or replace the fuse to turn on the power.
If there are any further questions or concerns, customers can contact Home Decorators Collection Customer Service at 1-800-986-3460 or visit www.homedepot.com/homedecorators.
THANK YOU
We appreciate the trust and confidence you have placed in Home Decorators Collection through the purchase of this light fixture. We strive to continually create quality products designed to enhance your home. Visit us online to see our full line of products available for your home improvement needs. Thank you for choosing Home Decorators Collection!
Safety Information
- Consult a qualified electrician if you have any electrical questions.
CAUTION:
Inspect the wire insulation for any cuts, abrasions, or exposed copper that may have resulted during shipping. If there is a defect in the wire, do not attempt installation. Please call our Customer Service Team at 1-800-986-3460.
WARNING:
Before starting installation of this fixture or removal of a previous fixture, disconnect the power by turning off the circuit breaker or by removing the fuse at the fuse box.
Pre-Installation
PLANNING INSTALLATION
- Read all instructions before installation.
- To avoid damaging this product, assemble it on a soft, non-abrasive surface, such as carpet or cardboard.
- Keep your receipt and these instructions for proof of purchase.
TOOLS REQUIRED

HARDWARE INCLUDED

| Part | Description | Quantity |
| AA | Mounting unit | 1 |
| BB | Mounting screw | 2 |
| CC | Wire nut | 3 |
| DD | Cap screw | 4 |
PACKAGE CONTENTS

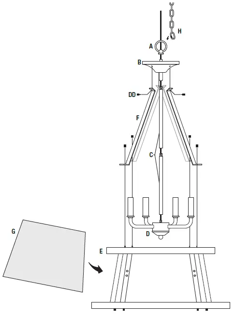
| Part | Description | Quantity |
| A | Loop | 1 |
| B | Decorative column | 1 |
| C | Rod | 2 |
| D | Light fixture | 1 |
| E | Shade | 1 |
| F | Light bracket | 4 |
| G | Glass | 4 |
| H | Chain (w/ quick connector) | 1 |
| I | Canopy | 1 |
Installation
- Assembling the light fixture
- Place the glass (G) into the shade (E) and secure with the tabs.
- Secure the bottom of the light brackets (F) to the top of the shade (E) using the preinstalled finials.
- Attach the metal rods (C) together then connect to the decorative column (B) and light fixture (D).
- Secure the top of the light brackets (F) to the decorative column (B) using the cap screws (DD).
- Screw in the loop (A) to the top of the decorative column (B).
- Secure the chain (H) to the loop (A) on the decorative column (B).
NOTE: Ensure the quick connector is fully closed when installing the chain.
- Attaching the mounting unit and canopy to the junction box
- Attach the mounting unit (AA) to the junction box (not included) with the mounting screws (BB) and remove the pre-installed screw collar ring.
- Place the canopy (I) over the pre-installed screw collar loop on the mounting unit (AA). Screw on previously removed screw collar ring until 1/2 of the screw collar loop threads are exposed.
- Secure the chain (H) to the screw collar loop on the mounting unit (AA).
- Unscrew the screw collar ring and lower the canopy (I) over the chain (H). Weave the electrical wires and ground wires through the chain (H), screw collar loop, canopy (I) and through the center of the mounting unit (AA).
NOTE: Ensure the quick connector is fully closed when installing the chain.
- Making the electrical connection
- Connect the copper wire from the light fixture (A) to the mounting unit (AA) by securing it with the pre-installed ground screw.
- Connect the black to black (power), the white to white (neutral), and copper wire to ground wire with the wire nuts (CC) and secure the wire nuts (CC) with electrical tape (not included).
NOTE: If the wires from the fixture are the same color, attach the side with markings or letters to the black (positive) wire and the other to the white (neutral) wire.
- Securing the light fixture
- Secure the canopy (I) to the mounting unit (AA) with the screw collar ring.

- Secure the canopy (I) to the mounting unit (AA) with the screw collar ring.
- Installing the light bulbs
- Install four E12 candelabra 60-watt bulbs (not included).

- Install four E12 candelabra 60-watt bulbs (not included).
Operation
Turning the light on
Turn the light switch on to activate the fixture.
Care and Cleaning
- Clean the lamp with a soft, dry cloth.
- Do not use any cleaners with chemicals, solvents, or harsh abrasives.
Troubleshooting

Questions, problems, missing parts?
Before returning to the store, call Home Decorators Collection Customer Service
8 a.m. – 7 p.m., EST, Monday – Friday, 9 a.m. – 6 p.m., EST, Saturday
1-800-986-3460
HOMEDEPOT.COM/HOMEDECORATORS
Retain this manual for future use.




















