INDOOR INSTRUCTIONS MANUAL
GS-26-JH10-WH22
61012 Indoor Pendant Light
WARNING: ELECTRICAL SHOCK CAN RESULT IN SERIOUS INJURY.
Read and follow instructions exactly as shown. If instructions are unclear, do not proceed.
Contact a qualified electrician. Read all instructions before beginning. Proper wiring is essential for safe operation of this fixture. When cutting or drilling into walls or ceilings, do not damage electrical wiring, gas lines, or water lines. If any of the fixture or wiring components are damaged, do not install fixture. Return to place of purchase.
If the external flexible cable or cord of this luminaire is damaged, it shall be exclusively replaced by the manufacturer or a qualified electrician in order to avoid a hazard.
ASSEMBLY INSTRUCTIONS FOR INDOOR LIGHTING FIXTURE
Congratulations on your Westinghouse purchase. This fixture has been designed to give you many years of beauty and service. For questions and comments, please visit www.westinghouselighting.eu/contact-us and www.westinghouselighting.de/contact-us
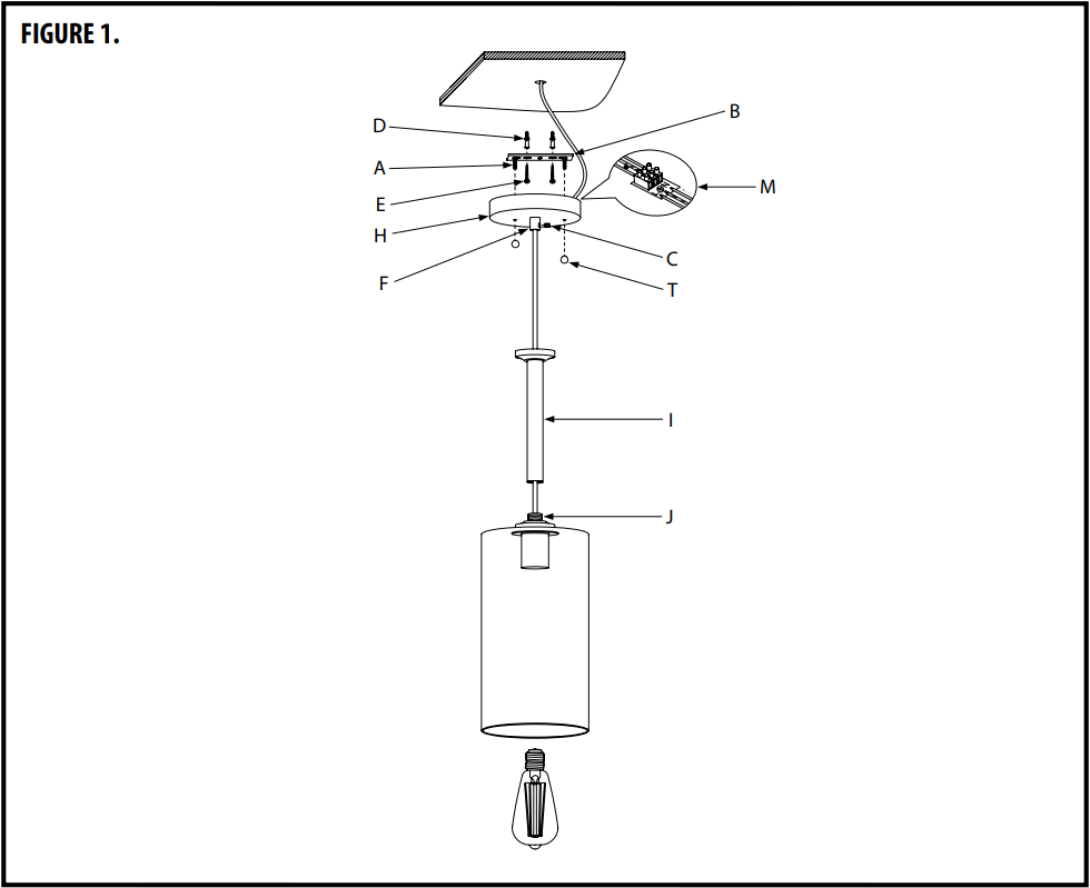
NOTE: Carefully unpack fixture and parts. Make sure all parts are included before discarding any packing materials (see figure 1).

MOUNTING AND WIRING INSTRUCTIONS
NOTE: Line art shown may not exactly match the fixture enclosed. However, the installation instructions do apply to this fixture.
- Thread mounting screws (A) into the matching holes of mounting bar (B).
- Place mounting bar (B) flush against ceiling at desired mounting location. Using outside mounting bar holes as a guide, mark where pilot holes are to be drilled.
- Inset two plastic anchors (D) into the pilot holes (for drywall ceiling).
- Align outside mounting bar holes with plastic anchors (D) (If applicable). Secure mounting bar (B) into place using wood screws (E).
- If need adjusting length of fixture, loosen set screw (C) at the wire nut (F) and carefully insert/pull the cord (G) into/from the canopy (H). Then, secure the set screw (C) at the desired wire location.
- Make an electrical connection by loosening the terminal screws on the terminal block (M) and inserting the live, neutral and ground terminals.
- Tighten terminal screws. Make sure there are no stray wires.
- Raise canopy (H) to ceiling, allowing mounting screw (A) to protrude through openings in canopy (H) and secure into place with cap nuts (T).
- Thread the decorative tube (I) onto the stud (J).
- Install lamp (not supplied). (Please do not exceed the maximum capacity recommended on the socket).
CLEANING AND CARE
To clean, wipe fixture with soft cloth. Clean glass with mild soap. Spray from chemical cleaners can discolor the finish of fixture. Do not use scouring pads, powders, steel wool or abrasive paper to clean this fixture.
Meaning of crossed-out wheeled dustbin:
Do not dispose of electrical appliances as unsorted municipal waste, use separate collection facilities.
Contact you local government for information regarding the collection systems available.
If electrical appliances are disposed of in landfills or dumps, hazardous substances can leak into the groundwater and get into the food chain, damaging your health and well-being.
When replacing old appliances with new ones, the retailer is legally obligated to take back your old appliance for disposal at least free of charge.
Appliance specifications – TECHNICAL CHARACTERISTICS
| Rated voltage | 220-240V~ |
| Rated frequency | 50/60 Hz |
| Rated wattage | E27 Max. 60W |
| Protection class | CLASS I |
| IP number | IP20 |
Distributed by:
Westinghouse Lighting, Krefelder Strasse 562
D-41066 Mönchengladbach / Germany
and Westinghouse are trademarks of
Westinghouse Electric Corporation.
Used under license by Westinghouse Lighting
All Rights Reserved.
Made in China
www.westinghouselighting.eu
www.westinghouselighting.de
GS-26-JH10-WH22
















