Westinghouse W-476 Mini-Pendant Kit

Installation and Safety Instructions
Warning: Be sure the electricity to the wires you are working on is shut off; either the fuse is removed or the circuit breaker is shut off.
GENERAL
You don’t need special tools to install this fixture. Be sure to follow the steps in the order given. Under no circumstances should a fixture be hung on house electrical wires, nor should a swag type fixture be installed on
a ceiling which contains a radiant type heating system. Read instructions carefully. If you are unclear as to
how to proceed, consult a qualified electrician.
WARRANTY
This fixture is warranted against defects in material and workmanship for a period of five years from purchase date. This warranty is in lieu of all other warranties expressed or implied. This warranty does not cover acts of nature such as lightning damage, or corrosion and discoloration of components, nor does it cover damages caused through abuse, improper instal-lation, surges in electric current, or acts of third parties. This warranty does not cover the costs of removing and re-installing the lighting fixture. If this product fails for any reason covered by this warranty, please contact us at www.westinghouselight-ing.com/contact-us.
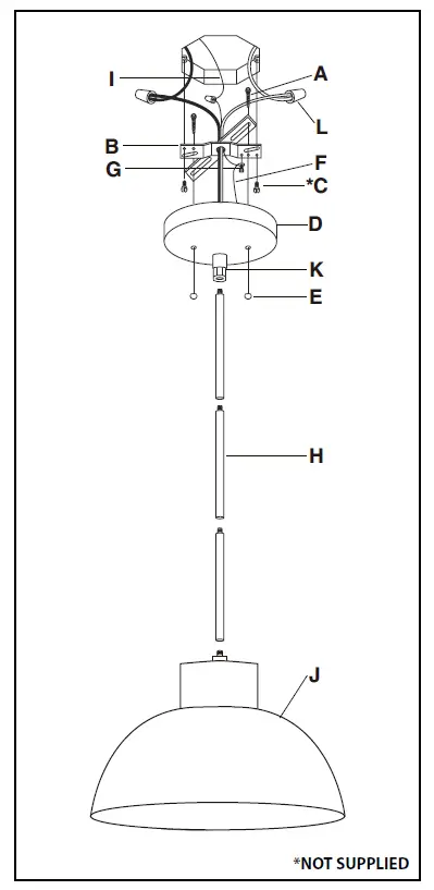
INSTALLATION
Important: Do not attach fixture directly to outlet box.
- Thread mounting screw (A) into the matching hole of cross bar (B).
- Secure the cross bar (B) to outlet box with outlet box screws (C) (not provided).
- Select number of stems (H) to install based on desired fixture length, then connect stems (H) If applicable.
- Thread fixture wires up through stem(s) (H), coupling (K), and canopy (D) (If applicable).
- Thread stem(s) (H) into shade assembly (J) and into coupling (K) (If applicable).

GROUNDING AND WIRING INSTRUCTIONS
- Wrap grounding wire (F) from fixture around green grounding screw (G) leaving enough excess wire, connect the excess grounding wire (F) from the fixture with the grounding wire (I) from outlet box by wire connector (L), then wrap the wire connector (L) with electrical tape for a more secure connection.
- Connect the black wire from the fixture with the black wire (live wire) from the outlet box by wire connector (L), and wrap the wire connector (L) with electrical tape for a more secure connection.
- Connect the white wire from the fixture with the white wire (neutral wire) from the outlet box by wire connector (L), and wrap the wire connector (L) with electrical tape for a more secure connection.
- Tighten grounding screw (G). Do not over tighten.
FINAL ASSEMBLY
- After wires are connected, tuck them carefully inside outlet box. Raise canopy (D) allowing the mounting screw (A) to protrude through the hole in the canopy (D), and secure with ball nut (E).
- Install lamp. (Please do not exceed the maximum capacity recommended on the socket).
CLEANING
To clean, wipe fixture with a soft cloth. Clean glass with a mild soap. Do not use abrasive materials such as scouring pads or powders, steel wool or abrasive paper.
Westinghouse Lighting, Philadelphia, PA 19154-1029, U.S.A. www.westinghouselighting.com
, WESTINGHOUSE, and INNOVATION YOU CAN BE SURE OF are trademarks of Westinghouse Electric Corporation.
Used under license by Westinghouse Lighting.
All rights reserved.
Made in China
















