FISHER PAYKEL RF402BLXFD5 FP GB IE Refrgerator and Freezer

INTRODUCTION
| BRAND | VOLTAGE | MODEL | PRODUCT CODE |
| Fisher & Paykel | 220-240V 50Hz | RF402BLXFD5 FP GB IE | 25964-A |
MODELS
The models covered by this manual are listed on the front cover. The information detailed in this manual is subject to change without notice. The latest version is indicated by the reprint date and replaces any earlier editions.
KIT PARTS
Where a part number is shown against the descriptions for kit components, they are also available as separate items. In addition, some parts may be supplied with these kits that are not available as separate items, and are therefore either not listed, or a part number is not shown against the part description in this manual.
PARTS LIST KEY
| NI | As a part reference, indicates the part is not illustrated on the diagram. |
| NOT USED | As a part number, indicates the diagram part reference is not used in this manual. |
| NS | As a part number, indicates the part is not servicable. |
DOOR COMPONENTS

| REFERENCE | PART NUMBER | PART DESCRIPTION |
| 1 | 820957 | COVER DOOR HINGE LH |
| 2 | 860419 | TRIM DOOR DESIGNER X |
| 3 | 817825P | SCREW #8X22 WAFER PH ST TV (PKT 10) |
| 4 | 820958 | BEARING HINGE WATER LH |
| 5 | 848348P | DOOR PC 635X1052 F SX2 LH |
| Includes 883315 | MAGNET DOOR SWITCH ST4 | |
| 6 | 821099P | GASKET FRAME E402B PC |
| 7 | 819651 | CLOSING HOOK DR STOP GR LH |
| 8 | 814537 | DOOR STOP ASSY |
| 9 | 813931 | BEARING HINGE TOP DOOR FLAT |
| 10 | 849021P | DOOR FC 635X610 F SX2 LH |
| Includes | DOOR FC 635 X 610 F SX LH | |
| Includes 883315 | MAGNET DOOR SWITCH ST4 | |
| 11 | 821100P | GASKET FRAME E402B E372B FC |
| 12 | 883315 | MAGNET DOOR SWITCH ST4 |
| 13 | 813928 | COVER MAGNET DOOR FLAT |
| 14 | NOT USED | ITEM NOT USED IN THIS MODEL |
| 15 | 315017 | KIT COVER DOOR SHELF 635 |
| Includes | COVER DOOR SHELF CLEAR LH | |
| Includes | COVER DOOR SHELF CLEAR RH | |
| 16 | 315017 | KIT COVER DOOR SHELF 635 |
| Includes | COVER DOOR SHELF CLEAR LH | |
| Includes | COVER DOOR SHELF CLEAR RH | |
| 17 | 874973 | SHELF DOOR SML LH 635 WHITE |
| 18 | 876719 | SHELF EGG RACK 635 |
| 19 | 874974 | SHELF DOOR SML RH 635 WHITE |
| 20 | 883121 | DIVIDER BOTTLE RAIL WHITE |
| 21 | 818849 | RAIL BOTTLE SUPPORT 635 SL |
| 22 | 876281P | PLUG DOOR SHELF WHITE (PKT 2) |
| 23 | 883941 | SHELF DOOR LGE 635 WHITE |
| 24 | 860795P | BOSS HANDLE FLAT SPARES KIT |
| 25 | 819646P | SCREW M5X40 CAP (PKT 10) |
| 26 | 820581 | HANDLE D3 612 BRUSHED |
| Includes 837467 | SCREW M5X14 CAP | |
| Includes 819646 | SCREW M5X40 CAP | |
| 27 | 837467P | SCREW M5X14 CAP (PKT 10) |
| 28 | 820582 | HANDLE D3 374 BRUSHED |
| Includes 819646 | SCREW M5X40 CAP | |
| 29 | 839456 | BOOK U&C AA/GB/AE/HK/SG/IE/EU |
| 838360 | BOOK U&C AA/GB/AE/HK/SG/IE/EU | |
| 30 | 813926 | TRIM CORNER DOOR FLAT |
CABINET COMPONENTS

| REFERENCE | PART NUMBER | PART DESCRIPTION |
| 1 | 846779P | COVER HINGE LOW NIW GRY L |
| 2 | 817818P | SCREW M5X20 HEX PH ST TV (PKT 10) |
| 3 | 820861 | BRACKET HINGE IW LH ASSY |
| 4 | 846774P | SUPPORT HINGE LOW NIW |
| NI | 847438 | KIT COVER HINGE LOW GRY LH |
| Includes 846779P | COVER HINGE LOW NIW GRY L | |
| Includes 846774P | SUPPORT HINGE LOW NIW | |
| 5 | 883948P | PLUG TAPPED HOLE SILVER (PKT 3) |
| 6 | 883951 | TRIM CORNER SILVER 680/790 |
| 7 | 880656P | SCREW 10GX25CSK SQ SS (PKT 10) |
| 8 | 881286P | BRACKET CTR HINGE LH (PKD) |
| Includes 883989P | CAP DOOR CLOSING LH HGE BRKT G | |
| 9 | 883989P | CAP DOOR CLOSING LH HGE BRKT G |
| 10 | 837327P | MOD DISP AS U2 INT 6 BUT SVC |
| 11 | 839618 | HARNESS MOLEX 5 WAY SPARES |
| 12 | 820736 | HOUSING FRONT LED PC |
| 13 | 817816P | SCREW 6 X12 AB TRUSS PH ST TV (PKT 10) |
| 14 | 820743P | MOD LAMP AS 2LED ROHS SVC |
| Includes 820736 | HOUSING FRONT LED PC | |
| 15 | 820737 | WINDOW LED PC |
| 16 | 848320P | PC 3W FAN ASSY JST/DCT |
| Includes | FAN HOUSING PC ASSY | |
| Includes | DUCT JUNCTION | |
| Includes | CONNECTOR IDC UP2 (2) | |
| Includes | LABEL WARNING 12 VOLT DC | |
| Includes | SHEET INSTRUCTION PC FAN ASSY | |
| 17 | 836808 | RETAINER & SLIDE 680 RH ASSY |
| Includes 836700 | SLIDE 305 RH ASSEMBLY | |
| Includes 836520P | CLIP SLIDE | |
| 836807 | RETAINER & SLIDE 680 LH ASSY | |
| Includes 836701 | SLIDE 305 LH ASSEMBLY | |
| Includes 836520P | CLIP SLIDE | |
| 18 | 836700 | SLIDE 305 RH ASSEMBLY |
| Includes 836520P | CLIP SLIDE | |
| 836701 | SLIDE 305 LH ASSEMBLY | |
| Includes 836520P | CLIP SLIDE | |
| 19 | 836520P | CLIP SLIDE (PKT 2) |
| 20 | 836545 | RETAINER SLIDE FC B RH |
| 836546 | RETAINER SLIDE FC B LH | |
| 21 | 836702 | SLIDE 355 RH ASSEMBLY |
| Includes 836520P | CLIP SLIDE | |
| 836703 | SLIDE 355 LH ASSEMBLY | |
| Includes 836520P | CLIP SLIDE | |
| 22 | 884011 | COVER REED SWITCH ST4 SILVER |
| 881420 | COVER REED SWITCH WHITE ST4 | |
| 23 | 814443P | SWITCH REED FIELD FIX KIT ST4 |
| Includes | HEATSHRINK 1/8’’ MW ADHESIVE LINED | |
| 24 | 836593 | DUCT RETURN AIR FC 635 |
| 25 | 883953P | CAP SCREW CROSS RAIL SILVER |
| 880595P | CAP SCREW CROSS RAIL WHITE | |
| 26 | 817822P | SCREW #10X19 AB #2 SQ TV (PKT 10) |
| 27 | 847316P | RETAINER WHEEL STEEL KIT |
| Includes | RETAINER WHEEL STEEL | |
| Includes | SCREW 8-32X8 TY T PAN PH TV | |
| Includes | ROLLER FOOT FRONT | |
| Includes | PIN ROLLER PLATED | |
| 28 | 818612P | BRACKET HINGE BASE LH (PKD) |
| Includes 883989P | CAP DOOR CLOSING LH HGE BRKT G | |
| 29 | 813481 | BOLT BLIND END HINGE BRACKET |
| 30 | 818535 | FOOT LEVELLING ASSEMBLY |
| Includes | WHEEL LEVELLING FOOT ASSY | |
| Includes | BASE LEVELLING FOOT | |
| 31 | 821037 | SHELF GL PC 635 ASSY SC |
| Includes | SHELF GLASS PC 635 | |
| Includes | TRIM SHELF PC 635 SC | |
| Includes | STIFFENER SHELF PLASTIC PC SC | |
| Includes 836567 | PLUG TRIM SHELF RH | |
| Includes 836568 | PLUG TRIM SHELF LH | |
| 32 | 836852 | SHELF GL HCL 635B ASSY SC |
| Includes | SHELF GLASS PC 635 | |
| Includes | TRIM SHELF HCL 635 SC | |
| Includes | STIFFENER SHELF PC 635 SC | |
| Includes 836567 | PLUG TRIM SHELF RH | |
| Includes 836568 | PLUG TRIM SHELF LH | |
| Includes 836580 | RETAINER HCL FRONT 635 | |
| Includes 836729 | LID HUMIDITY CONTROL 635B | |
| Includes 836631 | SLIDE CONTROL HUMIDITY RH | |
| Includes 836633 | SLIDE CONTROL HUMIDITY LH | |
| Includes 836632 | GUIDE CONTROL HUMIDITY RH | |
| Includes 836634 | GUIDE CONTROL HUMIDITY LH | |
| 33 | 836729 | LID HUMIDITY CONTROL 635B |
| 35 | 836580 | RETAINER HCL FRONT 635 |
| 36 | 836631 | SLIDE CONTROL HUMIDITY RH |
| 836633 | SLIDE CONTROL HUMIDITY LH | |
| 37 | 836632 | GUIDE CONTROL HUMIDITY RH |
| 836634 | GUIDE CONTROL HUMIDITY LH | |
| 38 | 836522 | BIN SMALL |
| 39 | 836512 | TRAY 635 |
| 40 | 836585 | SKID TRAY RH |
| 836586 | SKID TRAY LH | |
| 41 | 836517 | WHEEL & CHASSIS ASSEMBLY (PKT 2) |
| 42 | 836659 | BIN LARGE 635 ASSY |
| 43 | 874107 | TRAY ICE BASE |
| 44 | 874108 | TRAY ICE LID |
| 45 | 860593 | BOTTLE HOLDER SINGLE |
JOINER KIT FOR SIDE BY SIDE CABINET CONNECTION
Used for combining any of the the following 1695mm high cabinet models: N388 ,C450, E402B, E411T, E415H, E440T, E442B, E521T and E522B
| NI | 819264 | KIT JOINER SILVER |
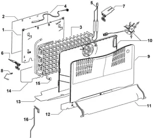
FAN COVER & EVAPORATOR COMPONENTS

| REFERENCE | PART NUMBER | PART DESCRIPTION |
| 1 | 814446 | CHASSIS EVAP 635 B |
| 2 | 880423P | DEF HRT CHASSIS |
| 3 | 837332P | EVAP ASSY 635B 230V DP |
| Includes | EVAPORATOR FINNED 635 R600A | |
| Includes 814446 | CHASSIS EVAP 635 B | |
| Includes 814631 | SHIELD EVAP B CHASSIS | |
| Includes 821875 | HEATER DEFROST DBLE 230V 635 | |
| Includes 880423P | DEF HRT CHASSIS | |
| Includes 820604 | CLIP EVAP BAFFLE | |
| Includes 813992 | CLIP ACTIVE SMART BAFFLE | |
| Includes 820835 | CLIP DEFROST HEATER B SHORT (2) | |
| Includes 814460 | HARNESS EARTH 100MM | |
| Includes | CABLE TIE 200MMX3.6 | |
| 4 | 855203P | SENSOR KIT ASSY |
| Includes | CONNECTOR BUTT | |
| Includes | HARNESS SENSOR PC | |
| 5 | 821875 | HEATER DEF DBL 230V 635 |
| NI | 821745 | COVER PLUG TYCO |
| 6 | 813992 | CLIP ACTIVE SMART BAFFLE |
| 7 | 820604 | CLIP EVAP BAFFLE |
| 8 | 814460 | HARNESS EARTH 100MM |
| 9 | 883289 | COVER FAN FC FRONT B |
| 10 | 848314P | FAN FC 3W KIT 635 SERIES A TO |
| Includes 880409P | COVER HEAT SHIELD ALUM 635 | |
| Includes | COVER FAN FC REAR 635 | |
| Includes | CONNECTOR IDC UP2 (2) | |
| Includes | FAN DC SUSPENDED FC ASSY | |
| 11 | 836593 | DUCT RETURN AIR FC 635 |
| 12 | 880409P | COVER HEAT SHIELD ALUM 635 P42 |
| 13 | 872831 | SHIELD DRAIN HTR DEFROST 635B |
| 14 | 814631 | SHIELD EVAP B CHASSIS |
| 15 | 820835 | CLIP DEFROST HEATER B SHORT |
| 16 | 821251 | WIRE DRAIN HEATER DOUBLE B |
DUCT COVER COMPONENTS


| REFERENCE | PART NUMBER | PART DESCRIPTION |
| 1 | 837405 | COVER DUCT PC TOP B |
| 2 | 873950 | INSULATION COVER DUCT LONG B |
| 3 | 855203P | SENSOR KIT ASSY |
| Includes | CONNECTOR BUTT | |
| Includes | HARNESS SENSOR PC | |
| 4 | 836861 | COVER DUCT PC B LONG WATER |
| 5 | 813287 | GRILLE PC RETURN AIR B MODEL |
| 6 | 872823 | INSULATION INSERT PID |
TERMINAL, PLUGS & SOCKETS

NOTE: THAT IN THE PART NAMES OF THESE CONNECTORS, THE -02- REFERS TO IT BEING A 2 WAY CONNECTOR, AND THE -AB01-(FOR EXAMPLE) REFERS TO THE CODING OF THE CONNECTOR.
NOTE: TO MINIMISE THE NUMBER OF SPARE PARTS THAT NEED TO BE CARRIED, THESE CODED CONNECTORS ARE TO BE REPLACED WITH THEIR UNCODED EQUIVALENTS FOR THE 3, 5 AND 6 WAY CONNECTORS USED ON STAGE 4 CABINETS.
| REFERENCE | PART NUMBER | PART DESCRIPTION | COMMENTS |
| 1 | 819607P | TERMINAL SYF-01T PKT 10 | 26/20 AWG |
| 819608P | TERMINAL SYF-41T PKT 10 | 20/16 AWG | |
| 2 | 819609P | PIN/TERM SYM-01T PKT 10 | 26/20 AWG |
| 819610P | PIN/TERM SYM-41T PKT 10 | 20/16 AWG | |
| 3 | 819615 | JST SOCKET 2PIN YLR-02V | |
| 819616 | JST SOCKET 3PIN YLR-03V | ||
| 819617 | JST SOCKET 4PIN YLR-04V | ||
| 819618 | JST SOCKET 6PIN YLR-06VF | ||
| 819619 | JST SOCKET 8 PIN YLR-08V | ||
| 4 | 819611 | JST PLUG 2PIN YLP-02V | |
| 819612 | JST PLUG 4PIN YLP-04V | ||
| 819613 | JST PLUG 6PIN YLP-06V | ||
| 819614 | JST PLUG 8PIN YLP-08V | ||
| 5 | 819620 | RETAINER 2 WAY YLS-02V | |
| 819621 | RETAINER 3 WAY YLS-03V | ||
| 6 | 881588 | CONNECTOR RAST 9290-02-AB01 | MAINS CORD |
| 881589 | CONNECTOR RAST 9290-02-BA01 | DEFROST HEATER | |
| 881590 | CONNECTOR RAST 9290-02-EE01 | RUN CAPACITOR | |
| 7 | 881591 | CONNECTOR RAST 9290-04-EF02 | COMPRESSOR CABLE |
| 8 | 873251 | CONNECTOR RAST 7234-003-500 | |
| 873250 | CONNECTOR RAST 7234-004-500 | ||
| 881135 | CONNECTOR RAST 7234-005-500 | ||
| 873247 | CONNECTOR RAST 7234-006-500 | ||
| 873279 | CONNECTOR RAST 7234-008-500 | ||
| 873248 | CONNECTOR RAST 7234-010-500 | ||
| 873243 | CONNECTOR RAST 7234-012-500 | ||
| 881136 | CONNECTOR RAST 7234-014-500 | ||
| 881137 | CONNECTOR RAST 7234-017-502 | ||
| 9 | 820687P | ADAPTOR JST REC TO MOLEX KIT | |
| Includes 884412 | COVER PLUG MOLEX | ||
| 10 | 820688P | ADAPTOR JST PLUG TO MOLEX KIT | |
| Includes 884412 | COVER PLUG MOLEX |
NOTE: THE NUMBERS IN THE DESCRIPTION OF THE RAST CONNECTOR DENOTES THE NUMBER OF CONNECTIONS – EXAMPLE: 7234-017-502 =17 WAY CONNECTOR
COMPRESSOR AREA COMPONENTS

| REFERENCE | PART NUMBER | PART DESCRIPTION |
| 1 | 874881 | PANEL BACK ASSY 400H,395B,N388 |
| 2 | 814684 | TUBE EVAP TRAY FORMED H/SHRINK |
| 3 | 815236P | SCREW 12X1/2 TAB CSK PH (PKT 10) |
| 4 | 820734 | TRAY EVAP AS |
| 5 | 817817P | SCREW #8X12 SP PAN NIB ST TV (PKT 10) |
| 6 | 207432P | COMPR PKD EMB VESD9CEVO |
| includes | COMPR EMB VESD9CEVO | |
| includes 207310 | COVER PROTECTOR VEM | |
| includes 814843 | FILTER PREBRAZED LONG TAIL | |
| includes | PIN LOCKING COMP | |
| includes | POST COMP MOUNTING 26MM (4) | |
| includes | GROMMET COMPR MTG 26MM (4) | |
| includes | CLIP FOOT COMPRESSOR (4) | |
| 7 | 207436 | INVERTER VEMC9C 230V |
| 8 | 855270P | CLIP FOOT COMPRESSOR (PKT 4) |
| 9 | 849622P | GROMMET 16.5MM KIT 4 PACK |
| includes | POST COMP MOUNTING 16.5MM | |
| includes | GROMMET COMPR MTG 16.5MM | |
| includes | CLIP FOOT COMPRESSOR | |
| 10 | NA | REFER TO ITEM #9 – KIT ONLY |
| 11 | 814843P | FILTER LONG TAIL XH9 12GRM |
| 12 | 820335 | TRAY COMP MOUNTING 635VCC |
| 13 | 817829P | SCREW 8X16 SP PAN NIB TV (PKT 10) |
| 14 | 813271 | CLIP INVERTER MOUNTING |
| 15 | 817828P | SCREW 8-32X8 TY T PAN PH TV (PKT 10) |
| 16 | 847818P | MOD CNTRL F AS51 120-230V SVC |
| 17 | 817837 | CABLE SUPPLY SING/UK |
| 18 | 884242 | HARNESS VCC SIGNAL |
| 19 | 884243 | HARNESS VCC POWER |
| 20 | 821259 | TUBE SUCT CAP ASSY 5/16 ROHS |
© Fisher & Paykel Appliances 2020. All rights reserved. The models shown in this guide may not be available in all markets and are subject to change at any time. The product specifications in this guide apply to the specific products and models described at the date of issue. Under our policy of continuous product improvement, these specifications may change at any time. For current details about model and specification availability in your country, please go to our website or contact your local Fisher & Paykel dealer.
PRODUCT CODE: 25964-A 08.20



















