
Installation Manual
Wall Mount Support
WB20GB/WB20GD
Before use of this product, please read “Safety Precautions” to ensure trouble-free use. After reading the installation manual, store it in a convenient place for future reference.
Accessories
Precautions for Safety
– Professional installers should read this manual carefully to ensure proper installation.
– Professional installers should forward this manual to customers after installation and encourage them to read and store it in a convenient place for future reference.
After reading the installation manual, keep it in a convenient place for future reference.
Caution
Ask a professional installer appointed by the store for the installation of the product.
Installation by someone other than a professional installer is extremely dangerous and may result in personal injury.
Contact a professional installer appointed by the store prior to moving or replacing the product after installation.
Installation is a technical task and safety issues may arise if an individual attempts to install or move the product personally.
When installing the product on a wall, do not hang the power line or signal cables from the back of the TV.
This can damage the cords, resulting in a fire, electrical shock or malfunction of the product.
Do not install the product in an unstable site that cannot withstand its weight.
If the installation site lacks sufficient rigidity, the product may fall and cause personal injury.
Do not hang on the product or subject it to severe impact after installation.
Doing so may cause the product to fall and cause personal injury.
Warning
Install the product according to the instructions in the installation manual.
Failure to install the product according to the instructions in the installation manual can result in serious personal injury or product damage.
Make sure a wall is available prior to proceeding with the installation. Make use of the anchors and screws provided with the product.
The use of any unauthorized anchors or screws may not support the product’s weight, which poses safety risks.
Do not wipe the product with a wet towel or use any heating equipment or humidifier under the place where the product is installed.
Liquid water or vapor may enter the product and excessive heat may cause fire, electric shock, or malfunction.
Unplug the product’s power cord from the wall outlet before installing.
Installing the product while the power cord is plugged in may result in electric shock or fire.
Connect the product with the supplied cable. The use of an unauthorized cable may result in damage by friction with the wall. Make sure to use the supplied cable gender.
(This may vary by model.) Be sure to have at least two people when installing the product or adjusting the product’s height after installation.
Attempting to perform installation or adjustments personally may result in personal injury or damage to the product.
When drilling in the wall for installation, be sure to use drill bits and drills of the specified diameter. Follow the instructions for the hole depth.
Drilling and installing the product in ways other than specified in the installation manual may result in an unstable installation and potential safety issues.
Do not install the product near a fire sprinkler or detector, a place where vibration or shock may occur or near a high-voltage wire or power source.
Do not install the product with bare hands. Be sure to wear work gloves.
Attempting installation without work gloves may cause personal injury.
Before Installation
- Do not use the product for any purpose other than installing the TV on a wall.
- Avoid product damage and safety accidents caused by the careless installation or use of improper or unauthorized wall mounts.
- Follow the instructions in the installation manual for a convenient installation of the wall mount.
- Immediately discontinue installation and contact the service center if you cannot fully understand the installation process. Use a professional installer if any installation issues remain after the inquiry.
- Installation of this product on a concrete wall or wood stud is recommended. Installation of this product on other surfaces (Drywall, plywood, bricks, etc.) is not recommended. Improper installation may result in the product falling.
- When installing the Full Contact Wall Mount, the TV may not be contacted firmly against the wall due to some wall conditions.
- Install the product only on a vertical wall. Do not install on a tilted wall that exceeds building standards or on the heavily titled wall or ceiling. LG is not responsible for problems caused by improper installation of the product, e.g., heavily tilted walls and ceilings.
- Check the enclosed accessories before installation. We are not responsible for any lost or damaged accessories after the inner packaging is opened.
- When an infant or small child swallows the enclosed accessories, various safety accidents such as choking may occur. Keep the enclosed accessories out of the reach of infants and children.
- When tightening screws, tighten until fully snug. Avoid using excessive force when tightening the screws. Doing so may damage the wall and product or reduce the rigidity or performance of the product.
- Avoid installing a TV that exceeds the specified tensile load, and do not allow any external force to be applied to the product.
- Avoid accidents by using work tools with care during installation.
- After installing the product, ensure its use in close contact with a wall. If the product is not positioned against a wall, the product may be unstable or damaged.
<Tools for Installation>
“+” shaped screwdriver (manual or electric) / level/drill/Ø 8 mm drill bit for concrete or Ø 4 mm drill bit for steel
How to fix the TV on the wall

- Please use the TV close to the wall after installation.
How to install
– The appearance of tools may differ from the enclosed images.
– Always consult a professional when installing a wall mount.
- Watch the installation video
https://www.lg.com/global/how-to-install-gallery-design-tv
For more information, watch the installation video on your smart device. - Wearing gloves

- Releasing the VESA screw on the TV
For the 75NANO99 model, please release the VESA screw before installation. - Attaching the guide paper to the wall
Attach the guide paper to the wall when determining the TV’s installation site.
– Ensure the guide paper is level when attaching it to the wall.
– When attaching the paper, consider the positions of the outline and center of the TV. - How to fix anchors and screws
Please make sure that:
– Check that the material and thickness of the wall and finishing material comply with the installation manual. Before beginning the mounting process, you must be sure the wall is able to support the weight of the TV.
– Should use the enclosed anchors and screws on crack-free concrete walls. Never install the product on plasterboard or wall made of paper or medium-density fiberboard (MDF). When it is necessary to install the product on such wall, anchor screws must be fastened to retaining walls (concrete) or wood Stud inside the finishing material.
– The wall mount should be attached to a stud. This usually will not be a problem, but depending on individual circumstances, there may be cases when the ability to mount into a stud is not possible. In this case, there are a variety of drywall anchors, such as toggle bolts, which may provide a solution. If using drywall anchors, please be sure the anchors and the wall have the ability to support the weight of your TV. Please note that the supplied anchors may not be the correct ones for your individual situation, so you should check with a local professional.
– Other unspecified walls must be capable of supporting pullout loads of over 70 kg (154 lbf) (686 N) and shear loads of over 100 kg (220 lbf) (980 N) per fastener.
– Use an Ø 8 mm drill bit for concrete and a hammer (impact) drill or Ø 4 mm drill bit for wood stud to drill holes.
(For installation on the concrete wall)
Anchors for fixing the wall mount
Screws for fixing the wall mount
a. Drill holes in anchor locations with a drill bit of Ø 8 mm to a depth of 80 mm (3.1 inches) to 100 mm (3.9 inches).
b. Clean the drilled holes.
c. Insert the enclosed anchors for fixing the wall mount into the holes. (Use a hammer when inserting anchors.)
d. Push the wall mount support closely toward the wall to match the hole locations.
e. Tighten screws for fixing the wall mount to the holes. At this time, tighten the screws with the torque more than 45 kgf/cm (39.0 lbf/in) to 60 kgf/cm (52.0 lbf/in).
(For installation on a wood stud)
Use the Ø 4 mm drill bit for wood to drill holes with a depth of 76 mm (2.9 inches). (Clean the drilled hole.)
Without using the wall mounting anchor, fasten the wall mounting screw directly to the wood stud.

- How to install the wall mount support
– Installation of this product on a concrete wall is recommended. Installation of this product on other surfaces (walls made of wood, plywood, bricks, etc.) is not recommended. Improper installation may result in the product falling.
→ Align the wall mount support with the wall where you want to install the wall mount support, mark the places where the wall screws will be fixed and remove the wall mount support.
→ Refer to the following picture to fix the wall mount support.
→ Use a level to verify that the wall mount is positioned horizontally.
→ If the screw cannot be tightened in the designated position, do so in the position nearest the original. However, do not change more than 2 positions from the designated position.
→ Fix 2 wall mount fixing screws each on the top left and right and 2 others each on the bottom left and right.
→ At this time, use a “+” shaped screwdriver (manual or electric) to turn the screw so that the wall, the wall mount support, and the screws come into close contact.
How to combine the wall mount support and TV

- Pull the wall mount support installed on the wall forward as far as possible.
– You can use tools if necessary.
- Fold the installation guide label into an L shape.
– Take 2 pieces of guide labels out of the plastic bag provided in the box and fold them.
- Attach the L-shaped installation guide labels to the top surface of the wall mount.
– Make sure the adhesive side of the installation guide label is attached.
– Attach them along the guideline shown on the top of the wall mount. (2 spots on the left and right)
- Fold the anti-slip paper box into a square.
– Take out the anti-slip paper box and fold it into a square using the fold line.
– Press the marked area to fix it.
- Insert the anti-slip paper box inside the wall mount support so that the wall mount support is not pushed back during TV installation.
– Insert the anti-slip paper box with the arrow on it pointing forward and backward at the top.
– After inserting the anti-slip paper box, slide the wall mount support to keep it tight to make sure the box does not fall.
- Slide open the 2 safety pins located on the left and right of the wall mount support.

- Connect the cables while the TV is lying down and organize them. Use the 2 holders for organizing and aligning the cables correctly. Caution: Keep the cables within the designated area. (Cables outside the designated area may prevent the TV from being attached to the wall.)

- Attach the L-shaped installation guide labels to the top surface of the TV guide spacer.
– Take 2 pieces of guide labels out of the plastic bag provided in the box and fold them the same way as in Step 2.
– Make sure the adhesive side of the installation guide label is attached.
– Attach them to the guideline shown on the TV. (2 spots on the left and right)
- Attach the TV to the wall mount.
– Use the installation guide labels to check the approximate position to be combined.
– Hook the TV with the spacer screws to the wall mount support attached to the wall.
: With the TV in close contact with the wall mount support, lower the TV to the point where the installation guide labels overlap so that the spacer screws hang on the wall mount.
– Make sure that the product is fixed securely by pulling the bottom of the TV.
– When fixing the TV to the wall with the speakers combined, hold the TV and lift it up instead of the speakers.
Caution: Be sure to have 2 or more people for the job.
(If you try doing this work alone, the product may fall and cause personal injury or damage to the product.) Be careful not to pinch the power cord between the wall mount support and the TV during assembly. (The product may be damaged if the power cord is pinched.)
- Slide the 2 safety pins located on the left and right of the wall mount support to the closed position. Caution: Make sure the safety pins are closed and fixed.
(If the safety pins are not closed, the product may move and fall causing personal injury or damage to the product.)
- Remove the anti-slip paper boxes and guide papers.

- Push the TV until it makes close contact with the wall.
– Gently push the upper and lower sides of the TV.
– Gently push the upper center of the TV so that the TV completely sticks to the wall.
Caution: Do not apply excessive force. Screen damage may occur.
- Adjust the product’s position by hand so it’s horizontal.
– Push the side of the TV with your hand and move it in the desired direction.
- You may purchase commercially available cable management to organize the cables in this way.
How to connect additional cables while watching TV

- Pull the TV forward.
– Gently pull the top and bottom sides of the TV, and pull from the left side to check where the cables connect.


- Once the TV has been pulled out, you can now begin connecting the cables.
– Getting as far behind the TV as possible, line up your cables utilizing the two cable holders.
– For larger models, connect the cables to the holder at the left side of the TV, and to the center holder by lifting up the lower side of the TV.
Caution: Make sure the cables are not placed outside the designated area.
(Cables outside the designated area may prevent the TV from being attached to the wall.)
- Push the TV until it makes close contact with the wall.
– Push the left part of the TV to make it parallel, then gently push on the top and bottom of the TV.
– Push the top center of the TV once more to make it contact with the wall completely.
Caution: Do not apply excessive force. Screen damage may occur.
- If the left and right levels do not match after the product is reinstalled, adjust it by hand to make them parallel.
– Push the side of the TV with your hand and move it in the desired direction.
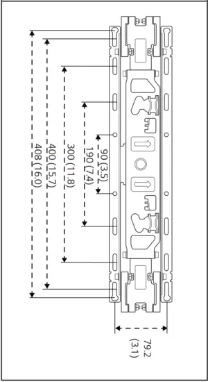
Product Specifications
![]() | ![]() |
| Model name | WB20GB/WB20GD |
| Width (mm (inches)) | 452 (17.7) |
| Height (mm (inches)) | 96 (3.7) |
| Depth (mm (inches)) | 13 (0.5) |
| Weight (kg (lbs)) | 1.0 (2.2) |
| Maximum tensile load (kg (lbs)) | 50 (110.2) |

www.lg.com
Printed in Korea
Copyright © 2020 LG Electronics Inc.
All Rights Reserved.
Precautions for Safety

For the 75NANO99 model, please release the VESA screw before installation.
Attach the guide paper to the wall when determining the TV’s installation site.
Anchors for fixing the wall mount
Screws for fixing the wall mount
Without using the wall mounting anchor, fasten the wall mounting screw directly to the wood stud.

→ Align the wall mount support with the wall where you want to install the wall mount support, mark the places where the wall screws will be fixed and remove the wall mount support.


































