HUBBEL Twist Lock Edge Screwless Termination Receptacles

Installation Instructions
- Wire size must comply with the N.E.C. and local electrical codes.
- Terminal Capacity: SOLID WIRE: 14 AWG – 10 AWG STRANDED WIRE: 14 AWG – 8 AWG (including compact stranded)
- Use copper wire only. Do not tin conductors.
- Strip all wires to 0.600in. [15.24mm] per strip length on back of device.
- Insert wire into terminal opening, push plunger towards wire and release. Each terminal is for use with one conductor only.
- Repeat for other terminals and ensure wires are properly secured.
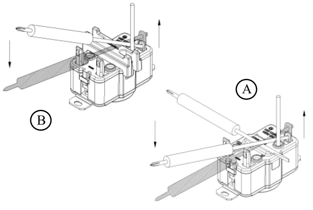
- To release wire, place screwdriver into slot in plunger (from side facing terminal openings) and use A) additional screwdriver perpendicularly underneath as pivot point or B) bridge removal tool (only provided with multi pack) as pivot point then lift upward until plunger snaps into upward position to remove wire. Caution, lifting plunger beyond detent position can damage device
To Install Wire

To Release Wire

3-wire device shown, 5-wire devices provided with leaded ground wire which should be properly terminated per the N.E.C. and local electrical codes
Modelo: _____________________ Marca: ___________________ Fecha de compra: ____________________
Importado por HUBBELL PRODUCTS MÉXlCO S. DE R.L. DE C.V.
Calle 5 Sur # 104, Parque industrial Toluca 2000, Toluca Edo de México. C.P. 50200
Tel.:(722) 980 0600
Wiring Device-Kellems
Hubbell Incorporated (Delaware)
Shelton, CT 06484
1-800-288-6000
www.hubbell-wiring.com
PD2880 (Page 1) 03/22



















