Innovative VTA380SB The Victrola Ellington Instruction Manual

![]()
CAUTION: To reduce the risk of fire or electric shock, do not expose this appliance to rain or moisture.
Important Safety Instructions
- Read these instructions -All the safety and operating instructions should be read before this product is operated .
- Keep these instructions-The safety and operating instructions should be retained for future reference.
- Heed all warnings-All warnings on the appliance and in the operating instructions should be adhered to.
- Follow all instructions -All operating and use instructions should be followed.
- Do not use this apparatus near water – The appliance should not be used near water or moisture – for example, in a wet basement or near a swimming pool, and the like.
- Clean only with dry cloth.
- Do not block any ventilation openings. Install in accordance with the manufacturer’s instructions.
- Do not install near any heat sources such as radiations, heat registers, stoves, or other apparatus (including amplifiers) that produce heat.
- Protect the power cord from being walked on or pinched particularly at the plugs, convenience receptacles, and at the point where they exit from the apparatus.
Only use attachments/accessories specified by the manufacturer.- Use only with the cart, stand, tripod, bracket, or table specified by the manufacturer, or sold with the apparatus. When a cart or rack is used, use caution when moving the cart/apparatus combination to avoid injury from tip-over.
- Unplug the apparatus during lightning storms or when unused for long periods of time.
- Refer all servicing to qualified personnel. Servicing is required when the apparatus has been damaged in any way, such as power supply cord or plug is damaged, liquid has been spilled
or objects have fallen into the apparatus has been exposed to rain or moisture, does not operate normally, or has been dropped. 
-This lightning flash with arrowhead symbol within an equilateral triangle is intended to alert the user to the presence of non-insulated “dangerous voltage” within the product’s enclosure that may be of sufficient magnitude to constitute a risk of electric shock.
-Warning: To reduce the risk of electric shock, do not remove cover (or back) as there are no user serviceable parts inside. Refer servicing to qualified personnel.
-The exclamation point within and equilateral triangle is intended to alert the user to the presence of important operating and maintenance instructions in the literature accompanying the appliance.- This equipment is a Class II or double insulated electrical appliance. It has been designed in such a way that it does not require a safety connection to electrical earth.
- The mains plug is used as disconnect device, the disconnect device shall remain readily operable.
- WARNING
To reduce the risk of fire or electric shock, cl□ not expose this apparatus to rain or moisture. The apparatus shall not be exposed to dripping or splashing ankle that no objects filled with liquids, such as vases, shall not be placed on apparatus. - The use of the equipment in moderate climate.
- The ventilation should not be impeded by covering the ventilation openings with items such as, newspapers, tablecloths, curtains, etc.
- No naked flame sources, such as lighted candles, should be placed on the apparatus.
- The symbol with ,..___,, Indication AC voltage.
- CAUTION: These servicing instructions are for use by qualified service personnel only. To reduce the risk of electric shock, do not perform any servicing other than that contained in the operating instructions unless you are qualified to do so.
ACCESSORIES INCLUDED:
- RCA LINE OUT CABLE
- INSTRUCTION MANUAL
- WARRANTY (BACK OF MANUAL)
- 45 RPM ADAPTER
- TURNTABLE OPERATION SHEET
Product Overview
Front View

- Volume Button: Turn to adjust volume
- Power: Press to tum the unit on or off
- Function Selection Button: FM, CD, Bluetooth, AUX, PH ONO
- Stop ( ■): In CD mode, press to stop playback.
- Play/Pause (►II) and Bluetooth Pairing:
In CD mode: press to play CD, press again to pause.
In Blue tooth mode: press to pair to Blue tooth.
In FM/COIA UXIPHONO mode: press and hold to begin Bluetooth streaming (to any external
Bluetooth speaker or headphone.) - Previous Track (
):
In CD & Bluetooth mode: press once to replay current track;
In CD mode: press and hold to rewind current track. - Next (►►):
In CD & Bluetooth mode: press once to skip the current track; In CD mode: press and hold the button to fast forward current track. - Open/Close(
): In CD mode: use to open and close the disc tray - Disc Tray
- LED Display
- Tuning Dial: In FM mode, turn to tune in a station.
- Tuner
Rear View

- Line-Out Jack
- Aux-In Jack
- AC Power Cord: Connect the AC plug into a wall outlet.
(It is strongly recommended that this product should be operated only from the type of power source indicated on the marking label.)
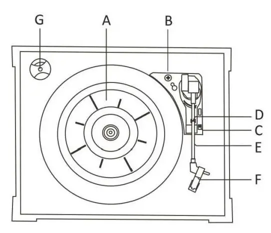
Parts of the Turntable
- A. Turntable
- B. Safety Screw (for transport): Before using the unit, turn the
screw clockwise using a coin or screwdriver.
Important:
When you transport the unit, tum the screw counter clockwise
to secure the turntable. - C. Speed Selector
- D. Tone Arm Holder
- E. Tone Arm: Before use, completely loosen the twist
tie on the tone arm and uplift tone arm. - F. Stylus
- G. 45 RPM Adaptor

Setup/ Basic Operation
Setup
- Remove white protective needle cover by gently pulling towards front of unit.
- Remove any packaging materials from the unit.
- Connect the AC power cord into AC connection socket and then insert the AC plug into a wall outlet.

Note:
-It is strongly recommended that this product should be operated only from the type of power source indicated on the marking label.
-To prevent interference, avoid bundling audio signal cables together with the AC power cord.
Basic Operation
- Press the POWER button to turn the unit on. The LED display will illuminate.
- Select the source by function selection button (FM/BLUETOOTH/AUX/PHONO).
- Rotate the Volume knob to adjust to the desired sound level.
Listening through RCA LINE OUT
For amplifier device listening, first reduce the volume level to minimum. Insert the white and red plugs of the RCA cable into the corresponding colors on the unit. Then insert the opposite end into the amplifier device.
Be sure to connect the white plug to the white jack and the red plug to the red jack.
CONDENSATION WARNING:
When the unit is moved from a cold or warm place, or is used following a sudden temperature change, there is the danger that water vapor in the air may condense on the unit, preventing proper operation. In such cases, leave the unit for 1-2 hours after plugging it into an AC outlet to allow it to stabilize at the temperature of its surroundings.
Listening to a Vinyl Record
- 1. Press the Function button to select the “PH On” function.
- Gently open the top cover.
Note: Be careful not to pinch your finger when opening/closing the top cover. - Place a vinyl record on the turntable. When playing a 45 RPM record, use the included adaptor.
- Select the appmpriate speed.

- Remove the tone arm-rest holder to release the tone arm.

- Move the tone arm gently to the edge of the record (or the starting point of a track).
The turntable will begin to turn. - When the record reaches the end, the tone arm will stop at the center of the record. Lift and return the tone arm to the tone arm rest manually. Lock the tone arm-rest holder to protect the tone arm.
Important:
– Closing the top cover will help prevent dust from settling on the turntable.
– Always relock the tone arm clip before transporting the unit.
– Do not place anything on top of the turntable cover, especially while playing a record.
Listening to a CD
- Select “CD” function.
(Note: When no disc is set, “no” will appear on the display.) - Press the OPEN/ CLOSE (~) button
(Note: This button only works in CO mode.) - Place a disc on the tray with the printed label face up.
- Press the OPEN/CLOSE button (
) to close the tray. - Press the PLAY/PAUSE button ( ►11) to begin playback.
(Note: The CO playback will start automatically) - To temporarily pause playback, press the PLAY/PAUSE button ( ►II ). Press again to resume.
- To skip tracks forward or backward, press the corresponding skip button. Pressing (
)once will restart the current track. Pressing (
) will return to the beginning of the previous track. - To fast forward/ rewind within a track, press and hold down the corresponding skip button until the
desired position is reached. - To stop playback, press the STOP (■ ) button.

Important:
– Never place more than one disc on the tray
– The disc must be placed in the center of the disc tray An incorrectly loaded disc can permanently damage the tray door mechanism.
– Do not push the CO tray- always use the OPEN/CLOSE button.
– It takes a moment for the unit to load a disc, during which all buttons will be temporarily deactivated.
Listening to the FM Radio
- Press function selection button to select “rAD” function.
- Tune to the desired station by using the Radio Tuner Knob.
Listening to an External Audio Device (AUX Mode)
Press function selection button to select the “AUX” function.
In AUX mode, this unit can play audio from an external audio source (iPod, MP3 Player, Portable CD Player, etc.)
There is an AUX jack on the rear side of the unit. When connecting a device that has an AUX-IN jack, use the cable with 3.5mm plugs on either end with the rear AUX IN jack.
- Plug one end of the 3.5mm cable (not included) into the AUX IN jack.
- Plug the other end of the cable into the headphone jack of the external audio source.
NOTE: AII operations are only available on your external device.
Bluetooth Streaming
This unit has the ability to receive Bluetooth audio from an external device like a smartphone, laptop, etc. This unit also has the ability to stream Vinyl and other functions directly to an external Bluetooth speaker or headphone of your choice. See the sections below for instruction.
BLUETOOTH RECEIVER
- Press function selection button to select “BLUE” function.
- The Bluetooth indicator will flash.
- Set the Bluetooth function of your external device when the apparatus is on.
- Set to search Bluetooth device on your external device.
NOTE: The effective distance between your external device and this apparatus is 10 meters. - When” Victrola Ellington” appears on the paired devices list on your external device,
press “Victrola Ellington” to connect.
ff a password is required, use “0000” then press “OK” on your external device. - When your Bluetooth connection is successful, Bluetooth LED indicator will remain lit.
NOTE: The Fast Forward/Rewind function is only available on your external device. - Now you can stream music from your smartphone or other Bluetooth device.
BLUETOOTH TRANSMITTING FUNCTION
- FM/CD/AUX/PHONO modes have a Bluetooth transmitting function.
- Select the mode (FM/CD/AUX/PHONO) you wish to stream to an external Bluetooth device.
- Locate and turn ON an external Bluetooth speaker (not included) or headphone (not included). Make sure it is in pairing mode.
- Press and hold the pair button (on the Ellington) to activate the Bluetooth transmitting function, the Bluetooth indicator will flash. When the Bluetooth connection is successful, the
Bluetooth LED indicator will remain lit.
– Press and hold the pair button again to cancel the Bluetooth transmitting function, the Bluetooth LED indicator will turn off. - Now you can stream audio from the Ellington to an external Bluetooth device.
NOTE:
-When the Bluetooth speaker is connected, the Effington will have no sound. Once connection is disconnected, the sound of the host speaker will activate again automaticity.
-Place the Bluetooth device within 1 m (3.3J of the product to perform pairing correctly
-The product stays in the pairing mode for about 30 seconds. ff pairing is not properly completed, follow the above steps again from the beginning after turning all devices OFF.
Maintenance/ Proper Handling
Handling Vinyl Records
- hands. Touching the record surface will cause your record’s quality to deteriorate.
- To clean a record, use a soft anti-static cloth to gently wipe the record surface.
- Keep records in their protective sleeves when not in use.
- Always store records upright on their edges
- Avoid placing records in direct sunlight, close to a heat source (radiators, stoves, etc.), or in a location subject to vibration, excessive dust, heat, cold or moisture.
General Care
- When removing the power plug from the wall outlet, always pull directly on the plug. Never pull the cord.
- To keep the laser pickup clean, do not touch it, and do not forget to close the disc tray.
- Do not attempt to clean the unit with chemical solvents as this might damage the finish.
- For cleaning, only use a clean, dry cloth.
- In order to shut off the power to this product completely, unplug the power cord from the wall outlet. Be sure to unplug the unit if you do not intend to use it for an extended period of time.
How to Replace the Turntable Stylus {Replacement Stylus # VND-08)
Removing the Stylus from the Cartridge
- Using your hand, hold at point “A” and push down point “B”
WARNING: When applying force to stylus, too much may damage or break the stylus. - The stylus will separate from the front of the cartridge.
- Continue to push the stylus down until back is disconnected
- With a tweezer, carefully separate the wires from the back pins.
WARNING: Do not damage or pinch the wires.

Installing the Stylus
- Follow the previous steps but in reverse.
Caution:
- Do not remove or bend the stylus needle.
- Do not touch the needle to avoid injury to your hand.
- Tum off the unit’s power before you replace the stylus.
- Keep out of reach of children.
Please Note; The stylus should last about 50 hours under normal use. It is recommended that the stylus be replaced as soon as you notice a change in sound quality.
Specifications

California PROP 65 Warning
WARNING: This product can expose you to chemicals including lead, which is known to the State of California to cause cancer and birth defects or other reproductive harm. For more information go to www.P65Warnings.ca.gov.
For further assistance with your product, call Innovative Technology at TOLL FREE# 1-877-ITECH-97 (1-877-483-2497).
Please note: As a result of continual improvements, the design and specifications of this product are subject to change without notice.
Bluetooth is a registered trademark of Bluetooth SIG, Inc. Other trademarks and trade names are those of their respective owners.
Made in China.
Troubleshooting Guide


FCC Statement
This device complies with Part 15 of the FCC Rules. Operation is subject to the following two conditions: (1) This device may not cause harmful interference, and (2) this device must accept any interference received, including interference that may cause undesired operation.
NOTE: This equipment has been tested and found to comply with the limits for a Class B digital device, pursuant to Part 15 of the FCC Rules. These limits are designed to provide reasonable protection against harmful interference in a residential installation. This equipment generates uses and can radiate radio frequency energy and, if not installed and used in accordance with the instructions, may cause harmful interference to radio communications. However, there is no guarantee that interference will not occur in a particular installation. If this equipment does cause harmful interference to radio or television reception, which can be determined by turning the equipment off and on, the user is encouraged to try to correct the interference by one of the following measures:
– Reorient or relocate the receiving antenna.
– Increase the separation between the equipment and receiver.
– Connect the equipment into an outlet on a circuit different from that to which the receiver is connected.
– Consult the dealer or an experienced radio/TV technician for help.
WARNING: Any changes or modifications not expressly approved by the party responsible for compliance could void the user’s authority to operate this equipment.
The device must not be co-located or operating in conjunction with any other antenna or transmitter.
To maintain compliance with the FCC’s RF exposure guidelines, place the product at least 20cm from nearby persons.
IC Statement
This device complies with RSS247 of Industry Canada. This device complies with Industry Canada license-exempt RSS standard(s). Operation is subject to the following two conditions: (1) this device may not cause interference, and (2) this device must accept any interference, including interference that may cause undesired operation of the device.
The device must not be co-located or operating in conjunction with any other antenna or transmitter.
This device complies with IC radiation exposure limits set forth for an uncontrolled environment.
The device should be installed and operated with a minimum distance of 20cm between the radiator and your body.




















