VICTROLA VTA-72 3-In-1 Turntable

Lightning flash with arrowhead symbol within an equilateral triangle is intended to alert the user to the presence of non-insulated dangerous voltage within the product’s enclosure that may be of sufficient magnitude to constitute a risk of electric shock.
Warning
To reduce the risk of electric shock, do not remove cover or back as there are no user serviceable parts insides. Refer servicing to qualified personnel. The exclamation point within an equilateral triangle is intended to alert the user to the presence of important operating and maintenance instructions in the literature accompanying the appliance.
CAUTION
To reduce the risk of fire or electric shock, do not expose this appliance to rain or moisture.
WARNING
To prevent electric shock, do not use this polarized plug with an extension cord, receptacle or other outlet unless the blades can be fully inserted to prevent blade exposure.
SAFETY INSTRUCTIONS
- All the safety and operating instructions should be read before this product is operated.
- Keep these instructions – The safety and operating instructions should be retained for future reference.
- Heed all warnings on the appliance and in the operating instructions should be adhered to.
- All operating and use instructions should be followed.
- Do not use this apparatus near water .
- The appliance should not be used near water or moisture for example, in a wet basement or near a swimming pool, and the like.
- Clean only with dry cloth.
- Do not block any ventilation openings.
- Install in accordance with the manufacturer’s instructions.
- Do not install near any heat sources such as radiations, heat registers, stoves, or other apparatus including amplifiers that produce heat.
- Do not defeat the safety purpose of the polarized or grounding plug.
- A polarized plug has two blades with one wider than the other.
- A grounding plug has two blades and a third grounding prong.
- The wide blade or the third prong is provided for your safety.
- If the provided plug does not fit into your outlet, consult an electrician for replacement of the obsolete outlet.
- Protect the power cord from being walked on or pinched particularly at the plugs, convenience receptacles, and at the point where they exit from the apparatus.
- Only use attachments/accessories specified by the manufacturer.
- Use only with the cart, stand, tripod, bracket, or table specified by the manufacturer, or sold with the apparatus.
- When a cart or rack is used, use caution when moving the cart/apparatus combination to avoid injury from tip-over.
- Unplug the apparatus during lighting storms or when unused for long periods of time.
- Refer all servicing to qualified personnel.
- Servicing is required when the apparatus has been damaged in any way, such as power supply cord or plug is damaged, liquid has been spilled or objects have fallen into the apparatus has been exposed to rain or moisture, does not operate normally, or has been dropped.
- The mains plug is used as disconnect device, the disconnect device shall remain readily operable.
- To reduce the risk of fire or electric shock, do not expose this apparatus to rain or moisture.
- The apparatus shall not be exposed to dripping or splashing and that no objects filled with liquids, such as vases, shall not be placed on apparatus.
- Use the equipment in a moderate climate.
ACCESSORIES INCLUDED
- INSTRUCTION MANUAL
- WARRANTY
- POWER ADAPTOR
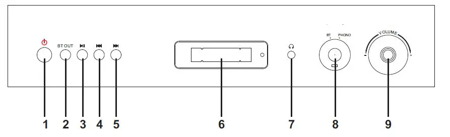
PRODUCT OVERVIEW
Front view

- POWER: Press to turn the unit ON or OFF.
- BT OUT: Press to activate the Bluetooth output function.
- PLAY/PAUSE :Press to start playback, press again to pause. Long press the button for 3 seconds to disconnect the Bluetooth pairing.
- NOTE
This button only works in Bluetooth mode.
- NOTE
- PREVIOUS: Skip to the previous track or station.
- NEXT:Skip to the next track or station.
- Display Screen
- 3.5mm EARPHONE JACK: Accepts headphone/earphone plugs.
- BT/PHONO: Turn to select BT/PHONO mode.
- VOLUME KNOB: Turn to adjust volume.
Rear View

- 10. LINE OUT jacks: For amplifier device with RCA auxiliary input sockets, insert the white and red plugs on the RCA cable into the unit. Insert the opposite end into the amplifier device. Be sure to connect the white plug to the white jack and the red plug to the red jack.
- 11. DC Input Jack :Connect the power adapter to the jack to power on the unit.
Part of the Turntable

- 12. Turntable
- 13. 45 RPM adapter
- 14. Tone Arm holder
- 15. Cue Lever: Before use, gently push the Tone Arm holder to the right to release the TONE ARM.
- 16. AUTO STOP ON/OFF SWITCH: Switch “ON”, the turntable will stop automatically when finish playing. Switch “ OFF”, the turntable will keep turning when finished playing.
- 17. Speed Selector
- 18. Turn Arm
- 19. STYLUS
SETUP/BASIC OPERATION

Setup
- Remove white protective needle cover by gently pulling towards front of unit.
- Remove any packaging materials from the unit.
- Connect the power adapter to the DC Input jack to power on the unit.
Note
It is strongly recommended that this product should be operated only from the type of power source indicated on the marking label.
Basic Operation
- Press the POWER button to turn the unit on.
- Select mode by turning the BT/PHONO KNOB.
- Rotate the VOLUME KNOB to adjust to the desired sound level.
Listening through RCA LINE OUT
For amplifier device listening, first reduce the volume level to minimum. Insert the white and red plugs on the RCA cable into the unit, then insert the opposite end into the amplifier device. Be sure to connect the white plug to the white jack and the red plug to the red jack.
Listening through Earphones/Headphones not included
For private listening, first reduce the volume level to minimum. Insert your headphones’ plug into the 3.5mm jack, then adjust the volume up by turning the VOLUME KNOB.
Note
The speakers will automatically be deactivated while headphones are plugged in.
CONDENSATION WARNING
When the unit is moved from a cold or warm place, or is used following a sudden temperature change, there is the danger that water vapor in the air may condense on the unit, preventing proper operation. In such cases, leave the unit for 1-2 hours after plugging it into an AC outlet to allow it to stabilize at the temperature of its surroundings.
LISTENING TO A VINYL RECORD

- Turn the unit ON by pressing the POWER button.
- Turn the BT/PHONO KNOB to enter the PHONO mode.
- Gently open the dust cover.
- Put the record on the turntable. Select the speed. When playing a 45 RPM record, use the included 45 adaptor.
- Gently push the Tone Arm Holder to the right to release the TONE ARM.
- Raise the Cue Lever to lift the TONE ARM off the tone arm support.
- Move the TONE ARM gently to the edge of the record or the starting point of the track. The turntable will begin to turn.
- Gently lower the TONE ARM by slowly releasing the CUE LEVER. You can lower the TONE ARM manually if the CUE LEVER has not been raised.
- Turn the VOLUME KNOB to adjust the volume.
- When playback has finished, slightly lift the tone arm using the CUE LEVER and return it to the TONE ARM holder.
LISTENING TO AN EXTERNAL DEVICE (AUX MODE)
LINE OUT Jacks on the BACK of the unit
If you play this device through external powered speakers, you can connect the unit with an RCA component cable not Included. Make sure to connect the white plug to white jack left and the red plug to the red jack right.
LISTENING TO AN EXTERNAL DEVICE BLUTOOTH IN MODE
In BT (Bluetooth) mode, this unit can play music from external devices which have a built in Bluetooth feature.
GETTING CONNECTED USING BLUETOOTH BT RECEIVE IN
- Turn the BT/PHONO KNOB to select BT mode.
- The bt will flash on the Display Screen.
- Turn ON the Bluetooth function on your external device.
- NOTE: The effective distance between your external device and this unit is 10 meters (33ft)
- Wait for the “ Victrola Eastwood to appear on the paired devices list of your external device and press Victrola Eastwood.
- A few seconds later your Bluetooth connection is successful and the “bt” on the Display Screen will stop flashing.
- Select the music media files on your external device, then press the PLAY/PAUSE button ( ) to begin playback.
- To temporarily pause playback, press the PLAY/PAUSE button playback. Press again to resume.
- To skip to the previous or the next tracks, press the PREVIOUS/NEXT button to listen.
- Note: Stop, fast forward/rewind are only available on your external device.
LISTENING THE VINYL RECORD FROM AN EXTERNAL DEVICE BLUETOOTH OUT
Bluetooth transmit out to connect external BT speakers, you can enjoy the vinyl records in the HI-FI system wirelessly.
- When playing a vinyl record, press the BT OUT button.
- The icon flashes on the Display Screen.
- Turn ON your external BT speaker and switch to BT mode.
- Wait for a few seconds, they make connection to each other automatically.
- The icon stops flashing once successful paired.
- Control the playback from your BT speaker.
MAINTENANCE/PROPER HANDLING
Handling Vinyl Records
Do not touch the record’s grooves. Only handle records by the edges or the label with clean hands. Touching the record surface will cause your record’s quality to deteriorate. To clean a record, use a soft anti-static cloth to gently wipe the record surface. Keep records in their protective sleeves when not in use. Always store records upright on their edges. Avoid placing records in direct sunlight, close to a heat sourc radiators, stoves, etc or in a location subject to vibration, excessive dust, heat, cold or moisture.
How to Replace the Turntable Stylus Replacement Needle# ITNP-S1
The stylus should last about 50 hours under normal use. However, it is recommenced that the stylus be replaced as soon as you notice a change in sound quality. Prolonged use of a worn-out stylus may damage the record. The highest speed of 78 RPM records would wear out the stylus more quickly.

Removing the Stylus from the Cartridge
Set a screwdriver at the tip of the stylus and push down to direction A. Pull the stylus out toward direction B.
WARNING
When applying force to the stylus, too much may damage or break the stylus.
Installing the Stylus

- Hold the tip of the stylus and insert the other edge by pressing toward direction C.
- Push the stylus up toward direction D until it locks at the tip.
Caution
Do not remove or bend the stylus needle. Don not touch the needle to avoid injury to your hand. Turn off the unit’s power before you replace the stylus. Keep out of reach of children.
TROUBLESHOOTING GUIDE
| Symptom | Possible Cause | Solution | |
| GENERAL | Unit will not power on | Unit is unplugged. | Connect the DC power adapter to the jack. |
| No sound output from speakers | The volume level is set too low. The input selector does not match the playback source. | Adjust the volume. Select the correct input source. | |
| Noise/Distortion in sound output | The unit is too close to a TV set or another Interfering device. | Turn off the TV or other appliance, and relocate the unit. | |
| Unit fails to respond | It might result from external factors sucn as ESD Electro static discharge. | Disconnect the power cord and external audio device. Replug the power cord after one minute. | |
| PHONO | Decline in turntable audio performance | The turntable stylus is worn out. | Replace the stylus. |
| Symptom | Possible Cause | Solution | |
| BLUETOOTH | No sound | The unit is not switched to Bluetooth mode. Your device’s and/or your unit’s volume is not turn up. Your device is too far from the unit or there’re some obstacle between your device and your unit. | Ensure the unit is switched to BT mode. Move your Bluetooth device closer to unit. Turn up the volume on your portable device and/or the unit. Turn OFF your Bluetooth device and unit. Then power them both back ON. |
| Sound has a lot of static | Your device is too far away. | Bring your device closer to the turntable. | |
| Unable to pair with a Bluetooth device | Your device doesn’t have Bluetooth connectivity. The Bluetooth pairing is not successful | Confirm that your device is Bluetooth compatible. Repair the unit and device again. | |
| BLUETOOTH OUT | The connection takes too long | The time of connection depends on the connecting device | Wait for a moment |
For further assistance with your product, call Innovative Technology at TOLL-FREE # 1-877-ITECH-97 1-877-483-2497. Please note: As a result of continual improvements, the design and specifications of this product are subject to change without notice. Made in China. Bluetooth is a registered trademark of Bluetooth SIG, Inc. Other trademarks and trade names are those of their respective owners.
SPECIFICATIONS
GENERAL
- Power adapter :DC 5V/1A
- Power Consumption :5W
- Power Output: 2 x 2W
- Size :12.7 (322mm)W x12.3 (312mm)D x 5.2 (131mm)
- Weight : 4.5 lbs 2kg
- Operating Temperature :5°C – + 40°C
RECORD PLAYER
Speeds: 33-1/3 :RPM, 45 RPM and 78 RPM
BLUETOOTH
- Bluetooth Version :4.2
- Bluetooth Profiles : A2DP, AVRCP
- Bluetooth Frequency range :2.402GHz – 2.480GHz
- Operating Distance :10 meters (33 ft.)
Adaptor
- Manufacturer:SIMSU<IRN
- Model: SK01G2-0500100U, SK01G2-0500100Z
- Material Quality:Sliver Mute Dragon
FCC Statement
This device complies with Part 15 of the FCC Rules. Operation is subject to the following two conditions This device may not cause harmful interference, and this device must accept any interference received, including interference that may cause undesired operation. Changes or modifications to this unit not expressly approved by the party responsible for compliance could void the user authority to operate the equipment.
NOTE
This equipment has been tested and found to comply with the limits for Class B digital device, pursuant to part 15 of the FCC Rules. These limits are designed to provide reasonable protection against harmful interference in a residential installation. This equipment generates, uses and can radiate radio frequency energy and, if not installed and used in accordance with the instructions, may cause harmful interference to radio communications. However, there is no guarantee that interference will not occur in a particular installation. If this equipment does cause harmful interference to radio or television reception, which can be determined by turning the equipment off and on, the user is encouraged to try to correct the interference by one or more of the following measures
- Reorient or relocate the receiving antenna.
- Increase the separation between the equipment and the receiver.
- Connect the equipment into an outlet on a circuit different from that to which the receiver is connected.
- Consult the dealer or an experienced radio/TV technician for help.
WARNING
This product can expose you to chemicals including lead, which is known to the State of California to cause cancer and birth defects or other reproductive harm. For more information go to www.P65Warnings.ca.gov
IC WARNING
This device contains license-exempt transmitter/receiver that comply with Innovation, Science and Economic Development Canada’s licence-exempt RSS(s). Operation is subject to the folowing two conditions.This device may not cause interference. This device must accept any interference, including interference that may cause undesired operation of the device. This equipment complies with FCC and IC radiation exposure limits set forth for an uncontrolled environment. This equipment should be installed and operated with minimum distance 20cm between the radiator & your body.
Innovative Technology Electronics LLC
Limited Warranty: 90 Days Labor, One Year Parts. Innovative Technology Electronics LLC. (IT) warrants the product to be free from Defects in materials under normal use for a period of “One Year” from the date of the original purchase. The Warranty is Not transferable. IT agrees, within the initial 90 Day period, to repair or replace the product if it is determined to be defective at No Charge It is further agreed that IT will cover the cost to repair or replace damaged Parts only for a total period of “One Year” from the date of the original purchase. The warranty does not cover cosmetic damage, antennas, AC cords, cabinets, headbands, ear-pads, or damage due to line power surges, connection to improper voltage supply or settings, misuse, mishandling, or accident, acts of God or attempted repair by an unauthorized service agent. To obtain service, the purchaser MUST present an original sales receipt/proof of purchase. Please contact us at www.victrola.com to request an RMA Return Material Authorization number to return products for service or replacement. Returns without an RMA number on the package will be refused and returned to the sender. Upon receipt of the returning item and our full inspection (IT) may issue a replacement to the customer for the same item or of one that has equivalent value and features. To return an item, supply full name, return address, phone number, item purchased, receipt of purchase and reason for return to obtain RMA number. All returns must be in the original packaging or a reasonable substitute to prevent damage. The customer Must include full name, shipping address and telephone number inside of the package. No return will be shipped back to a PO Box or APO address.
Please include your check or money order in the amount of
- USD $5.00 for items $10.00 to $39.99 Price Paid Per Unit.
- USD $10.00 for items $40.00 to $99.99 Price Paid Per Unit.
- USD $16.00 for items $100.00 and up Price Paid Per Unit.
- Shipping fees are non-refundable. to be payable to Innovative Technology Electronics LLC for handling and return shipping charge
IT will not be responsible for delays or unprocessed claims resulting from a purchaser’s failure to provide any / all of the necessary information. Send all inquiries or RMA request via our website www.victrola.com/pages/technical support. Innovative Technology Electronics LLC. Channel Drive, Port Washington, NY 11050 Toll free: 1-877-483-2497 Website for support: www.victrola.com/pages/technical-support. There are no express warranties except as listed above. REPAIR OR REPLACEMENT AS PROVIDED UNDER THIS WARRANTY IS THE EXCLUSIVE REMEDY OF THE CUSTOMER, (IT) SHALL NOT BE LIABLE FOR ANY INCIDENTAL OR CONSEQUENTIAL DAMAGES FOR BREACH OF ANY EXPRESS OR IMPLIED WARRANTY ON THIS PRODUCT EXCEPT TO THE EXTENT PROHIBITED BY APPLICABLE LAW. ANY IMPLIED WARRANTY OF MERCHANTABILITY OR FITNESS FOR A PARTICULAR PURPOSE ON THIS PRODUCT IS LIMITED IN DURATION TO THE DURATION OF THIS WARRANTY. Some states do not allow the exclusion or limitation of incidental or consequential damages or limitations on how long an implied warranty lasts, so the above exclusions or limitations may not apply to you. This warranty gives you specific legal rights and you may also have other rights, which vary from state to state.




















