
3 – IN – 1 TURNTABLE
MODEL: VTA- 65

Instruction Manual
PLEASE READ THIS INSTRUCTION MANUAL CAREFULLY BEFORE USE AND KEEP IT FOR FUTURE REFERENCE.

AVERTISSEMENT:
- This lightning flash with arrowhead symbol within an equilateral triangle is intended to alert the user to the presence of non-insulated “dangerous voltage” within the product’s enclosure that may be of sufficient magnitude to constitute a risk of electric shock.
- Warning: To reduce the risk of electric shock, do not remove cover (or back) as there are no user-serviceable parts insides. Refer servicing to qualified personnel.
- The exclamation point within an equilateral triangle is intended to alert the user to the presence of important operating and maintenance instructions in the literature accompanying the appliance.
CAUTION: To reduce the risk of fire or electric shock, do not expose this appliance to rain or moisture.
WARNING: To prevent electric shock, do not use this (polarized) plug with an extension cord, receptacle or other outlet unless the blades can be fully inserted to prevent blade exposure.
SAFETY INSTRUCTIONS
- Read these instructions — All the safety and operating instructions should be read before this product is operated.
- Keep these instructions — The safety and operating instructions should be retained for future reference.
- Heed all warnings — All warnings on the appliance and in the operating instructions should be adhered to.
- Follow all instructions — All operating and use instructions should be followed.
- Do not use this apparatus near water — The appliance should not be used near water or moisture — for example, in a wet basement or near a wimming pool, and the like.
- Clean only with dry cloth.
- Do not block any ventilation openings. Install in accordance with the manufacturer’s instructions.
- Do not install near any heat sources such as radiations, heat registers, stoves, or other
- Do not defeat the safety purpose of the polarized or grounding plug. A polarized plug has two blades with one wider than the other. A grounding plug has two blades and a third grounding prong. The wide blade or the third prong is provided for your safety. If the provided plug does not fit into your outlet, consult an electrician for replacement of the obsolete outlet.
- Protect the power cord from being walked on or pinched a particularly at the plugs, convenience receptacles, and at the point where they exit from the apparatus.
Only use attachments/accessories specified by the manufacturer.- Use only with the cart, stand, tripod, bracket, or table — specified by the manufacturer, or sold with the apparatus.
When a cart or rack is used, use caution when moving the cart/apparatus combination to avoid injury from tip-over. - Unplug the apparatus during lightning storms or when unused for long periods of time.
- Refer all servicing to qualified personnel. Servicing is required when the apparatus has been damaged in any way, such as power supply cord or plug is damaged, liquid has been spilled or objects have fallen into the apparatus has been exposed to rain or moisture, does not operate normally, or has been dropped.

AVERTISSEMENT:
• This lightning flash with arrowhead symbol within an equilateral triangle is intended to alert the user to the presence of non-insulated “dangerous voltage” within the product’s enclosure that may be of sufficient magnitude to constitute a risk of electric shock.
• Warning: To reduce the risk of electric shock, do not remove cover (or back) as there are no user-serviceable parts inside. Refer servicing to qualified personnel.
• The exclamation point within and equilateral triangle is intended to alert the user to the presence of important operating and maintenance instructions in the literature accompanying the appliance.- The mains plug is used as disconnect device, the disconnect device shall remain readily operable.
- To reduce the risk of fire or electric shock, do not expose this apparatus to rain or moisture. The apparatus shall not be exposed to dripping or splashing and that no objects filled with liquids, such as vases, shall not be placed on apparatus.
- Use the equipment in a moderate climate.
ACCESSORIES INCLUDED
- INSTRUCTION MANUAL
- WARRANTY (BACK OF MANUAL)
- POWER ADAPTOR
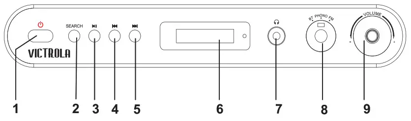
PRODUCT OVERVIEW
Front view

- POWER: Press to turn the unit ON or OFF.
- SEARCH: To automatically search stations in FM mode.
- PLAY/PAUSE (
)
Press to start playback, press again to pause
(NOTE: This button only works in Bluetooth mode.) - PREVIOUS (
)
Skip to the previous track or station. - NEXT (
)
Skip to the next track or station. - Display Screen
- 3.5mm EARPHONE JACK: Accepts headphone/earphone plugs.
- BT/PHONO/FM KNOB: Tum to select BT/PHONO/FM mode.
- VOLUME KNOB: Turn to adjust volume.
Rear view
- FM wire antenna
While tuned to a station in FM mode, extend the wire and reposition. - LINE OUT jacks
For amplifier device with RCA auxiliary input sockets, insert the white and red plugs on the RCA cable into the unit. Insert the opposite end into the amplifier device. Be sure to connect the white plug to the white jack and the red plug to the red jack - DC Input Jack
Connect the power adapter to the jack to power on the unit.
Part of the Turntable
- Turntable
- 45 RPM adapter
- Tone Arm holder
- Cue Lever: Before use, gently push the Tone Arm holder to the right to release the TONE ARM.
- AUTO STOP ON/OFF SWITCH: Switch “ON”, the tumtable will stop automatically when finish playing. Switch “OFF”, the tumtable will keep tuning when finished playing.
- Speed Selector
- ToneArm
- STYLUS
SETUP/BASIC OPERATION
Setup

- Remove white protective needle cover by gently pulling towards front of unit.
- Remove any packaging materials from the unit.
- Connect the power adapter to the DC Input jack to power on the unit. way
Note:
- It is strongly recommended that this product should be operated Ke CES, only from the type of power source indicated on the marking label.
Basic Operation
- Press the POWER button to turn the unit on.
- Select mode by turning the BT/PHONO/FM KNOB.
- Rotate the VOLUME KNOB to adjust to the desired sound level.
Listening through RCA LINE OUT
For amplifier device listening, first reduce the volume level to minimum. Insert the white and red plugs on the RCA cable into the unit, then insert the opposite end into the amplifier device. Be sure to connect the white plug to the white jack and the red plug to the red jack.
Listening through Earphones/Headphones (not included)
For private listening, first reduce the volume level to minimum. Insert your headphones’ plug into the 3.5mm jack, then adjust the volume up by turning the VOLUME KNOB
Note: The speakers will automatically be deactivated oneal while headphones are plugged in.
CONDENSATION WARNING:
When the unit is moved from a cold or warm place, or is used following a sudden temperature change, there is the danger that water vapor in the air may condense on the unit, preventing proper operation. In such cases, leave the unit for 1-2 hours after plugging it into an AC outlet to allow it to stabilize at the temperature of its surroundings.
LISTENING TO A VINYL RECORD
- Turn the unit ON by pressing the POWER button.
- Turn the BT/PHONO/FM KNOB to enter the PHONO mode.
- Gently open the dust cover.

- Put the record on the turntable. Select the speed. When playing a 45 RPM record, use the included 45 adaptor.
- Gently push the Tone Arm holder to the right to release the TONE ARM.
- Raise the Cue Lever to lift the TONE ARM off the tone arm support.
- Move the TONE ARM gently to the edge of the record (or the starting point of the track). The turntable will begin to turn.
- Gently lower the TONE ARM by slowly releasing the CUE LEVER. You can lower the TONE ARM manually if the CUE LEVER has not been raised.

- Turn the VOLUME KNOB to adjust the volume.
- When playback has finished, slightly lift the tone arm using the CUE LEVER and return it to the TONE ARM holder.
LISTENING TO THE FM RADIO
- Turn the BT/PHONO/FM KNOB to enter the FM mode.
- Press SEARCH button, the unit will search the stations and store the stations it searches automatically.
NOTE: You can press PLAY/PAUSE (
) button to stop searching. - Press PREVIOUS/NEXT (
) button to skip to the previous/next station. - Press & hold PREVIOUS/NEXT (
) button to manually search stations.
Adjusting for Best Reception
FM broadcast: Extend and reposition the FM antenna.
LISTENING TO AN EXTERNAL DEVICE (AUX MODE)
LINE-OUT Jacks on the BACK of the unit:
If you play this device through external powered speakers, you can connect the unit with an RCA component cable (not included). Make sure to connect the white plug to white i jack (left) and the red plug to the red jack (right)
LISTENING TO AN EXTERNAL DEVICE (BLUETOOTH MODE)
In BT (Bluetooth) mode, this unit can play music from external devices which have a built-in Bluetooth feature.
GETTING CONNECTED USING BLUETOOTH
- Turn the BT/PHONO/FM KNOB to select BT mode.
- The “bt” will flash on the Display Screen.
- Turn ON the Bluetooth function on your external device.
NOTE: The effective distance between your external device and this unit is 10 meters (33ft). - Wait for the “VTA-65″ to appear on the paired devices list of your external device and press “VTA-65”.
- A few seconds later your Bluetooth connection is successful and the “bt” on the Display Screen will stop flashing.
- Select the music media files on your external device, then press the PLAY/PAUSE button (
) to begin playback. - To temporarily pause playback, press the PLAY/PAUSE button (
). Press again to resume. - To skip to the previous or next tracks, press the PREVIOUS/NEXT button (
) to listen.
Note: Stop, fast forward/rewind are only available on your external device.
MAINTENANCE/PROPER HANDLING
Handling Vinyl Records
- Do not touch the record’s grooves. Only handle records by the edges or the label with clean hands. Touching the record surface will cause your record’s quality to deteriorate.
- To clean a record, use a soft anti-static cloth to gently wipe the record surface.
- Keep records in their protective sleeves when not in use.
- Always store records upright on their edges.
- Avoid placing records in direct sunlight, close to a heat source (radiators, stoves, etc.), or in a location subject to vibration, excessive dust, heat, cold or moisture.
How to Replace the Turntable Stvlus (Replacement Needie # ITNP-S1)
The stylus should last about 50 hours under normal use. However, it is recommended that the stylus be replaced as soon as you notice a change in sound quality. Prolonged use of a worn-out stylus may damage the record. The highest speed of 78 RPM records would wear out the stylus more quickly.
Removing the Stylus from the Cartridge
- Set a screwdriver at the tip of the stylus and push down to the direction “A”.

- WARNING: When applying force to stylus, too much may damage or break the stylus.
- Pull the stylus out toward the direction “B”.

Installing the Stylus
- Hold the tip of the stylus and insert the other edge by pressing toward direction “C”.
- Push the stylus up toward direction “D” until it locks at the tip

Caution:
- Do not remove or bend the stylus needle.
- Do not touch the needle to avoid injury to your hand.
- Turn off the unit’s power before you replace the stylus.
- Keep out of reach of children.
TROUBLESHOOTING GUIDE
| Symptom | Possible Cause | Solution | |
| GENERAL | • Unit will not power on. | • Unit is unplugged. | • Connect the DC power adapter to the jack. |
| • No sound output from speakers. | • The volume level is set too low. • The input selector does not match the playback source. | • Adjust the volume. • Select the correct input source. | |
| • Noise/Distortion in sound output. | • The unit is too close to a TV set or another interfering device. | • Turn off the TV or other appliance, and relocate the unit. | |
| • Unit fails to respond. | • It might result from external factors such as ESD (Electro-static discharge). | • Disconnect the power cord and external audio device. Re-plug the power cord after one minute. | |
| FM RADIO | • Cannot listen to any station, or signal appears weak. | • The station is not tuned-in properly. • A TV set is being used nearby and is interfering with the radio reception. | • Properly turn-in the desired station. • Turn off the interfering TV set. |
| • The sound is distorted. | • The antenna is not oriented properly. | • Re-orient the antenna until reception improves. | |
| PHONO | • Decline in turntable audio performance. | • The turntable stylus is worn out. | • Replace the stylus. |
| Symptom | Possible Cause | Solution | |
| BLUETOOTH | •No sound | • The unit is not switched to Bluetooth mode. • Your device’s and/or your unit’s volume is not turn up. • Your device is too far from the unit or there’re some obstacle between your device and your unit. | • Ensure the unit is switched to BT mode. • Move your Bluetooth device closer to unit. • Turn up the volume on your portable device and/or the unit. Turn OFF your bluetooth device and unit. Then power them both back ON. |
| • Sound has a lot of static | • Your device is too far away. | • Bring your device closer to the turntable. | |
| • Unable to pair with a bluetooth device | • Your device dosen’t have Bluetooth connectivity. • The Bluetooth pairing is not successful | • Confirm that your device is Bluetooth compatible. • Re-pair the unit and device again. |
Please note: As a result of continual improvements, the design and specifications of this product are subject to change without notice.
Made in China.
Bluetooth is a registered trademark of Bluetooth SIG, Inc.
Other trademarks and trade names are those of their respective owners.
Victrola is a registered trademark of Innovative Technology Electronics LLC.
SPECIFICATIONS
GENERAL
Power adapter —————————DC 5V/1A
Power Consumption ——————- 5W
Power Output ————————— 2 * 2W
Size—————————————– 12.7″ (322mm) W * 11.4″ (290mm) D x 5.2″ (132mm) H
Weight ————————————- 4.5 Ibs (2kg)
FM RADIO
Range————————————– 88 to 108 MHz
RECORD PLAYER
Speeds ————————————-33-1/3 RPM, 45 RPM, and 78 RPM
BLUETOOTH
Bluetooth Version ———————– Bluetooth V4.0
Bluetooth Profiles ———————– A2DP, AVRCP
Bluetooth Frequency range ————-2.402GHz-2.480GHz
Operating Distance ———————– 10 meters (33 ft.)
CALIFORNIA PROP 65 WARNING
WARNING: This product can expose you to chemicals including lead, which is known to the l \ State of California to cause cancer and birth defects or other reproductive harm. For more information go to www.P65Wamings.ca.gov.
FCC Statement
Warning: Changes or modifications to this unit not expressly approved by the party responsible for compliance could void the user authority to operate the equipment.
NOTE: This equipment has been tested and found to comply with the limits for Class B digital device, pursuant to part 15 of the FCC Rules. These limits are designed to provide reasonable protection against harmful interference in a residential installation.
This equipment generates, uses, and can radiate radio frequency energy and, if not installed and used in accordance with the instructions, may cause harmful interference to radio communications. However, there is no guarantee that interference will not occur in a particular installation. If this equipment does cause harmful interference to radio or television reception, which can be determined by turning the equipment off and on, the user is encouraged to try to correct the interferrence by one or more of the following measures:
- Reorient or relocate the receiving antenna.
- Increase the separation between the equipment and the receiver.
- Connect the equipment into an outlet on a circuit different from that to which the receiver is connected.
- Consult the dealer or an experienced radio/TV technician for help.
This device complies with Part 15 of the FCC Rules. Operation is subject to the following two conditions:
- This device may not cause harmful interference, and
- this device must accept any interference received, including interference that may cause undesired operation.
FCC Radiation Exposure Statement This equipment complies with FCC radiation exposure limits set forth for an uncontrolled environment. This equipment should be installed and operated with minimum distance 20cm between the radiator & your body.
IC WARNING
This device contains license-exempt transmitter(s)/receiver(s) that comply with Innovation, Science, and Economic Development Canada’s license-exempt RSS(s). Operation is subject to the following two conditions:
- This device may not cause interference; and
- This device must accept any interference, including interference that may cause undesired operation of the device.
This equipment complies with FCC and IC radiation exposure limits set forth for an uncontrolled environment. This equipment should be installed and operated with minimum distance 20cm between the radiator & your body.
WARRANTY
United States
Victrola (Innovative Technology Electronics, LLC) warrants to the original retail purchaser that this product will be free from defective materials and workmanship for one (1) year from the date of purchase, subject to the limitations below. This warranty period is not extended if we replace the product.
To obtain a replacement under the terms of this warranty, you must contact the dealer from which it was purchased with your original receipt. If assistance from the dealer from which it was purchased is impossible, you may contact our customer service for warranty assistance at victrola.com/contact.
Except as limited below, if the product proves defective in either material or workmanship within one (1) year from the date of purchase, Victrola will replace the product at no charge. If the product model is no longer available and cannot be replaced with an identical model, Victrola will issue a
- This limited warranty does not cover failure of the product arising, in whole or in part, from improper installation, storage, transportation, misuse, abuse, accident, neglect, mishandling, unauthorized repair, modification, or wear from ordinary use or environmental deterioration.
- This limited warranty does not cover cosmetic damage, including paint damage, or consequential damage to other components or premises which may result for any reason from the failure of the product.
- This limited warranty is null and void for products not used in accordance with Victrola’s instructions.
- This limited warranty terminates if the original retail purchaser sells or otherwise transfers this product.
- This limited warranty is null and void for defects or damage caused by installation or repair performed by any person or entity other than a Victrola authorized installer or dealer.
This warranty gives you specific legal rights, and you may also have other rights which vary from state to state, jurisdiction to jurisdiction, or country to country. All express and implied warranties for the product, including but not limited to any implied warranties of merchantability and fitness for a particular purpose, are limited in time to the term of this warranty. Some states, jurisdictions or countries do not allow the exclusion of certain implied warranties or conditions, or limitations on how long an implied warranty or condition lasts, so this limitation may not apply to you. Victrola’s responsibility for malfunctions and defects in hardware is limited to replacement or repair as set forth in this warranty statement. Victrola does not accept liability for special, punitive, consequential, or incidental damages or losses, whether direct or indirect, including without limitation, any liability for third party claims against you for damages or losses or for products not being available for use. The maximum liability for which Victrola may be responsible will be no more than the amount you paid for the product that is the subject of the claim. Some states, jurisdictions or countries do not allow the exclusion or limitation of special, indirect, incidental, or consequential damages, so the above limitation or exclusion may not apply to you.
Canada and US Territories
The Warranty on this product shall comply with applicable law when sold to a consumer in Canada or a US Territory. To obtain any applicable warranty service, please contact the dealer from which you purchased the product or the distributor that supplied the product, with your original receipt. If assistance from the dealer from which it was purchased is impossible, you may contact our customer service for warranty assistance at
victrola.com/contact.
If this product proves defective in either material or workmanship, Victrola will replace the product at no charge. If the product model is no longer available and cannot be repaired effectively or replaced with an identical model, Victrola at its sole option may replace the unit with a current model of equal or greater value.
Outside the U.S, Canada, and US Territories
The Warranty on this product shall comply with applicable law when sold to a consumer outside of the United States, Canada, and US Territories. To obtain any applicable warranty service, please contact the dealer from which you purchased the product, or the distributor that supplied the product, with your original receipt.


























