Victrola Ellington VTA-380SB Record Player

Important Safety Instructions
- Read these instructions – All the safety and operating instructions should be read before this product is operated.
- Keep these instructions–The safety and operating instructions should be retained for future reference.
- Heed all warnings–All warnings on the appliance and in the operating instructions should be adhered to.
- Follow all instructions – All operating and use instructions should be followed.
- Do not use this apparatus near water – The appliance should not be used near water or moisture –for example, in a wet basement or near a swimming pool, and the like.
- Clean only with dry cloth.
- Do not block any ventilation openings. Install in accordance with the manufacturer’s instructions.
- Do not install near any heat sources such as radiations, heat registers, stoves, or other apparatus (including amplifiers) that produce heat.
- Protect the power cord from being walked on or pinched particularly at the plugs, convenience receptacles, and at the point where they exit from the apparatus.
- Only use attachments/accessories specified by the manufacturer.
- Use only with the cart, stand, tripod, bracket, or table specified by the manufacturer, or sold with the apparatus. When a cart or rack is used, use caution when moving the cart/apparatus combination to avoid injury from tip-over.
- Unplug the apparatus during lightning storms or when unused for long periods of time.
- Refer all servicing to qualified personnel. Servicing is required when the apparatus has been damaged in any way, such as power supply cord or plug is damaged, liquid has been spilled or objects have fallen into the apparatus has been exposed to rain or moisture, does not operate normally, or has been dropped.
- This lightning flash with arrowhead symbol within an equilateral triangle is intended to alert the user to the presence of non-insulated “dangerous voltage” within the product’s enclosure that may be of sufficient magnitude to constitute a risk of electric shock.
- Warning: To reduce the risk of electric shock, do not remove cover (or back) as there are no user-serviceable parts inside. Refer servicing to qualified personnel.
- The exclamation point within and equilateral triangle is intended to alert the user to the presence of important operating and maintenance instructions in the literature accompanying the appliance.
- This equipment is a Class Ⅱ or double insulated electrical appliance. It has been designed in such a way that it does not require a safety connection to electrical earth.
- The mains plug is used as disconnect device, the disconnect device shall remain readily operable.
- WARNING
To reduce the risk of fire or electric shock, do not expose this apparatus to rain or moisture. The apparatus shall not be exposed to dripping or splashing and that no objects filled with liquids, such as vases, shall not be placed on apparatus. - The use of the equipment in moderate climate.
- The ventilation should not be impeded by covering the ventilation openings with items such as, newspapers, tablecloths, curtains, etc.
- No naked flame sources, such as lighted candles, should be placed on the apparatus.
- CAUTION: These servicing instructions are for use by qualified service personnel only. To reduce the risk of electric shock, do not perform any servicing other than that contained in the operating instructions unless you are qualified to do so.
ACCESSORIES INCLUDED:
- RCA LINE OUT CABLE
- INSTRUCTION MANUAL
- WARRANTY (BACK OF MANUAL)
- 45 RPM ADAPTER
- TURNTABLE OPERATION SHEET
Product Overview
Front View
- Volume Button: Turn to adjust volume
- Power: Press to turn the unit on or off
- Function Selection Button: FM, CD, Bluetooth, AUX, PHONO
- Stop ( ): In CD mode, press to stop playback.
- Play/Pause ( ) and Bluetooth Pairing:
In CD mode: press to play CD, press again to pause.
In Bluetooth mode: press to pair to Bluetooth.
In FM/CD/AUX/PHONO mode: press and hold to begin Bluetooth streaming (to any external Bluetooth speaker or headphone.) - Previous Track ( ):
In CD & Bluetooth mode: press once to replay current track;
In CD mode: press and hold to rewind current track. - Next ( ):
In CD & Bluetooth mode: press once to skip the current track;
In CD mode: press and hold the button to fast forward current track. - Open/Close ( ): In CD mode: use to open and close the disc tray
- Disc Tray
- LED Display
- Tuning Dial: In FM mode, turn to tune in a station.
- Tuner
Rear View

- Line-Out Jack
- Aux-In Jack
- AC Power Cord: Connect the AC plug into a wall outlet.
(It is strongly recommended that this product should be operated only from the type of power source indicated on the marking label.)
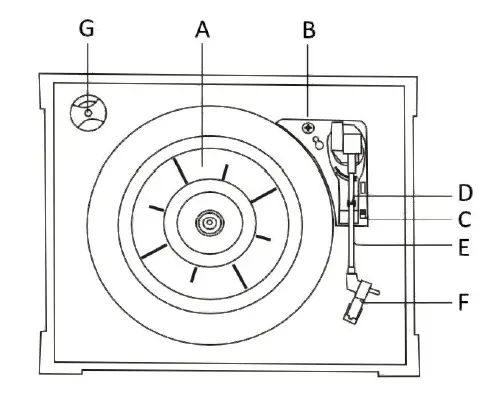
Parts of the Turntable

- A. Turntable
- B. Safety Screw (for transport): Before using the unit, turn the screw clockwise using a coin or screwdriver. Important:
When you transport the unit, turn the screw counterclockwise to secure the turntable. - C. Speed Selector
- D. Tone Arm Holder
- E. Tone Arm: Before use, completely loosen the twist tie on the tone arm and uplift tone arm.
- F. Stylus
- G. 45 RPM Adaptor.
Setup / Basic Operation
Setup 
- Remove white protective needle cover by gently pulling towards front of unit.
- Remove any packaging materials from the unit.
- Connect the AC power cord into AC connection socket and then insert the AC plug into a wall outlet.
Note:
- It is strongly recommended that this product should be operated only from the type of power source indicated on the marking label.
- To prevent interference, avoid bundling audio signal cables together with the AC power cord.
Basic Operation
- Press the POWER button to turn the unit on. The LED display will illuminate.
- Select the source by function selection button (FM/BLUETOOTH/AUX/PHONO).
- Rotate the Volume knob to adjust to the desired sound level.
Listening through RCA LINE OUT
For amplifier device listening, first reduce the volume level to minimum. Insert the white and red plugs of the RCA cable into the corresponding colors on the unit. Then insert the opposite end into the amplifier device.
Be sure to connect the white plug to the white jack and the red plug to the red jack.
CONDENSATION WARNING:
When the unit is moved from a cold or warm place, or is used following a sudden temperature change, there is the danger that water vapor in the air may condense on the unit, preventing proper operation. In such cases, leave the unit for 1-2 hours after plugging it into an AC outlet to allow it to stabilize at the temperature of its surroundings.
Listening to a Vinyl Record
- Press the Function button to select the “PHOn” function.
- Gently open the top cover.
Note: Be careful not to pinch your finger when opening/closing the top cover. - Place a vinyl record on the turntable. When playing a 45 RPM record, use the included adaptor.
- Select the appropriate speed.

- Remove the tone arm-rest holder to release the tone arm.

- Move the tone arm gently to the edge of the record (or the starting point of a track).
The turntable will begin to turn. - When the record reaches the end, the tone arm will stop at the center of the record. Lift and return the tone arm to the tone arm rest manually. Lock the tone arm-rest holder to protect the tone arm.
Important:
- Closing the top cover will help prevent dust from settling on the turntable.
- Always relock the tone arm clip before transporting the unit.
- Do not place anything on top of the turntable cover, especially while playing a record.
Listening to a CD
- Select “CD” function.
(Note: When no disc is set, “no” will appear on the display.) - Press the OPEN/ CLOSE button
(Note: This button only works in CD mode.)
- Place a disc on the tray with the printed label face up.
- Press the OPEN/CLOSE button to close the tray.
- Press the PLAY/PAUSE button ( ) to begin playback.
(Note: The CD playback will start automatically.) - To temporarily pause playback, press the PLAY/PAUSE button ( ). Press again to resume.
- To skip tracks forward or backward, press the corresponding skip button will return to the beginning of the previous track.
- To fast forward / rewind within a track, press and hold down the corresponding skip button until the desired position is reached.
- To stop playback, press the STOP ( ) button.
Important:
- Never place more than one disc on the tray.
- The disc must be placed in the center of the disc tray. An incorrectly loaded disc can permanently damage the tray door mechanism.
- Do not push the CD tray – always use the OPEN/CLOSE button.
- It takes a moment for the unit to load a disc, during which all buttons will be temporarily deactivated.
Listening to the FM Radio
- Press function selection button to select “rAD” function.
- Tune to the desired station by using the Radio Tuner Knob.
Listening to an External Audio Device (AUX Mode)
Press function selection button to select the “AUX” function.
In AUX mode, this unit can play audio from an external audio source (iPod, MP3 Player, Portable CD Player, etc.)
There is an AUX jack on the rear side of the unit. When connecting a device that has an AUX-IN jack, use the cable with 3.5mm plugs on either end with the rear AUX IN jack.
- Plug one end of the 3.5mm cable (not included) into the AUX IN jack.
- Plug the other end of the cable into the headphone jack of the external audio source.
NOTE: All operations are only available on your external device.
Bluetooth Streaming
This unit has the ability to receive Bluetooth audio from an external device like a smartphone, laptop, etc. This unit also has the ability to stream Vinyl and other functions directly to an external Bluetooth speaker or headphone of your choice. See the sections below for instruction.
BLUETOOTH RECEIVER
- Press function selection button to select “BLUE” function.
- The Bluetooth indicator will flash.
- Set the Bluetooth function of your external device when the apparatus is on.
- Set to search Bluetooth device on your external device.
NOTE: The effective distance between your external device and this apparatus is 10 meters. - When “Victrola Ellington” appears on the paired devices list on your external device, press “Victrola Ellington” to connect.
If a password is required, use “0000” then press “OK” on your external device. - When your Bluetooth connection is successful, Bluetooth LED indicator will remain lit. NOTE: The Fast Forward/Rewind function is only available on your external device.
- Now you can stream music from your smartphone or other Bluetooth device.
BLUETOOTH TRANSMITTING FUNCTION
- FM/CD/AUX/PHONO modes have a Bluetooth transmitting function.
- Select the mode (FM/CD/AUX/PHONO) you wish to stream to an external Bluetooth device.
- Locate and turn ON an external Bluetooth speaker (not included) or headphone (not included). Make sure it is in pairing mode.
- Press and hold the pair button (on the Ellington) to activate the Bluetooth transmitting function, the Bluetooth indicator will flash. When the Bluetooth connection is successful, the Bluetooth LED indicator will remain lit.
- Press and hold the pair button again to cancel the Bluetooth transmitting function, the Bluetooth LED indicator will turn off.
- Now you can stream audio from the Ellington to an external Bluetooth device.
NOTE:
- When the Bluetooth speaker is connected, the Ellington will have no sound.
- Once connection is disconnected, the sound of the host speaker will activate again automatically.
- Place the Bluetooth device within 1m (3.3′) of the product to perform pairing correctly.
- The product stays in the pairing mode for about 30 seconds. If pairing is not properly completed, follow the above steps again from the beginning after turning all devices OFF.
Maintenance / Proper Handling
Handling Vinyl Records
- Do not touch the record’s grooves. Only handle records by the edges or the label with clean hands. Touching the record surface will cause your record’s quality to deteriorate.
- To clean a record, use a soft anti-static cloth to gently wipe the record surface.
- Keep records in their protective sleeves when not in use.
- Always store records upright on their edges
- Avoid placing records in direct sunlight, close to a heat source (radiators, stoves, etc.), or in a location subject to vibration, excessive dust, heat, cold or moisture.
General Care
- When removing the power plug from the wall outlet, always pull directly on the plug. Never pull the cord.
- To keep the laser pickup clean, do not touch it, and do not forget to close the disc tray.
- Do not attempt to clean the unit with chemical solvents as this might damage the finish.
- For cleaning, only use a clean, dry cloth.
- In order to shut off the power to this product completely, unplug the power cord from the wall outlet. Be sure to unplug the unit if you do not intend to use it for an extended period of time.
How to Replace the Turntable Stylus (Replacement Stylus # VND-08)
Removing the Stylus from the Cartridge 
- Using your hand, hold at point “A”and push down point “B”
WARNING: When applying force to stylus, too much may damage or break the stylus. - The stylus will separate from the front of the cartridge.
- Continue to push the stylus down until back is disconnected
- With a tweezer, carefully separate the wires from the back pins.
WARNING: Do not damage or pinch the wires.
Installing the Stylus
Follow the previous steps but in reverse.
Caution:
- Do not remove or bend the stylus needle.
- Do not touch the needle to avoid injury to your hand.
- Turn off the unit’s power before you replace the stylus.
- Keep out of reach of children.
Please Note: The stylus should last about 50 hours under normal use. It is recommended that the stylus be replaced as soon as you notice a change in sound quality.
Specifications
GENERAL
Power Requirements: AC 100-240V~50/60Hz
Power Consumption: 15W
Dimensions (W x H x D): 16.9 in x 13.9 in x 8.4 in (approx.) 430 x 353 x 213 mm (approx.)
Weight: 35.52 lbs (approx.) 6.114 kg. (approx.)
AMPLIFIER
Output Power: 1 x 5 W
Frequency Response: 60 to 20KHz
SPEAKER SYSTEM
Type : 1-way
Impedance: 3 ohms
Input Power: Max. 10W
Tweeter : 4 ohms 5W
RECORD PLAYER
Motor : DC servo motor
Drive System : Belt Drive
Speeds : 33-1/3 RPM, 45 RPM and 78 RPM
S/N Ratio : More than 50 dB
Cartridge Type : Ceramic Stereo Cartridge
Stylus : VND-08
BLUETOOTH
Bluetooth Version : Bluetooth V5.0
Bluetooth Profiles : A2DP, AVRCP
Bluetooth Frequency range : 2.402GHz – 2.480GHz
Operating Distance : 30 feet / 10 meters
California PROP 65 Warning
WARNING: This product can expose you to chemicals including lead, which is known to the State of California to cause cancer and birth defects or other reproductive harm. For more information go to www.P65Warnings.ca.gov.
For further assistance with your product, call Innovative Technology at
TOLL FREE# 1-877-ITECH-97 (1-877-483-2497).
Please note: As a result of continual improvements, the design and specifications of this product are subject to change without notice.
Bluetooth is a registered trademark of Bluetooth SIG, Inc.
Other trademarks and trade names are those of their respective owners.
Made in China.
Troubleshooting Guide
| GENERAL | Symptom | Possible Cause | Solution |
| · Unit will not power on. | · Unit is unplugged. | · Connect the unit to the AC power supply. | |
| · No sound output from speakers. | · The volume level is set too low. · The input selector does not match the playback source. | · Adjust the volume. · Select the correct input source. | |
| · Noise/Distortion in sound output. | · The unit is too close to a TV set or another interfering device. | · Turn off the TV or other appliance, and relocate the unit. | |
| · Unit fails to respond. | · It might result from external factors such as ESD (Electro- static discharge). | · Disconnect the power cord and external audio device. Re-plug the power cord after one minute. | |
| FM RADIO | · Cannot listen to any station, or signal appears weak. | · The station is not tuned-in properly. · A TV set is being used nearby and is interfering with the radio reception. | · Properly tune-in the desired station. · Turn-off the interfering TV set. |
| · The sound is distorted. | · The antenna is not oriented properly. | · Re-orient the antenna until reception improves. | |
| PHONO | · Decline in turntable audio performance. | · The turntable stylus is worn out. | · Replace the stylus. |
| AUX | · No sound output with external audio device plugged into AUX in jack. | · The unit is not on AUX mode. | · Ensure the unit is switched to AUX mode. |
| BLUETOOTH | · No sound. | · The unit is not switched to Bluetooth mode. · Your device’s and/or the unit’s volume is not turned up. · Your device is too far from the unit or there is some obstacle between your device and the unit. | · Ensure the unit is switched to BT mode. · Move your Bluetooth device closer to unit. · Turn up the volume on your portable device and/or the unit. · Turn off your Bluetooth device and unit then power them both back on. |
| · Sound is garbled. | · Your device’s and/or the unit’s volume is not adjusted properly. | · Turn down the volume on your device/phone and the unit. | |
| · Unable to pair with a Bluetooth device. | · Your device doesn’t have Bluetooth connectivity. · The Bluetooth pairing is not successful. | · Confirm that your device is Bluetooth compatible. · Pair the unit and device again. |
FCC Statement
This device complies with Part 15 of the FCC Rules. Operation is subject to the following two conditions: (1) This device may not cause harmful interference, and (2) this device must accept any interference received, including interference that may cause undesired operation.
NOTE: This equipment has been tested and found to comply with the limits for a Class B digital device, pursuant to Part 15 of the FCC Rules. These limits are designed to provide reasonable protection against harmful interference in a residential installation. This equipment generates uses and can radiate radio frequency energy and, if not installed and used in accordance with the instructions, may cause harmful interference to radio communications. However, there is no guarantee that interference will not occur in a particular installation. If this equipment does cause harmful interference to radio or television reception, which can be determined by turning the equipment off and on, the user is encouraged to try to correct the interference by one of the following measures:
- Reorient or relocate the receiving antenna.
- Increase the separation between the equipment and receiver.
- Connect the equipment into an outlet on a circuit different from that to which the receiver is connected.
- Consult the dealer or an experienced radio/TV technician for help.
WARNING: Any changes or modifications not expressly approved by the party responsible for compliance could void the user’s authority to operate this equipment.
The device must not be co-located or operating in conjunction with any other antenna or transmitter.
To maintain compliance with the FCC’s RF exposure guidelines, place the product at least 20cm from nearby persons.
IC Statement
This device complies with RSS247 of Industry Canada. This device complies with Industry Canada license-exempt RSS standard(s). Operation is subject to the following two conditions: (1) this device may not cause interference, and (2) this device must accept any interference, including interference that may cause undesired operation of the device.
The device should be installed and operated with a minimum distance of 20cm between the radiator and your body.
WARRANTY
Victrola is a registered trademark of Innovative Technology Electronics LLC.
Innovative Technology Electronics LLC.
Limited Warranty: 90 Days Labor, One Year Parts
Innovative Technology Electronics LLC. (IT) warrants the product to be free from “Defects” in materials under normal use for a period of “One Year” from the date of the original purchase. The Warranty is “Not” transferable. IT agrees, within the initial “90 Day” period, to repair or replace the product if it is determined to be defective at “No Charge”. It is further agreed that IT will cover the cost to repair or replace damaged “Parts” only for a total period of “One Year” from the date of the original purchase. The warranty does not cover cosmetic damage, antennas, AC cords, cabinets, headbands, ear-pads, or damage due to line power surges, connection to improper voltage supply or settings, misuse, mishandling, accident, acts of God or attempted repair by an unauthorized service agent.
To obtain service, the purchaser MUST present an original sales receipt / proof of purchase. Please contact us at www.victrola.com to request an RMA (Return Material Authorization) number to return products for service or replacement. Returns without an RMA number on the package will be refused and returned to sender. Upon receipt of the returning item and our full inspection (IT) may issue a replacement to customer for the same item or one that has equivalent value and features. To return an item, supply full name, return address, phone number, item purchased, receipt of purchase and reason for return to obtain RMA number. All returns must be in the original packaging or reasonable substitute to prevent damage. Customer “Must” include full name, shipping address and telephone number inside of package. No return will be shipped back to a PO Box or APO address Please include your check or money order in the amount of
- USD$5.00 for items $10.00 to $39.99 (Price Paid Per Unit)
- USD$10.00 for items $40.00 to $99.99 (Price Paid Per Unit)
- USD $16.00 for items $100.00 and up (Price Paid Per Unit)
- Shipping fees are non-refundable
to be payable to Innovative Technology Electronics LLC.(for handling and return shipping charges) (IT) will not be responsible for delays or unprocessed claims resulting from a purchaser’s failure to provide any / all of the necessary information.
Send all inquiries or RMA request via our website www.victrola.com/pages/technical-support.
Innovative Technology Electronics LLC.
1 Channel Drive
Port Washington, NY 11050
Toll free: 1-877-483-2497
Website for support: www.victrola.com/pages/technical-support
There are no express warranties except as listed above.
REPAIR OR REPLACEMENT AS PROVIDED UNDER THIS WARRANTY IS THE EXCLUSIVE REMEDY OF THE CUSTOMER, (IT) SHALL NOT BE LIABLE FOR ANY INCIDENTAL OR CONSEQUENTIAL DAMAGES FOR BREACH OF ANY EXPRESS OR IMPLIED WARRANTY ON THIS PRODUCT EXCEPT TO THE EXTENT PROHIBITED BY APPLICABLE LAW. ANY IMPLIED WARRANTY OF MERCHANTABILITY OR FITNESS FOR A PARTICULAR PURPOSE ON THIS PRODUCT IS LIMITED IN DURATION TO THE DURATION OF THIS WARRANTY.
Some states do not allow the exclusion or limitation of incidental or consequential damages, or limitations on how long an implied warranty lasts, so the above exclusions or limitations may not apply to you. This warranty gives you specific legal rights and you may also have other rights, which vary from state to state.











![Victrola 8-in-1 Turnable Bluetooth Record Player [vta-754b] Instruction Manual Victrola 8-in-1 Turnable Bluetooth Record Player [vta-754b] Instruction Manual](https://static-data1.manualsee.com/1/img/152/17285/2020/12/Victrola-8-in-1-Turnable-Bluetooth-Record-Player.png)
![Victrola 8-in-1 Turnable Bluetooth Record Player [vta-754b] Instruction Manual Victrola 8-in-1 Turnable Bluetooth Record Player [vta-754b] Instruction Manual](https://static-data1.manualsee.com/1/img/379/30050/2020/12/Victrola-8-in-1-Turnable-Bluetooth-Record-Player_1-1.png)











