
MODEL: VTA-255B
INSTRUCTION MANUAL

![]()
PLEASE READ THIS INSTRUCTION MANUAL CAREFULLY BEFORE USE AND KEEP IT FOR FUTURE REFERENCE.
![]()
AVERTISSEMENT:
RISQUE DE CHOC! LECTRIQUE — NE PAS OUVRIR.
- This lightning flash with arrowhead symbol within an equilateral triangle is intended to alert the user to the presence of non-insulated “dangerous voltage” within the product’s enclosure that may be of sufficient magnitude to constitute a risk of electric shock.
- Warning: To reduce the risk of electric shock, do not remove cover (or back) as there are no user-serviceable parts inside. Refer servicing to qualified personnel. -The exclamation point within and equilateral triangle is intended to alert the user to the presence of important operating and maintenance instructions in the literature accompanying the appliance.
CAUTION: To reduce the risk of fire or electric shock, do not expose this appliance to rain or moisture.
WARNING: To prevent electric shock, do not use this (polarized) plug with an extension cord, receptacle, or other outlets unless the blades can be fully inserted to prevent blade exposure
This equipment is a Class Il or double insulated electrical appliance. It has been designed in such a way that it does not require a safe connection to electrical earth.
Important Safety Instructions
- Read these instructions — All the safety and operating instructions should be read before this product is operated.
- Keep these instructions- The safety and operating instructions should be retained for future reference.
- Heed all warnings — All warnings on the appliance and in the operating instructions should be adhered to.
- Follow all instructions — All operating and use instructions should be followed.
- Do not use this apparatus near water — The appliance should not be used near water or moisture — for example, in a wet basement or near a swimming pool, and the like.
- Clean only with dry cloth.
- Do not block any ventilation openings. Install in accordance with the manufacturer’s instructions.
- Do not install near any heat sources such as radiations, heat registers, stoves, or other apparatus (including amplifiers) that produce heat.
- Do not defeat the safety purpose of the polarized or grounding plug. A polarized plug has two blades with one wider than the other. A grounding plug has two blades and a third grounding prong. The wide blade or the third prong is provided for your safety. If the provided plug does not fit into your outlet, consult an electrician for replacement of the obsolete outlet.
- Protect the power cord from being walked on or pinched particularly at the plugs, convenience receptacles, and at the point where they exit from the apparatus.

- Only use attachments/accessories specified by the manufacturer.
- Use only with the cart, stand, tripod, bracket, or table specified by the > manufacturer, or sold with the apparatus. When a cart or rack is used, use caution when moving the cart/apparatus combination to avoid injury from f.\ a tip-over. =a
- Unplug the apparatus during lighting storms or when unused for long periods of time.
- Refer all servicing to qualified personnel. Servicing is required when the apparatus has been damaged in any way, such as power supply cord or plug is damaged, liquid has been spilled or objects have fallen into the apparatus has been exposed to rain or moisture, does not operate normally, or has been dropped.
![]()
AVERTISSEMENT:
RISQUE DE CHOC ELECTRIQUE—NE PAS OUVAIR.
- This lightning flash with arrowhead symbol within an equilateral triangle is intended to alert the user to the presence of non-insulated “dangerous voltage” within the product’s enclosure that may be of sufficient magnitude to constitute a risk of electric shock.
- Warning: To reduce the risk of electric shock, do not remove cover (or back) as there are no user-serviceable parts inside. Refer servicing to qualified personnel.
- The exclamation point within and equilateral triangle is intended to alert the user to the presence of important operating and maintenance instructions in the literature accompanying the appliance.
![]()
16. This equipment is a Class I] or double insulated electrical appliance. It has been designed in such a way that it does not require a safety connection to electrical earth.
17. The mains plug is used as disconnect for the device, the disconnect of the device shall remain readily operable.
18. To reduce the risk of fire or electric shock, do not expose this apparatus to rain or moisture. The apparatus shall not be exposed to dripping or splashing and that no objects filled with liquids, such as vases, shall not be placed on apparatus.
19. Use the equipment in a moderate climate.
ACCESSORIES INCLUDED
- RCA LINE OUT CABLE
- INSTRUCTION MANUAL
- WARRANTY (BACK OF MANUAL)
- 45 RPM ADAPTER
- BONUS: EXTRA TURNTABLE NEEDLE
Product Overview
Front View

- POWER
(STANDBY) Push to turn the unit ON or OFF. - PLAY/PAUSE
Press to start playback, press again to pause. (Note: This button only works in Bluetooth mode.) - STANDBY INDICATOR Illuminates Red when powering on the unit.
- PHONO INDICATOR Illuminates Green when in PHONO mode.
- AUX INDICATOR Illuminates Red when in AUX mode.
- BLUETOOTH INDICATOR Blue light flashes when the unit is waiting to pair. Blue light stays lit when the external device is connected to the unit.
- FM INDICATOR Orange light illuminates when station is in stereo playing
- PREVIOUS
track. - NEXT
track. - PHONO Press to enter the PHONO mode.
- VOLUME KNOB Turn to adjust volume.
- AUX Press to enter the AUX mode.
- 3.5mm AUX IN JACK Connects your external source to the AUX IN jack.
- 3.5mm HEADPHONE JACK – Accepts headphone/earphone plugs.
- FM RADIO Press to enter the FM mode.
- RADIO TUNER KNOB In FM mode, turn to tune in a station.
- BT Press to enter the Bluetooth mode.
- STEREO SPEAKERS
Rear View
- FM Wire Antenna While tuned to a station in FM mode, extend the wire and reposition to adjust for best reception.
- LINE OUT Jacks For amplifier device with RCA auxiliary input sockets, insert the white and red plugs on the RCA cable into the unit. Insert the opposite end into the amplifier device. Be sure to connect the white plug to the white jack and the red plug to the red jack.
- AC Power Cord Connect the AC plugs into a wall outlet. It is strongly recommended that this product should be operated only from the type of power source indicated on the marking label.
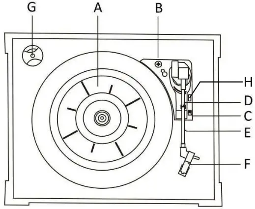
Parts of the Turntable

A. Turntable.
B. Safety Screw (for transport) Before using the unit, turn the screw clockwise using a coin or screwdriver.
Important: When you transport the unit, turn the screw counterclockwise to secure the turntable.
C. Speed Selector.
D. Tone Arm holder.
E. Tone Arm. Before use, completely loosen the plastic tie on the tone arm and lift the tone arm up.
F. STYLUS.
G. 45 RPM adaptor.
H. Cue Lever.
Setup / Basic Operation
Setup
- Remove white protective needle cover by gently pulling towards front of unit.
- Remove any packaging materials from the unit.
- Connect the AC power cord to a wall outlet.
Note:
- It is strongly recommended that this product should be operated only from the type of power source indicated on the marking label.
- To prevent interference, avoid bundling audio signal cables together with the AC power cord.
Basic Operation
- Push the STANDBY button to turn the unit on.
- Select the source by pressing the PHONO/AUX/FM/BT button.
- Rotate the VOLUME knob to adjust to the desired sound level.
Listening through RCA LINE OUT
For amplifier device listening, first, reduce the volume level to minimum. Insert the white and red plugs on the RCA cable into the unit, then insert the opposite end into the amplifier device. Be sure to connect the white plug to the white jack and the red plug to the red jack. Listening through Earphones/Headphones (not included) For private listening, first, reduce the volume level to minimum. Insert your headphones’ plug into the 3.5mm jack, then adjust the volume up by turning the VOLUME knob.
Note: The speakers will automatically be deactivated while headphones are plugged in.
CONDENSATION WARNING:
When the unit is moved from a cold or warm place or is used following a sudden temperature change, there is the danger that water vapor in the air may condense on the unit, preventing proper operation. In such cases, leave the unit for 1-2 hours after plugging it into an AC outlet to allow it to stabilize at the temperature of its surroundings.
Listening to a Vinyl Record
- Before use, completely loosen the TRANSPORTATION SCREW by turning it clockwise with a coin or screwdriver. Detach the stylus guard (white plastic cover).
- Turn the unit ON by pressing the STANDBY button. oe
- Press the PHONO button to enter the PHONO mode.
- Gently open the dust cover. Be careful not to pinch your finger.
- Put the record on the turntable. Select the speed. When playing a 45 RPM record, use the included 45 adaptor.
- Gently push the CLAMPER to the right to release the TONE ARM.
- Raise the CUE LEVER to lift the TONE ARM off the tone arm support.
- Move the TONE ARM gently to the edge of the record (or the starting point of a track).
The turntable will begin to turn.
- Gently lower the TONE ARM by slowly releasing the CUE LEVER. You can lower the TONE ARM manually if the CUE LEVER has not been raised.
- Turn the VOLUME KNOB to adjust the volume.
- When playback has finished, slightly lift the tone arm using the CUE LEVER and return it to the TONE ARM holder. The rotation stops.
Important:
- Closing the top cover will help prevent dust from settling on the turntable.
- Always relock the tone arm clip before transporting the unit.
- Do not place anything on top of the turntable cover, especially while playing a record.
Listening to the FM Radio
- Press the FM button to enter FM mode.
- Tune to the desired station using the Radio Tune Knob.
NOTE: In FM Mode, the “FM/ST” indicator lights up orange when the station reception is in stereo.
Adjusting for Best Reception
FM broadcast: Extend and reposition the FM antenna.
Listening to an External Audio Device (AUX Mode)
In AUX (auxiliary) mode, this unit can play audio from an external audio source (iPod, MP3 Player, Portable CD Player, etc.)
Playing via 3.5mm AUX-IN Jack on the Front of Unit:
- Turn the unit ON by pressing the STANDBY button.
- Press the AUX button to enter the AUX IN mode.
- Connect the 3.5mm aux-in cable (NOT included) into the 3.5mm AUX-IN Jack to play an external audio source, such as CD player, tablet, MP3 player, etc.
LINE-OUT Jacks on the Back of Unit:
If you play this device through external powered speakers, LINE OUT you can connect the unit with an RCA component cable (included). Make sure to connect the white plug to white KC JK jack (left) and the red plug to the red jack (right).
![]()
Listening to an External Audio Device (Bluetooth Mode)
In BT (Bluetooth) mode, this unit can play music from external devices which have a built-in Bluetooth feature.
GETTING CONNECTED USING BLUETOOTH
- Press the BT button to enter the Bluetooth mode.
- The Bluetooth indicator will flash blue.
- Turn ON the Bluetooth function on your external device.
NOTE: The effective distance between your external device and this apparatus is 10 meters (33zft). - Wait for “Victrola Lawrence” to appear on the paired devices list of your external device and press “Victrola Lawrence”. In some instances: a window will ask you a password. Fill in “OOOO” then press “OK” on your external device.
- A few seconds later your Bluetooth connection is successful and the blue indicator stays lit.
- Press the PLAY/PAUSE button (
) to begin playback. - To temporarily pause playback, press the PLAY/PAUSE button (
). Press again to resume. - To skip to the previous or next tracks, press the corresponding skip button (
) to listen.
NOTE: Stop, fast forward / rewind are only available on your external device.
Maintenance / Proper Handling
Handling Vinyl Records
- Do not touch the record’s grooves. Only handle records by the edges or the label with clean hands. Touching the record surface will cause your record’s quality to deteriorate.
- To clean a record, use a soft anti-static cloth to gently wipe the record surface.
- Keep records in their protective sleeves when not in use.
- Always store records upright on their edges
- Avoid placing records in direct sunlight, close to a heat source (radiators, stoves, etc.), or in a location subject to vibration, excessive dust, heat, cold or moisture.
General Care
- When removing the power plug from the wall outlet, always pull directly on the plug. Never pull the cord.
- To keep the laser pickup clean, do not touch it, and do not forget to close the disc tray.
- Do not attempt to clean the unit with chemical solvents as this might damage the finish.
- For cleaning, only use a clean, dry cloth.
- In order to shut off the power to this product completely, unplug the power cord from the wall outlet. Be sure to unplug the unit if you do not intend to use it for an extended period of time.
How to Replace the Turntable Stylus (Replacement Needle # ITNP-S1)
The stylus should last about 50 hours under normal use. However, it is recommended that the stylus be replaced as soon as you notice a change in sound quality. Prolonged use of a worn-out stylus may damage the record. The highest speed of 78 RPM records would wear out the stylus more quickly.

Removing the Stylus from the Cartridge
- Set a screwdriver at the tip of the stylus and push down to the direction “A’.
WARNING: When applying force to stylus, too much may damage or break the stylus. - Pull the stylus out toward the direction “B”
Installing the Stylus
- Hold the tip of the stylus and insert the other edge Nay by pressing toward direction “C”.
- Push the stylus up toward direction “D” until it locks at the tip.
Caution:
- Do not remove or bend the stylus needle.
- Do not touch the needle to avoid injury to your hand.
- Turn off the unit’s power before you replace the stylus.
- Keep out of reach of children.
Specifications
GENERAL
Power Requirements……………………………………………..AC 120V ~ 60HZ
Power Consumption…………………………………………….. 30W
AMPLIFIER
Output Power……………………………………………………….5W + 5W
Frequency Response……………………………………………. 60 to 20,000 HZ
SPEAKER SYSTEM
Type……………………………………………………………………..2-way
Impedance……………………………………………………………8 OAMS
Output Power. …………………………………………………….Max. 6W
FM Radio
Range……………………………………………………………………88 to 108 MHz
RECORD PLAYER
Motor…………………………………………………………………..DC servo motor
Drive System………………………………………………………. Belt Drive
Speeds………………………………………………………………….33-1/3 rpm, 45 rpm, and 78 rpm
S/N Ratio…………………………………………………………….More than 50 dB
Cartridge Type………………………………………………………Stereo Cartridge
Stylus…………………………………………………………………….ITNP-S1
BLUETOOTH
Bluetooth Version………………………………………………… Bluetooth V5.0
Bluetooth Profiles………………………………………………….A2DP, AVRCP
Bluetooth Frequency range……………………………………2.480GHZ
Operating Distance………………………………………………..10 meters (33 ft.)
Please note: As a result of continual improvements, the design and specifications of this product are subject to change without notice.
Made in China.
Bluetooth is a registered trademark of Bluetooth SIG, Inc. Other trademarks and trade names are those of their respective owners.
| GENERAL | Symptom | Possible Cause | Solution |
| •Unit will not power on. | •Unit is unplugged. | •Connect the unit to the AC power supply. | |
| •No sound output from speakers. | •The volume level is set too low. •The input selector does not match the playback source. | •Adjust the volume. •Select the correct input source. | |
| •Noise/Distortion in sound output. | •The unit is too close to a TV set or another interfering device. | •Turn off the TV or other appliance, and relocate the unit. | |
| •Unit fails to respond. | •It might result from external factors such as ESD (Electro-static discharge). | •Disconnect the power cord and external audio device. Re-plug the power cord after one minute. | |
| FM RADIO | •Cannot listen to any station, or signal appears weak. | •The station is not tuned-in properly. •A TV set Is being used nearby and is interfering with the radio reception. | •Properly tune-in the desired station. •Turn-off the Interfering TV set. |
| •The sound is distorted. | •The antenna is not oriented properly. | •Re-orient the antenna until reception improves. | |
| PHONO | •Decline In turntable audio performance | •The turntable stylus is worn out | •Replace the stylus. |
| AUX | •No sound output with external audio device plugged into rear AUX in jack. | •Both AUX in jacks (front and rear) are plugged. | •Unplug the front AUX in Jack. |
| BLUETOOTH | •No sound | •The unit is not switched to Bluetooth mode •Your device’s and/or the unit’s volume is not turn up. •Your device is too far from the unit or there’re some obstacle between your device and the unit | •Ensure the unit is switched to BT mode. •Move your Bluetooth device closer to unit •Turn up the volume on your portable device and/or the unit. •Tum OFF your Bluetooth device and unit. Then power them both back ON |
| •Sound has a lot of static | •Your device is too far away | •Bring your device closer to the turntable | |
| •Unable to pair with a Bluetooth device | •Your device doesn’t have Bluetooth connectivity. •The Bluetooth pairing is not successful | •Confirm that your device is Bluetooth compatible. •Re-pair the unit and device again. |
FCC Statement
Warning: Changes or modifications to this unit not expressly approved by the party responsible for compliance could void the user authority to operate the equipment.
NOTE: This equipment has been tested and found to comply with the limits for Class B digital device, pursuant to part 15 of the FCC Rules. These limits are designed to provide reasonable protection against harmful interference in a residential installation. This equipment generates, uses, and can radiate radio frequency energy and, if not installed and used in accordance with the instructions, may cause harmful interference to radio communications. However, there is no guarantee that interference will not occur in a particular installation. If this equipment does cause harmful interference to radio or television reception, which can be determined by turning the equipment off and on, the user is encouraged to try to correct the
interference by one or more of the following measures:
- Reorient or relocate the receiving antenna.
- Increase the separation between the equipment and the receiver.
- Connect the equipment into an outlet on a circuit different from that to which the receiver is connected.
- Consult the dealer or an experienced radio/TV technician for help.
This device complies with Part 15 of the FCC Rules. Operation is subject to the following two conditions: (1) This device may not cause harmful interference, and (2) this device must accept any interference received, including interference that may cause undesired operation.
FCC Radiation Exposure Statement This equipment complies with FCC radiation exposure limits set forth for an uncontrolled environment. This equipment should be installed and operated with minimum distance 20cm between the radiator & your body.
IC WARNING
This device complies with Industry Canada’s license-exempt RSSs. Operation is subject to the following two conditions:
- This device may not cause interference, and
- This device must accept any interference, including interference that may cause undesired operation of the device.
Warranty
United States
Victrola (Innovative Technology Electronics, LLC) warrants to the original retail purchaser that this product will be free from defective materials and workmanship for one (1) year from the date of purchase, subject to the limitations below.
This warranty period is not extended if we replace the product.
To obtain a replacement under the terms of this warranty, you must contact the dealer from which it was purchased with your original receipt. If assistance from the dealer from which it was purchased is impossible, you may contact our customer service for warranty assistance at victrola.com/contact.
Except as limited below, if the product proves defective in either material or workmanship within one (1) year from the date of purchase, Victrola will replace the product at no charge. If the product model is no longer available and cannot be replaced with an identical model, Victrola will issue a merchandise credit for the purchase price to be edeemed at victrola.com.
Limitations:
- This limited warranty does not cover failure of the product arising, in whole or in part, from improper installation, storage, transportation, misuse, abuse, accident, neglect, mishandling, unauthorized repair, modification, or wear from ordinary use or environmental deterioration.
- This limited warranty does not cover cosmetic damage, including paint damage, or consequential damage to other components or premises which may result for any reason from the failure of the product.
- This limited warranty is null and void for products not used in accordance with Victrola’s instructions.
- This limited warranty terminates if the original retail purchaser sells or otherwise transfers this product.
- This limited warranty is null and void for defects or damage caused by installation or repair performed by any person or entity other than a Victrola authorized installer or dealer.
This warranty gives you specific legal rignts, and you may also have other rights which vary from state to state, jurisdiction to jurisdiction, or country to country. All express and implied warranties for the product, including but not limited to any implied warranties of merchantability and fitness for a particular purpose, are limited in time to the term of this warranty. Some states, jurisdictions, or countries do not allow the exclusion of certain implied warranties or conditions, or limitations on how long an implied warranty or condition lasts, so this limitation may not apply to you. Victrola’s responsibility for malfunctions and defects in hardware is limited to replacement or repair as set forth in this warranty statement. Victrola does not accept liability for special, punitive, consequential, or incidental damages or losses, whether direct or indirect, including without limitation, any liability for third party claims against you for damages or losses or for products not being available for use. The maximum liability for which Victrola may be responsible will be no more than the amount you paid for the product that is the subject of the claim. Some states, jurisdictions, or countries do not allow the exclusion or limitation of special, indirect, incidental, or consequential damages, so the above limitation or exclusion may not apply to you.
Canada and US Territories
The Warranty on this product shall comply with applicable law when sold to a consumer in Canada or a US Territory. To obtain any applicable warranty service, please contact the dealer from which you purchased the product or the distributor that supplied the product, with your original receipt. If assistance from the dealer from which it was purchased is impossible, you may contact our customer service for warranty assistance at victrola.com/contact.
If this product proves defective in either material or workmanship, Victrola will replace the product at no charge. If the product model is no longer available and cannot be repaired effectively or replaced with an identical model, Victrola at its sole option may replace the unit with a current model of equal or greater value.
Outside the U.S, Canada, and US Territories
The Warranty on this product shall comply with applicable law when sold to a consumer outside of the United States, Canada, and US Territories. To obtain any applicable warranty service, please contact the dealer from which you purchased the product or the distributor that supplied the product, with your original receipt.
VTA255B072921


![Victrola 8-in-1 Turnable Bluetooth Record Player [vta-754b] Instruction Manual Victrola 8-in-1 Turnable Bluetooth Record Player [vta-754b] Instruction Manual](https://static-data1.manualsee.com/1/img/152/17285/2020/12/Victrola-8-in-1-Turnable-Bluetooth-Record-Player.png)
![Victrola 8-in-1 Turnable Bluetooth Record Player [vta-754b] Instruction Manual Victrola 8-in-1 Turnable Bluetooth Record Player [vta-754b] Instruction Manual](https://static-data1.manualsee.com/1/img/379/30050/2020/12/Victrola-8-in-1-Turnable-Bluetooth-Record-Player_1-1.png)
















