VICTROLA VTA-71 Brighton Bluetooth Record Player

- This lightning flash with arrowhead symbol within an equilateral triangle is intended to alert the user to the presence of non-insulated “dangerous voltage” within the product’s enclosure that may be of sufficient magnitude to constitute a risk of electric shock.
- Warning: To reduce the risk of electric shock, do not remove cover (or back) as there are no user-serviceable parts insides. Refer servicing to qualified personnel.
- The exclamation point within an equilateral triangle is intended to alert the user to the presence of important operating and maintenance instructions in the literature accompanying the appliance.

CAUTION: To reduce the risk of fire or electric shock, do not expose this appliance to rain or moisture.
WARNING:To prevent electric shock, do not use this (polarized) plug with an extension cord, receptacle or other outlet unless the blades can be fully inserted to prevent blade exposure.
SAFETY INSTRUCTIONS
- Read these instructions – All the safety and operating instructions should be read before this product is operated.
- Keep these instructions – The safety and operating instructions should be retained for future reference.
- Heed all warnings – All warnings on the appliance and in the operating instructions should be adhered to.
- Follow all instructions – All operating and use instructions should be followed.
- Do not use this apparatus near water – The appliance should not be used near water or moisture – for example, in a wet basement or near a swimming pool, and the like.
- Clean only with dry cloth.
- Do not block any ventilation openings. Install in accordance with the manufacturer’s instructions.
- Do not install near any heat sources such as radiations, heat registers, stoves, or other apparatus (including amplifiers) that produce heat.
- Do not defeat the safety purpose of the polarized or grounding plug. A polarized Safety Instructionsplug has two blades with one wider than the other. A grounding plug has two blades and a third grounding prong. The wide blade or the third prong is provided for your safety. If the provided plug does not fit into your outlet, consult an electrician for replacement of the obsolete outlet.
- Protect the power cord from being walked on or pinched particularly at the plugs, convenience receptacles, and at the point where they exit from the apparatus.
- Only use attachments/accessories specified by the manufacturer.
- Use only with the cart, stand, tripod, bracket, or table specified by the manufacturer, or sold with the apparatus. When a cart or rack is used, use caution when moving the cart/apparatus combination to avoid injury from tip-over.
- Unplug the apparatus during lighting storms or when unused for long periods of time.
- Refer all servicing to qualified personnel. Servicing is required when the apparatus has been damaged in any way, such as power supply cord or plug is damaged, liquid has been spilled or objects have fallen into the apparatus has been exposed to rain or moisture, does not operate normally, or has been dropped.
- The mains plug is used as disconnect device, the disconnect device shall remain readily operable.
- To reduce the risk of fire or electric shock, do not expose this apparatus to rain or moisture. The apparatus shall not be exposed to dripping or splashing and that no objects filled with liquids, such as vases, shall not be placed on apparatus.
- Use the equipment in a moderate climate.
ACCESSORIES INCLUDED
- INSTRUCTION MANUAL
- WARRANTY (BACK OF MANUAL)
- POWER ADAPTOR
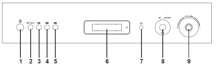
PRODUCT OVERVIEW
Front View
Rear View

Part of the Turntable

- POWER: Press to turn the unit ON or OFF.
- BT OUT: Press to activate the Bluetooth output function.
- PLAY/PAUSE Press to start playback, press again to pause. Long press the button for 3 seconds to disconnect the Bluetooth pairing.(NOTE: This button only works in Bluetooth mode.)
- PREVIOUS Skip to the previous track or station.
- NEXT Skip to the next track or station.
- Display Screen
- 3.5mm EARPHONE JACK: Accepts headphone/earphone plugs.
- BT/PHONO/FM KNOB: Turn to select BT/PHONO mode.
- VOLUME KNOB: Turn to adjust volume.
- LINE OUT jacks For amplifier device with RCA auxiliary input sockets, insert the white and red plugs on the RCA cable into the unit. Insert the opposite end into the amplifier device. Be sure to connect the white plug to the white jack and the red plug to the red jack.
- DC Input Jack Connect the power adapter to the jack to power on the unit.
- Turntable
- 45 RPM adapter
- Tone Arm holder
- Cue Lever: Before use, gently push the Tone Arm holder to the right to release the TONE ARM.
- AUTO STOP ON/OFF SWITCH: Switch “ON”, the turntable will stop automatically when finish playing. Switch “OFF”, the turntable will keep turning when finished playing.
- Speed Selector
- Tone Arm
- STYLUS
SETUP/BASIC OPERATION
Setup
- Remove white protective needle cover by gently pulling towards front of unit.
- Remove any packaging materials from the unit.
- Connect the power adapter to the DC Input jack to power on the unit.

Note: It is strongly recommended that this product should be operatedonly from the type of power source indicated on the marking label.
Basic Operation
- Press the POWER button to turn the unit on.
- Select mode by turning the BT/PHONO KNOB.
- Rotate the VOLUME KNOB to adjust to the desired sound level.
Listening through RCA LINE OUT
For amplifier device listening, first reduce the volume level to minimum. Insert the white and red plugs on the RCA cable into the unit, then insert the opposite end into the amplifier device. Be sure to connect the white plug to the white jack and the red plug to the red jack.
Listening through Earphones/Headphones (not included)
For private listening, first reduce the volume level to minimum. Insert your headphones’ plug into the 3.5mm jack, then adjust the volume up by turning the VOLUME KNOB.
Note: The speakers will automatically be deactivated while headphones are plugged in.
CONDENSATION WARNING:
When the unit is moved from a cold or warm place, or is used following a sudden temperature change, there is the danger that water vapor in the air may condense on the unit, preventing proper operation. In such cases, leave the unit for 1-2 hours after plugging it into an AC outlet to allow it to stabilize at the temperature of its surroundings.
VINYL RECORD OPERATION
- Turn the unit ON by pressing the POWER button.
- Turn the BT/PHONO KNOB to enter the PHONO mode.
- Gently open the dust cover.
- Put the record on the turntable. Select the speed. When playing a 45 RPM record, use the included 45 adaptor.
- Gently push the Tone Arm holder to the right to release the TONE ARM.
- Raise the Cue Lever to lift the TONE ARM off the tone arm support.
- Move the TONE ARM gently to the edge of the record (or the starting point of the track). The turntable will begin to turn.
- Gently lower the TONE ARM by slowly releasing the CUE LEVER. You can lower the TONE ARM manually if the CUE LEVER has not been raised.
- Turn the VOLUME KNOB to adjust the volume.
- When playback has finished, slightly lift the tone arm using the CUE LEVER and return it to the TONE ARM holder.
BLUETOOTH OPERATION
An external device with Bluetooth Connectivity can be wirelessly connected to this turntable using the Bluetooth Function.
GETTING CONNECTED USING BLUETOOTH
- Turn the BT/PHONO KNOB to select BT mode. The “bt” will flash on the Display Screen.
- Turn your external devices’ Bluetooth Setting ON. Wait a moment, then look for the Bluetooth Pairing name “Victrola Brighton”
NOTE: The effective distance between your external device and this unit is 10 meters (33ft). - Select the Bluetooth pairing name, to connect the unit. Once connected the “bt” on the Display Screen will stop flashing.
- Select the music media files on your external device PLAY/PAUSE button ( ) to begin playback.
- To temporarily pause playback, press the PLAY/PAUSE button ( ) when playback. Press again to resume.
- To skip to the previous or the next tracks, press the PREVIOUS/NEXT button ( or ) to listen.
BLUETOOTH-OUT OPERATION
The product supports Bluetooth wireless connection (BT-OUT). It can be connected with external Bluetooth-compatible headphones (not included) and Bluetooth speakers (not included) .
- When playing your vinyl record, press the BT OUT button.
- The “ ” icon flashes on the Display Screen.
- Turn ON your external Bluetooth receiver device (such as Bluetooth headphones and Bluetooth Speakers) and set to pairing mode.
- Wait for a few seconds, they will make connection to each other automatically.
- The “ ” icon stops flashing once successful paired.
- Control the playback from your BT speaker.(You can only adjust the volume from your external Bluetooth Device.)
- Place the Bluetooth device within 1m (3.3′) of the product to perform pairing correctly.
- The product stays in the pairing mode for about 30 seconds. If pairing is not properly completed, follow the above steps again from the beginning after turning all devices OFF.
- “BT OUT” is only compatible with vinyl record playback.
MAINTENANCE/PROPER HANDLING
Handling Vinyl Records
- Do not touch the record’s grooves. Only handle records by the edges or the label with clean hands. Touching the record surface will cause your record’s quality to deteriorate.
- To clean a record, use a soft anti-static cloth to gently wipe the record surface.
- Keep records in their protective sleeves when not in use.
- Always store records upright on their edges.
- Avoid placing records in direct sunlight, close to a heat source (radiators, stoves, etc.), or in a location subject to vibration, excessive dust, heat, cold or moisture.
HOW TO REPLACE THE TURNTABLE STYLUS (Replacement Stylus # VND-08)
Removing the Stylus from the Cartridge
- Using your fingers, hold at point “A” and push down point “B”
WARNING: When applying force to stylus, too much may damage or break the stylus. - Continue to push down until the stylus separates from the front of the cartridge.
- Remove the rear of the stylus carefully from the cartridge.
Installing the Stylus
Follow the previous steps but in reverse.
Caution:
- Do not remove or bend the stylus needle.
- Do not touch the needle to avoid injury to your hand.
- Turn off the unit’s power before you replace the stylus.
- Keep out of reach of children.
Please note: The stylus should last about 50 hours under normal use. It is recommended that the stylus be replaced as soon as you notice a change in sound quality
TROUBLESHOOTING GUIDE
| Symptom | Possible Cause | Solution | |
| GENERAL | • Unit will not power on | • Unit is unplugged. | • Connect the DC power adapter to the jack. |
| • No sound output from speakers | • The volume level is set too low. • The input selector does not match the playback source. | • Adjust the volume. • Select the correct input source. | |
| • Noise/Distortion in sound output | • The unit is too close to a TV set or another interfering device. | • Turn off the TV or other appliance, and relocate the unit. | |
| • Unit fails to respond | • It might result from external factors such as ESD (Electro-static discharge). | • Disconnect the power cord and external audio device. Re-plug the power cord after one minute. | |
| PHONO | • Decline in turntable audio performance | • The turntable stylus is worn out. | • Replace the stylus. |
| Symptom | Possible Cause | Solution | |
| BLUETOOTH | • No sound | • The unit is not switched to Bluetooth mode. • Your device’s and/or your unit’s volume is not turn up. • Your device is too far from the unit or there’re some obstacle between your device and your unit. | • Ensure the unit is switched to BT mode. • Move your Bluetooth device closer to unit. • Turn up the volume on your portable device and/or the unit. • Turn OFF your bluetooth device and unit. Then power them both back ON. |
| • Sound has a lot of static | • Your device is too far away. | • Bring your device closer to the turntable. | |
| • Unable to pair with a Bluetooth device | • Your device dosen’t have Bluetooth connectivity. • The Bluetooth pairing is not successful | • Confirm that your device is Bluetooth compatible. • Re-pair the unit and device again. | |
| BLUETOOTH-OUT | • The connection takes too long | • The time of connection depends on the connecting device | • Wait for a moment • Turn OFF your bluetooth device and unit. Then power them both back ON. |
Please note: As a result of continual improvements, the design and specifications of this product are subject to change without notice.
Bluetooth is a registered trademark of Bluetooth SIG, Inc. Other trademarks and trade names are those of their respective owners.
SPECIFICATIONS
GENERAL
Power adapter ———————–DC 5V/1A
Power Consumption —————5W
Power Output ————————2 × 2W
Size————————————-12.7″ (322mm) W × 12.3″ (312mm) D × 5.2″ (131mm) H Weight ———————————4.5 lbs (2kg)
RECORD PLAYER
Speeds ——————————–33-1/3 RPM, 45 RPM and 78 RPM
BLUETOOTH
Bluetooth Version——————-V4.0
Bluetooth Profiles ——————-A2DP, AVRCP
Bluetooth Frequency range ——2.402GHz-2.480GHz
Operating Distance—————–10 meters (33 ft.)
FCC STATEMENT
- This device complies with Part 15 of the FCC Rules. Operation is subject to the following two conditions:
- This device may not cause harmful interference, and
- This device must accept any interference received, including interference that may cause undesired operation.
- Changes or modifications to this unit not expressly approved by the party responsible for compliance could void the user’s authority to operate the equipment.
NOTE: This equipment has been tested and found to comply with the limits for Class B digital device, pursuant to part 15 of the FCC Rules. These limits are designed to provide reasonable protection against harmful interference in a residential installation.
This equipment generates, uses and can radiate radio frequency energy and, if not installed and used in accordance with the instructions, may cause harmful interference to radio communications. However, there is no guarantee that interference will not occur in a particular installation. If this equipment does cause harmful interference to radio or television reception, which can be determined by turning the equipment off and on, the user is encouraged to try to correct the interference by one or more of the following measures:
- Reorient or relocate the receiving antenna.
- Increase the separation between the equipment and the receiver.
- Connect the equipment into an outlet on a circuit different from that to which the receiver is connected.
- Consult the dealer or an experienced radio/TV technician for help.
CALIFORNIA PROP 65 WARNING
WARNING: This product can expose you to chemicals including lead, which is known to the State of California to cause cancer and birth defects or other reproductive harm. For more information go to www.P65Warnings.ca.gov.
IC WARNING
This device contains license-exempt transmitter(s)/receiver(s) that comply with Innovation, Science and Economic Development Canada’s license-exempt RSS(s). Operation is subject to the following two conditions:
- This device may not cause interference; and
- This device must accept any interference, including interference that may cause undesired operation of the device.
This equipment complies with FCC and IC radiation exposure limits set forth for an uncontrolled environment. This equipment should be installed and operated with a minimum distance of 20cm between the radiator & your body.
WARRANTY
Victrola is a registered trademark of Innovative Technology Electronics LLC.
Innovative Technology Electronics LLC. (IT) warrants the product to be free from
“Defects” in materials under normal use for a period of “One Year” from the date of the original purchase. The Warranty is “Not” transferable. IT agrees, within the initial “One Year” period, to replace the product if it is determined to be defective at “No Charge” or offer a merchandise credit if proof of purchase is provided or if the original product is no longer in stock. It is further agreed that IT will cover the cost to repair or replace damaged “Parts” only for a total period of “One Year” from the date of the original purchase. The warranty does not cover cosmetic damage, antennas, AC cords, cabinets, headbands, ear-pads, or damage due to line power surges, connection to an improper voltage supply or setting, misuse, mishandling, accident, acts of God or attempted repair by an unauthorized service agent.
Repair or Replacement as provided under this warranty is the exclusive remedy of the customer, (IT) shall not be liable for any incidental or consequential damages for breach of any implied warranty on this product except to the extent prohibited by applicable law. Any implied warranty of merchant-ability or fitness for a particular purpose on this product is limited in duration to the duration of this warranty.
Some states do not allow the exclusion or limitation of incidental or consequential damages, or limitations on how long an implied warranty lasts, so the above exclusions or limitations may not apply to you. This warranty gives you specific legal rights and you may also have other rights, which vary from state to state.
Contact
Website: www.victrola.com/support
Phone: (877) 483-2497
(Monday – Friday, 10am – 6pm, EST)








![Victrola 8-in-1 Turnable Bluetooth Record Player [vta-754b] Instruction Manual Victrola 8-in-1 Turnable Bluetooth Record Player [vta-754b] Instruction Manual](https://static-data1.manualsee.com/1/img/152/17285/2020/12/Victrola-8-in-1-Turnable-Bluetooth-Record-Player.png)
![Victrola 8-in-1 Turnable Bluetooth Record Player [vta-754b] Instruction Manual Victrola 8-in-1 Turnable Bluetooth Record Player [vta-754b] Instruction Manual](https://static-data1.manualsee.com/1/img/379/30050/2020/12/Victrola-8-in-1-Turnable-Bluetooth-Record-Player_1-1.png)












