AIR-CON ASDEM4H4S24 Central Heat Pump AC Instruction Manual
Alert Symbols:
DANGER : The symbol refers to a hazard which can result in severe personal injury or death.
WARNING: The symbol refers to a hazard or an unsafe practice which may result in severe personal injury or death.
CAUTION: The symbol refers to a hazard or an unsafe practice which may result in minor personal injury, product or property damage.
NOTE: It refers to the remarks and instruction to the operation, maintenance and service.
- Installation, maintenance and repair of this unit must be performed by a qualified, licensed service personnel.
- Read these instructions thoroughly before installation or operation. Failure to follow these instructions may result in improper installation, service or maintenance, possibly resulting in fire, electrical shock, property damage, personal injury or death.
- Before installation, check if the voltage of the power supply at installation site is the same as the voltage shown on the nameplate.
DANGER
- Do not perform any alteration to this product, otherwise, it may cause water leakage, breakdown, short circuit, electric shock, fire, etc.
- Piping, welding and other such work should be carried out far away from the flammable and explosive materials, including the air conditioner refrigerant, to guarantee the security of the site.
- To protect the air conditioner from heavy corrosion, avoid installing the outdoor unit in the place, where sea water can splash directly onto it or in sulphurous air near a spa. Do not install the air conditioner where excessively high heat-generating objects are placed.
WARNING
- If the supply cord is damaged, it must be replaced by the factory or its service department to avoid danger.
- The place where this product is installed must have the reliable electrical grounding facilities and protections. Please do not connect the grounding of this product to various kinds of air feeding ducts, drain pipes, lightning protection facilities as well as other piping lines to avoid electric shock and damage caused by other factors.
- Wiring must be done by the qualified electrician. All the wiring operations must be conducted according to the local electrical codes.
- You should consider the capacity of the electric current of your electrical meter and socket before installation.
- The power wire where this product is installed should have the independent leakage protection device and the electric current over-load protection device provided for this product.
- Never use gasoline or other inflammable gas near the air conditioner to avoid danger. When any abnormality like burnt smell, deformation, fire, smoke, etc. is found, you should stop using the air conditioner, immediately cut off the main power supply and contact the dealer.
- The first 6 inches of supply air plenum and duct work must be constructed of sheet metal as required by NFPA 90B.
- The supply air plenum or duct must have a solid sheet metal bottom piece directly after the air handler unit with no opening, registers or flexible air ducts located in it. If flexible supply air ducts are used, they may be located only in the side walls of the rectangular plenum, a minimum of 6 inches from the solid bottom.
Read this manual carefully before using this air conditioner. If you still have any difficulties or problems, consult your dealer for help.
The air conditioner is designed to provide you with comfortable room conditions. Use this unit only for its intended purpose as described in this instruction manual.
WARNING
PROPOSITION 65:
- This appliance contains fiberglass insulation. Respirable particles of fiberglass are known to State of California to cause cancer.
- All manufacturer products meet current federal OSHA Guidelines for safety. California Proposition 65 warnings are required for certain products, which are not covered by the OSHA standards.
- California’s Proposition 65 requires warnings for products sold in California that contain or produce any of over 600 listed chemicals known to the State of California to cause cancer or birth defects such as fiberglass insulation, lead in brass, and combustion products from natural gas.
- All “new equipment” shipped for sale in California will have labels stating that the product contains and for produces Proposition 65 chemicals. Although we have not changed our processes, having the same label on all our products facilitates manufacturing and shipping. We cannot always know “when, or if’ products will be sold in the California market.
- You may receive inquiries from customers about chemicals found in, or produced by, some of our heating and air conditioning equipment, or found in natural gas used with some of our products. Listed below are those chemicals and substances commonly associated with similar equipment in our industry and other manufacturers.
- Glass Wool (Fiberglass) Insulation
- Carbon Monoxide(CO)
- Formaldehyde -Benzene
- More details are available at the websites for OSHA (Occupational Safety and Health Administration), at www.osha.gov and the State of California’s OEHHA (Office of Environmental Health Hazard Assessment), at www.oehha.org. Consumer education is important since the chemicals and substances on the list are found in our daily lives, Most consumers are aware that products present safety and health risks, when improperly used, handled and maintained.
CAUTION
- Do not turn the air conditioner on and off from the main power switch. Use the ON/OFF operation button.
- Do not stick anything into the air inlet and air outlet of both the indoor and outdoor units. This is dangerous because the fan is rotating at a high speed.
- Do not cool or heat the room too much if babies or invalids are present.
- Type and rating of circuit breakers / ELB are detailed below.
- The method of connection of the appliance to the electrical supply and interconnection of separate components are detailed below.
- The information of dimensions of the space necessary for correct installation of the appliance including the minimum permissible distances to adjacent structures is detailed below.
- The range of external static pressures for ducted appliances is detailed below.
- Make sure the blower motor support is tight (3-motor mounting bolts). Then check to see if wheel is tightly secured to motor shaft before operation unit.
NOTE:
G Storage condition:
Temperature -13-140°F (-25-60°C)
Humidity 30%-80%
Composition of the Air conditioner
Indoor unit
- Air outlet flange
- Low voltage connection (for 24V)
- Circuit breaker switch (Optional)
- Refrigerant pipe (Liquid)
- Refrigerant pipe (Gas)
- Air inlet
- Auxiliary drainage hole
- Drainage hole
- Auxiliary drainage hole
- High voltage connection
- High voltage connection
- Air outlet
- Electric box
- Auxiliary heater (Optional)
- Fan volute
- Evaporator
- Drainage pan
- Filter cover
NOTE: The figures are based on the external views of the standard model.
Consequently, the shape may differ for the air conditioner model you have selected.
Trouble Shooting
CAUTION
When drain water overflows from the indoor unit, stop the operation and contact your dealer.
When you smell or see white smoke coming out of the unit, turn OFF the main power supply and contact your dealer.
- If Trouble still Exists
If the trouble still exists even after checking the following, contact your dealer and inform them of the following items.- Unit Model Name
- Content of Trouble
- No Operation
Check whether the SET TEMP is set at the correct temperature. - Not Cooling or Heating Properly
- Check for obstruction of air flow of outdoor or indoor units.
- Check if there are too many heating sources in the room.
- Check if the air filter is clogged with dust.
- Check if the doors or windows are open.
- Check if the temperature condition is within the operation range.
- This is Not Abnormal
- Odour from Indoor Unit
Unpleasant odour diffuses from indoor unit after a long period of time. Clean the air filter and panels or allow a good ventilation. - Sound from Deforming Parts
When start or stop the system, a sound might be heard. However, this is due to thermal deformation of plastic parts. It is not abnormal. - Steam from Outdoor Heat Exchanger
During defrosting operation, ice on the outdoor heat exchanger melts resulting in steam. - Dew on Air Panel
When the cooling operation continues for a long period of time under high humidity conditions, dew can form on the air panel. - Refrigerant Flow Sound
While the system is being started or stopped, the refrigerant flow sound may be heard
- Odour from Indoor Unit
Air Filter
Air Filter (Not Factory-installed)
Please replace or clean the filter regularly, because there will be lots of dust accumulated on the surface of the filter after a period of time.
Follow these steps to properly replace the filter:
After removing the two manual bolts, take down the filter cover and pull out the filter from the case, then insert the new one into the case along the filter rail, at last fix the filter cover with manual bolts.
| Model | Filter size (L W H) in. |
| 24K/36K | 20 18×1 |
| 60K | 22x20x1 |

Safety Notice
WARNING
- Install the air conditioner on a solid base that can support the unit weight. (An inadequate base or incomplete installation may cause injury due to falling off from the base.)
- Electrical work should be carried out in accordance with the installation manual and the local and national electrical wiring rules or code.
(Insufficient capacity or incomplete electrical work may cause electrical shock or fire.) - Be sure to use a dedicated power circuit. (Never use the power supply shared by another appliance.)
- For wiring, use a cable long enough for the entire distance, and do not use an extension cord.
- Do not put other loads on the power supply, and please use a dedicated power circuit.
- Use the specified types of wires for electrical connections between the indoor and outdoor units. (Firmly clamp the interconnecting wires so that the terminals receive no external stress.)
- Incomplete connections or clamping may cause terminal overheating or fire.
- After establishing connection between all the wires, fix the cables to prevent undue force on the electrical covers or panels. (Install covers over the wires, incomplete cover installation may cause terminal overheating, electrical shock or fire.)
- There is 100PSIG high pressure nitrogen in the evaporator, please release it first before installation. It proves the evaporator to be in good state if there is nitrogen out, otherwise, it indicates the evaporator leaks.
- When installing or relocating the system, be sure to keep the refrigerant circuit free from air (Air in the refrigerant circuit may cause an abnormal pressure rise or rupture, resulting in injury.)
- If any refrigerant leakage occurs during the installation work, ventilate the room.
- After all installations are completed, make sure that no refrigerant leaks. (The refrigerant produces, toxic gas if exposed to flames.)
- When carrying out piping connection, do not let air substances other than the specified refrigerant get into refrigeration cycle. (Otherwise, it will cause decreased performance, abnormal high pressure in the refrigeration cycle, explosion and injury.)
- Make sure that the installation has a proper earth connection. Do not ground the unit to a utility pipe, arrester, or telephone grounding. Incomplete grounding may cause electrical shock. (A high surge current from lightning or other sources may cause damage to the air conditioner.)
- An earth leakage circuit breaker may be required depending on the site condition to prevent electrical shock.
- Disconnect the power supply before wiring, piping, or checking the unit.
Installation of the Indoor Unit
Initial Check
CAUTION
- When moving the unit after unpacking, make sure not to exert any pressure on other parts, especially the refrigerant piping, drain piping and flange parts.
- Wear protective gears when installing the unit.


Installation Location
Before choosing the installation site, obtain the user’s approval.
- Optimum air distribution is ensured.
- The air path is not blocked.
- Condensation can drain properly.
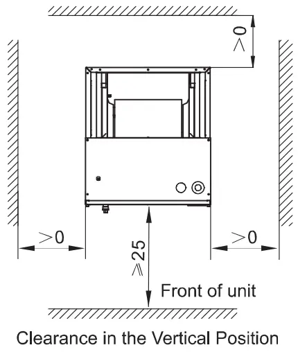
- Ensure sufficient clearance for maintenance and servicing.
- Piping between the indoor and outdoor units should be within the allowable limits. (Refer to the installation of the outdoor unit )
- The indoor unit, outdoor unit, power supply wiring and transmission wiring should be kept at least 1 meter away from televisions and radio, which prevents image interference and noise in those electrical appliances.
(Noise may be generated depending on the conditions under which the electric wave is generated, even if a one-meter distance is maintained.) - Do not install the indoor unit in a machinery shop or kitchen where vapor from oil or its mist flows to the indoor unit. The oil will deposit on the heat exchanger, thereby reducing the performance of the indoor unit, and may deform and in the worst case, break the plastic parts of the indoor unit.
- When the unit is installed in a hot and humid place, it is recommended to insulate the cabinet exterior and to use auxiliary drain pans.
- If installed above a finished living space, a auxiliary drain pan(as required by many building codes),must be installed under the entire unit and its condensate drain line must be routed to a location such that the user will see the condensate discharge.
Installation
NOTE:
These appliances are designed for indoor installation only.
The indoor units can be installed in one of the up flow, horizontal left or horizontal right orientations as shown in Figures below.


Minor field modifications are necessary to convert to horizontal left.
Up-flow installation method is selected by default.
When the unit is horizontal right mounted, rotate it to the right for 90 degrees, as shown in image horizontal right installation.
When the unit is horizontal left mounted, the following steps are required.
- Disassemble the lower panel and the sealed plate;
- Disassemble the retaining clips for the evaporator so that the evaporator can be pulled out along the lead rail easily;
- Rotate the evaporator for 180 degrees and insert it into the upper side of the lead rail;
- Rotate the unit to the left for 90 degrees, as shown in image horizontal left installation;
- Reinstall the sealed plate and the lower panel.
Air duct
Field duct work must comply with the National Fire Protection Association NFPA 90NFPA 90B and any applicable local ordinance.
WARNING
Do not under any circumstances, connect return duct work to any other heat producing device such as fireplace insert, stove, etc. Unauthorized use of such devices may result in fire, carbon monoxide poisoning, explosion, personal injury or property damage.
Sheet metal duct work run in unconditioned spaces must be insulated and covered with a vapor barrier. Fibrous duct work may be used if constructed and installed in accordance with SMACNA Construction Standard on Fibrous Glass Ducts. Duct work must comply with National Fire Protection Association as tested by U/L Standard181 for Class I Air Ducts.
Check local codes for requirements on duct work and insulation.
Duct system must be designed within the range of external static pressure the unit is designed to operate against. It is important that the system airflow be adequate. Make sure supply and return duct work, grills, special filters, accessories, etc, are accounted for in total resistance.
Refrigerant Pipe
DANGER
Use the refrigerant according to outdoor nameplate.
When carrying out the leakage check and test, do not mix in the oxygen, the acetylene and the flammable and the reactive gas, because these gases may result in explosion. It is suggested to use nitrogen to perform these experiments.
Pipe Material
- Prepare the copper pipe on the spot.
- Choose dustless, non-humid, clean copper pipe.
Before installing the pipe, use nitrogen or dry air to blow away the dust and impurity on the pipe. - Choose the copper pipe according to outdoor manual.
Piping Connection
- The connection positions of the pipe are shown below.

Refer to the outdoor unit Installation Instructions for details on piping size selection, piping installation, and charging information.
Coil is shipped filled with Nitrogen. Evacuate the system before charging with refrigerant. Install refrigerant lines so that it does not block
Nitrogen should flow through the refrigerant lines while brazing.
Use a wet rag or an approved heat paste to protect the TXV sensing bulb during the brazing process.
Drain Piping
The indoor units has field supplied primary and secondary 3/4-in. NPT drain connections.
When making drain fitting connections to the drain pan, use a thin layer of Teflon paste, Silicone or Teflon tape and install by hand tightening.
When making drain fitting connections to drain pan, do not over-tighten.
All horizontal drain pipes must be pitched downward away from the unit a minimum of 1/8″ per foot to provide free drainage.
Do not connect the drain pipes directly to sewage pipes to avoid ammonia odour. The ammonia in the sewage might enter the indoor unit through the drainpipes and corrode the heat exchanger.
Do not twist or bend the drain hose, because excessive force is applied during twisting or bending and may also cause leakage.
The drain line should be insulated where necessary to prevent sweating and damage due to condensate forming on the outside surface of the pipe.
Test condensate drain pan and drain pipe after installation is complete. Pour water into drain pan, enough to fill drain trap and line. Check to make sure drain pan is draining completely, no leaks are found in drain pipe fittings, and water is draining from the termination of the primary drain pipe.
NOTES:
If unit is located in or above a living space where damage may result from condensate overflow, a field-supplied, external condensate pan should be installed underneath the entire unit, and a secondary condensate line (with appropriate trap) should be run from the unit into the pan.
Any condensate in this external condensate pan should be drained to a noticeable place. The owner of the structure must be informed that when condensate flows from the secondary drain or external condensate pan, the unit requires servicing or water damage will occur. Install traps in the condensate lines as close to the coil as possible.
Electrical Wiring
Electrical Installation
CAUTION
- Before proceeding with electrical connections, make certain that power supply are as specified on the unit rating plate. See unit wiring label for proper field high and low-voltage wiring. Make all electrical connections in accordance with the NEC and any local codes or ordinances that may apply. Refer to the NEC(USA) or CSA (Canada) for wire sizing. Use copper wire only.
- Every installation must include an NEC(USA) or CSA (Canada) approved over-current protection device.
WARMNG
- Disconnect all power before servicing or installing this unit.
- To avoid the electrical shock, please ensure the air conditioner is proper grounded.
- All routing of electrical wiring must be made through provided electrical knockouts. Do not cut, puncture or alter the cabinet for electrical wiring.
- Knockouts are provide on the indoor unit top panel and sides of the cabinet to allow for the entry of the supply voltage conductors. If the knockouts on the cabinet sides are used for electrical conduit, an adapter ring must be used in order to meet UL 1995 safety requirements. An MEC or CEC approved strain relief is to be used at this entry point. Some codes/municipalities require the supply wire to be enclosed in conduit. Consult your local codes.
Wiring diagram
NOTE:
Do not connect dashed line when electric heater is not used.
Wiring must be performed according to wiring diagram that pasted on indoor unit.
Electrical data
| Model (Capacity) | Power Supply | ELB | Power Source Cable Size | Transmitting Cable Size | Thermostat Signal Size | Fuse or Circuit Breaker (A) | |
| Rated Current (A) | Nominal Sensitive Current (mA) | ||||||
| 24K/36K | 208/230V -/60Hz | 10 | 30 | 3x16AWG | 4x16AWG | 5x18AWG | 10 |
| 60K | 208/230V -/60Hz | 15 | 30 | 3x16AWG | 4x16AWG | 5x18AWG | 15 |
Max. Running Current (A): REFER TO NAMEPLATE
NOTE:
- Follow local codes and regulations when select field wires, and all the above are the minimum wire size.
- When transmitting cable length is longer than 262ft. (80m), a larger wire size should be selected.
- Install main switch and ELB for each system separately. Select the high response type ELB that is acted within 0.1 second.
- If auxiliary heater is required and already installed on indoor unit, power source cable should be installed separately
Change of Static Pressure
The static pressure can be selected by changing Dip Switches on electric board.
Static Pressure Setting:
| Dip Switch S2 Setting | Blower Speed Tap | Fan Speed Select | Static Pressure (W.C.[kPa]) 24K | Static Pressure (W.C.[kPa]) 36K | Static Pressure (W.C.[kPa]) 60K |
![]() | 2 | Medium Low | 0.1[0.02] | 0.1[0.02] | 0.1[0.02] |
![]() | 3 | Medium (Default setting) | 0.18[0.045] | 0.24[0.057] | 0.28[0.07] |
![]() | 4 | Medium High | 0.25[0.8] | 0.5[0.12] | 0.5[0.12] |
![]() | 5 | High | 0.4[0.11] | 0.8[0.2] | 0.8[0.2] |
NOTE:
Symbol “
” indicates the position of the dip switch.
Symbol “
” indicates any position of ON or OFF.
Dip switch S1 is for production detection, please keep its initial state.
Test Run
Please perform test run according to installation manual of outdoor unit.
TXV Replacement Information
Please follow the steps below when replace TXV:
- Disassemble the front panel.
- Take the thermal bulb down by undoing the copper strips around it.
- Weld the pressure pipe off from the gas pipe with a welding gun. Be careful not to burn the gas pipe.
- Weld the TXV off from the liquid pipe with a welding gun. Be careful not to burn the liquid pipe.
- Wrap the new TXV with a piece of wet cloth to prevent it from being too hot and connect the nitrogen flow to liquid pipe to prevent it from being oxidized. Weld the TXV to the liquid pipe, and pay attention to the direction of the TXV, then weld the pressure pipe to the gas pipe.
- When the pipe gets cool after the welding, connect it with 150PSI nitrogen equipment and examine if leakage occurs.
- Fix the thermal bulb to the gas pipe with copper strips and perform insulation works.
- Vacuumize the unit, start up the system and the unit will start cooling operation.
- When the unit has operated for 20 minutes, adjust the TXV superheat to 6°F.
- When the unit has operated for another 20 minutes, examine whether the superheat is appropriate and record the figures then.
Electric Heat Kit Selection Table
| Electric Heat Kit Model | Air Handler Model | Electric Heat (kW) | MIN. Circuit Ampacity | MAX. Fuse or Breaker (HACR) Ampacity | Fan Speed Tap | |||||
| 230VAC | 208VAC | 230VAC | 208VAC | 2 | 3 | 4 | 5 | |||
| 21-4245-01 | 24K | 5 | 28.3 | 25.9 | 30 | 30 | ||||
| 21-4245-02 | 7.5 | 40.7 | 37.2 | 45 | 40 | |||||
| 21-4245-03 | 10 | 53.2 | 48.5 | 60 | 50 | |||||
| 21-4245-01 | 36K | 5 | 29.8 | 27.4 | 30 | 30 | ||||
| 21-4245-02 | 7.5 | 42.2 | 38.7 | 45 | 40 | |||||
| 21-4245-03 | 10 | 54.7 | 49.9 | 60 | 50 | |||||
| 21-4245-01 | 60K | 5 | 31.8 | 29.4 | 35 | 30 | ||||
| 21-4245-02 | 7.5 | 44.8 | 40.7 | 45 | 45 | |||||
| 21-4245-03 | 10 | 56.7 | 51.9 | 60 | 55 | |||||
| 21-4245-04 | 15 | 44.8+36.9 | 40.7+33.8 | 50+40 | 50+35 | |||||
| 21-4245-05 | 20 | 56.7+49.9 | 51.9+45.2 | 60+50 | 60+50 | |||||
: available
: unavailable
NOTE:
Heat kit is an optional part, and it must be connected to the power supply separately.
Check if heat kit suitable for AHU 3-way position installation.
Ampacities for MCA and Fuse/breaker including the blower motor.
Heat pump systems require a specified airflow. Each ton of cooling requires between 350 and 450 cubic feet of air per minute(CFM).

























