
AMXEC4H4S09 Air Conditioner
Instruction Manual
Thank you very much for purchasing this Air Conditioner. Please read these use and installation instructions carefully before installing and using this appliance. And keep this manual for future reference.
IMPORTANT NOTICE
- We pursue a policy of continuing improvement in the design and performance of products. The company reserves the right to vary specifications without prior notice.
- We cannot anticipate every possible circumstance that might involve a potential hazard.
- This air conditioner is designed for standard air conditioning only. Do not use this air conditioner for other purposes such as drying clothes, refrigerating foods or for any other cooling or heating process.
- The installer and system specialist shall secure safety against leakage according to local regulations or standards.
- No part of this manual may be reproduced without written permission.
- Signal words (DANGER, WARNING, and CAUTION) are used to identify levels of hazard seriousness.
Definitions for identifying hazard levels are provided below with their respective signal words.
![]() | Immediate hazards WILL result in severe personal injury or death. |
![]() | Hazards or unsafe practices COULD result in severe personal injury or death. |
![]() | Hazards or unsafe practices which COULD result in minor personal injury or product or property damage |
NOTE | Useful information for operation and/or maintenance. |
- It is assumed that this air conditioner will be operated and serviced by English-speaking people.
If this is not the case, the customer should add safety, caution, and operating signs in the native language. - If you have any questions, contact your dealer.
- This manual gives a common description and information for the air conditioner you operate as well as for other models.
- Storage condition: Temperature -13-140F (-25-60°C)
Humidity 30%~80%
This manual should be considered as a permanent part of the air conditioning equipment and should remain with the air conditioning equipment.
CHECKING PRODUCT RECEIVED
- Upon receiving this product, inspect it for any shipping damage. Claims for damage, either apparent or concealed, should be filed with the shipping company immediately.
- Check the model number, electrical characteristics (power supply, voltage, and frequency), and accessories to determine if they are correct.
The standard utilization of the unit shall be explained in this manual.
Therefore, the utilization of units other than those specified in this manual is not recommended.
Please contact your dealer, as the occasion arises. - We recommend that this air-conditioner is installed properly by qualified personnel in accordance with the installation instructions provided with the unit.
- Before installation, check if the voltage of the power supply at the installation site is the same as the voltage shown on the nameplate.

- Do not perform any alterations to this product, otherwise, it may possibly cause water leakage, breakdown, short-circuit, electric shock, fire, and so on.
- Piping and welding work should be carried out far away from the flammable explosive material vessels, including the air-conditioner refrigerant, to guarantee the security of
the site. - To protect the air-conditioner from heavy corrosion, avoid installing the outdoor unit where saltwater can splash directly onto it or in sulfurous air near a spa. Do not install the air-conditioner where excessively high heat-generating objects are placed.

- If the supply cord is damaged, it must be replaced by the factory or its service department to avoid danger.
- The place where this product is installed must have a reliable electrical earth facility and protections. Please do not connect the grounding of this product to various kinds of air-feeding ducts, drain piping, lightning protection facility as well as other piping lines to avoid an electric shock and damages caused by other factors.
- Wiring must be done by a qualified electrician. All the wiring must comply with the local electrical codes.
- Consider the capacity of the electric current of your electrical meter and socket before installation.
- The power wire where this product is installed should have an independent leakage protective device and the electric current overload protection device provided for this product.
- This appliance is not intended for use by persons (including children) with reduced physical, sensory or mental capabilities, or lack of experience and knowledge unless they have been given supervision or instruction concerning the use of the appliance by a person responsible for their safety.
- Children should be supervised to ensure that they do not play with the appliance.
- Means for disconnection to provide complete disconnection in all poles must be incorporated in the fixed wiring in accordance with the wiring regulations.
- When abnormalities like the burnt smell, deformation, fire, smoke, and so on are observed, stop using the air conditioner, cut off the main power supply immediately and contact the dealer.
- The method of connection of the appliance to the electrical supply and interconnection of separate components, and the wiring diagram with a clear indication of the connections and wiring to external control devices and supply cord are detailed in the below parts.
- The cord of the H07RN-F type or the electrically equivalent type must be used for power connection and interconnection between the outdoor unit and indoor unit. The size of the cord is detailed in the outdoor instruction manual.
- Details of the type and rating of circuit breakers / ELB are detailed in the outdoor instruction manual.
- The information of dimensions of the space necessary for correct installation of the appliance including the minimum permissible distances to adjacent structures is detailed in the below parts.
Symbols in this User’s Manual are interpreted as shown below:
![]() | Be sure not to do. | ![]() | Be sure to follow the instruction. |
![]() | The feature of the appliance, instead of a fault. | ![]() | Grounding is necessary. |
![]() | Pay attention to such a situation. | ![]() | Warning: Incorrect handling could cause a serious hazard, such as death, serious injury, etc. |
Do not use the power supply circuit breaker or pull off the plug to turn it off during operation. This may cause a fire due to spark, etc. | Avoid dirt accumulation on the power supply circuit breaker. Connect the power supply cord to it firmly and correctly, Otherwise, it may lead to electric shock or a fire break out due to insufficient contact. | Provide accurate power supply in accordance with the rating plate requirement. Otherwise, serious faults may occur or fire may be breaking out. |
Do not apply excess pressure, pull or press the power supply cord, otherwise, the power supply cord can break leading to electric shock or fire. | Never insert a stick or similar object into the unit. Since the fan is rotating at high speed, this may cause an injury. | It is harmful to your health if you are exposed to cold air for a prolonged period of time. Hence it is recommended for uniform distribution of airflow in the room. |
Turn off the appliance first and then cut off the power supply when the appliance malfunctions. | Do not repair the appliance on your own, this may lead to electric shock and so on. | Prevent the airflow from reaching the gas burners and stove. |
Do not operate the unit with wet hands. | It is the user’s responsibility to make the appliance grounded according to local codes or ordinances by a licensed person. |
Operating condition
The protective device may trip and stop if it is operated outside the allowed temperature range.
If the air conditioner runs in “COOLING” or “DRY” mode with the door or window open for a long time when relative humidity is above 85%, dew may drip down from the air outlet.
Noise pollution
- Install the air conditioner at a place that can bear its weight for quiet operation.
Features of protector
The protective device will work in the following cases:
- Turning off the appliance and restarting it at once or changing mode during operation you need to wait at least 3 minutes.
Inspection
After operating for a long time, the air conditioner should be inspected on the following items:
- Overheat the power supply cord and plug or even a burnt smell.
- Abnormal operating sound or vibration.
- Water leakage from the indoor unit.
- Electrification of metal cabinet.
Stop the air conditioner if the above trouble occurs. It is advisable to have a detailed inspection after using the appliance for 5 years even if none of the above conditions occurs.
Features of HEATING mode+
Preheating
At the beginning of the HEATING operation, the airflow from the indoor unit is discharged 2-5 minutes later.
Defrosting
During HEATING operation the appliance will defrost automatically to improve efficiency.
This procedure usually lasts for 2-10 minutes. During defrosting, fans stop operation. After defrosting completes, it returns to “HEATING” mode automatically.
It is hard to increase the room temperature when the outdoor temperature is very low. It might take a long time if the working temperature range is not closer to the operating limits.
Indoor unit

Remote controller( optional)
You can control the air-conditioner with the wired remote controller or wireless remote controller.
It is used for controlling power ON/OFF, setting the running mode, temperature, fan speed, and other functions.
There are different types of remote controllers that can be used.
Operation instructions will be further specified in the remote controller’s manual.
Please read it carefully before using this appliance and keep it for future reference.
Wired remote controller

Wireless remote controller

Display Panel

- Run indicator (Red)
It lights on during operation. It lights off during SLEEP mode. - Emergency switch
The filter clean indicator is reset when the switch is pressed. The unit will be started or stopped when the switch is pressed. The unit will be operated in forced cooling mode if presses the switch continuously for more than 5s when the unit is off. - Timer indicator (Green)
It lights on when the timer is in use. It lights off when the timer completes. - Filter clean (Yellow)
It lights on when the filter should be cleaned. - Defrost indicator (Green)
It lights on during defrosting and it lights off when defrosting is complete. - Buzzer
It rings when the signal from the remote controller is received. - Infrared receiver
Receives signal from the remote controller.
Note: The figures in this manual are based on the external view of a standard model. Consequently, the shape may differ for the air conditioner model you have selected.
For the multi-split type, the unit will not be started when the emergency switch is pressed.
Before Operation

- Supply electrical power to the system for approximately 6 hours before start-up after a long time shutdown.
- Do not start the system immediately after the power supply, it may cause a compressor failure because the compressor is not heated well.
- Make sure that the outdoor unit is not covered with snow or ice. If covered, remove it by using hot water [approximately 122°F(50°C)]. If the water temperature is more than 122°F (50°C), it will damage the plastic parts.
- When the system is started after a long time shutdown of more than 3 months, it is recommended that the system be checked by your service dealer.
- Turn OFF the main switch when the system is stopped for a long period of time. If the main switch is not turned OFF, electricity is consumed because the oil heater is always energized during compressor stops.
Special remarks
- 3 minutes protection after compressor stop
To protect the compressor, it will continue to be off for at least 3 minutes once it has stopped. - 5 minutes protection
The compressor must run at least for 5 minutes once it starts running. In these 5 minutes, the compressor will not stop even if the room temperature reaches the set temperature point unless you use a remote controller to turn off the unit (all indoor units can be turned off by the user). - Cooling operation
The fan of the indoor unit will never stop running during the cooling operation. It remains running even if the compressor stops working. - Heating operation
Heating capacity depends on external factors like outdoor unit temperature. Heating capacity might decrease if The outdoor ambient temperature is too low. - Anti-freezing function during cooling
When the temperature of the air from the indoor outlet is too low, the unit will run for some time under the fan mode, to avoid frost or ice forming in the indoor heat exchanger. - Cold air prevention
In several minutes after the heating mode is started, the fan of the indoor unit will not run until the heat exchanger of the indoor unit reaches a certain temperature to prevent a cold draft. - Defrosting
When the outdoor temperature is too low, frost or ice may form on the outdoor heat exchanger, reducing heating performance. When this happens, a defrosting system of the air conditioner will operate. At the same time, the fan in the indoor unit stops (or runs at a very low speed in some cases), to prevent a cold draft. After defrosting is over the heating operation and fan speed restart. - Blowing out the residual heating air
When the air conditioner is stopped during normal operation, the fan motor would run at low speed for a while to blow out residual heating air. - Auto-restart from Power Break
When the power supply is recovered after the power break, all presets are still effective and the air-conditioner will run according to the previous setting.
The setting of Automatic Swing Louver
For more details, please refer to the Manual of Remote Controller.
Do not adjust the air louver by hand, to avoid damage to the louver mechanism.
Filter Cleaning

Do not operate the system without an air filter to protect the indoor unit heat exchanger against being clogged.
Turn off the main power switch before taking the filter. (The previous operation mode may appear.)
Setting the Cleaning Period of Filter
Step 1
Enter choose and set mode.
It is time to clean the filter when the filter icon
turns on.
Step 2
Cancel the setting
Press the Emergency switch
to return to the standard state.
Take Out the Filter
Take out the air filter according to the following steps.
Step1
Open the air inlet grille after pushing the two knobs as shown by the arrow mark.
Step2
Take out the air filter from the air inlet grille by supporting the air grille and lifting the air filter after detaching the filter from the hinges.

Clean the Filter
Clean the air filter according to the following steps.
Step 1
Use a vacuum cleaner or let water flow onto the air filter for removing the dirt from the air filter.

Do not use hot water with a temperature of more than 104°F (40°C).
Step2
Dry the air filter in the shade after shaking off moisture.
Reset of Filter indication
After cleaning the air filter, press the “Emergency switch” button. The FILTER indication will disappear and the next filter cleaning time will be set.
Trouble Shooting

When drain water overflows from the indoor unit, stop the operation and contact your dealer. When you smell or see white smoke coming out of the unit, turn OFF the main power supply and contact your dealer.
If Trouble Still Remains …
If the trouble still remains even after checking the following, contact your contractor and inform them of the following items.
- Unit Model Name
- Content of Trouble
No Operation
Check whether the SET TEMP is set at the correct temperature.
Not Cooling or Heating Properly
- Check for obstruction of airflow in outdoor or indoor units.
- Check if too many heating sources are located in the room.
- Check if the air filter is clogged with dust.
- Check if the doors or windows are open.
- Check if the temperature condition is within the operation range.
This is Not Abnormal
- Smells from the indoor unit
Smell adheres to the indoor units after a long period of time. Clean the air filter and panels or allow good ventilation. - Sound from Deforming Parts
During system starting or stopping, a sound might be heard. However, this is due to the thermal deformation of plastic parts. It is not abnormal. - Steam from Outdoor Heat Exchanger
During defrosting operation, ice on the outdoor heat exchanger is melted, resulting in making steam. - Dew on Air Panel
When the cooling operation continues for a long period of time under high humidity conditions, dew can form on the air panel. - Refrigerant Flow Sound
While the system is being started or stopped, sound from the refrigerant flow may be heard.
Mode lnterfere(for multi-split)
For the reason that all indoor units use one outdoor unit, the outdoor unit can only run with the same model (cooling or heating), so, when the mode you set is different from the mode that outdoor is running with, mode interference occurs. Following shows, the mode interference scene.
| cooling | dry | heating | fan | |
| cooling | √ | √ | √ | √ |
| dry | √ | √ | √ | √ |
| heating | X | X | √ | X |
| fan | √ | √ | X | √ |
√ — normal
x — mode interfere
The outdoor unit always run with the mode of the first indoor unit that is turned on. when the setting mode of following the indoor unit interferes with it, 3 beeps would be heard, and the indoor unit interfered with the normal running units would turn off automatically
Safety Notice

- Installation should be performed by qualified personnel. (Improper installation may cause water leakage, electrical shock or fire.)
- Install the unit according to the instructions given in this manual. (Incomplete installation may cause water leakage, electrical shock or fire).
- Be sure to use the supplied or specified installation parts. (Use of other parts may cause the unit to get loosened, water leakage, electrical shock or fire).
- Install the air conditioner on a solid base that can support the unit weight. (An inadequate base or incomplete installation may cause injury if the unit falls off the base).
- Electrical work should be carried out in accordance with the installation manual and the local national electrical wiring rules or code of practice. (Insufficient capacity or incomplete electrical work may cause electrical shock or fire).
- Be sure to use a dedicated power circuit. (Never use a power supply shared by another appliance).
- For wiring, use a cable long enough to cover the entire distance. Do not use an extension cord.
- Do not put other loads on the power supply, use a dedicated power circuit.
- Use the specified types of wires for electrical connections between the indoor and outdoor units. (Firmly clamp the interconnecting wires so their terminals receive no external stresses).
- Incomplete connections or clamping may cause terminal overheating or fire.
- After connecting all the wires be sure to fix the cables so that they do not put undue force on the electrical covers or panels. (Install covers over the wires, incomplete cover installation may cause terminal overheating, electrical shock, or fire).
- When installing or relocating the system, be sure to keep the refrigerant circuit free from the air (Air in the refrigerant circuit may cause an abnormal pressure rise or rupture, resulting in injury).
- If any refrigerant has leaked out during the installation work, ventilate the room.
- After all, installation is completed, check to make sure that no refrigerant is leaking out. (The refrigerant produces a toxic gas if exposed to flames).
- When carrying out piping connection, take care not to let air substances other than the specified refrigerant get into the refrigeration cycle. (Otherwise, it will cause lower performance, abnormally high pressure in the refrigeration cycle, explosion and injury).
- Make sure that the installation is properly grounded. Do not ground the unit to a utility pipe, lightning arrester,
or telephone grounding. Incomplete grounding may cause electrical shock. (A high surge current from lightning or other sources may cause damage to the air conditioner). - An earth leakage circuit breaker may be required depending on the site condition to prevent electrical shock.
- Disconnect the power supply before wiring, piping, or checking the unit.
- When moving the indoor unit and outdoor unit, please be careful, do not to make the outdoor unit incline over 45 degrees. Pay attention to the sharp edges of the air conditioner to avoid any injury.
- During remote controller installation, ensure that the length of the wire between the indoor unit and remote controller is within 131 ft. (40 m).

- Do not install the air conditioner in a place where there is a danger of exposure to inflammable gas leakage. (If the gas leaks and builds up around the unit, it may catch fire).
- Establish drain piping according to the instructions in this manual. (Inadequate piping may cause flooding).
- Tighten the flare nut according to the specifications with a torque wrench. (If the flare nut is tightened beyond specified torque, the flare nut may crack after a long time and cause refrigerant leakage).
The Tools and Instruments for Installation
| Number | Tool | Number | Tool |
| 1 | Standard screwdriver | 8 | Knife or wire stripper |
| 2 | Vacuum pump | 9 | Leveller |
| 3 | Charge hose | 10 | Hammer |
| 4 | Pipe bender | 11 | Churn drill |
| 5 | Adjustable wrench | 12 | Pipe expander |
| 6 | Pipe cutter | 13 | Inner hexagon spanner |
| 7 | Crosshead screwdriver | 14 | Measuring Tape |
The Installation of the Indoor Unit

Do not install the indoor unit in a flammable environment to avoid fire or an explosion.
- Check to ensure that the ceiling slab is strong enough. Otherwise, the indoor unit may topple, and fall down causing injury.
- Do not install the indoor unit outdoors. If done, an electric hazard or electric leakage will occur.
The Initial Check
- Install the indoor unit with a proper clearance around it for operation and maintenance space, as shown in Fig.3.1.
- Provide a service access door near the unit piping connection area on the ceiling.
- Ensure that the ceiling has sufficient strength to hang the indoor unit.
- Check that the ceiling surface is flat for the air panel installation work.

- Select the installation location as shown in Fig 3.2:
(A) Minimum Space
(B) Down Slope Pitch of Drain Piping:1/25 ~ 1/100

| Model Capacity (Btu/h) | Hin. (mm) |
| 9K~12K | 9-5/8 (245) |
| 18K~24K | 9-3/4 (248) |
| 36K | 11-3/4 (298) |
- Consider the air distribution from the indoor unit to the space of the room, and select a suitable location so that uniform air temperature distribution can be obtained in the room. It is recommended that the indoor unit is installed 8 ft. (2.5m) to 10 ft. (3m) from the floor level.
- Do not install flammable parts in the service space for the indoor unit.
- Avoid obstacles that may hamper the air intake or the air discharge flow.
- Do not install the indoor unit in a machinery shop or kitchen where oil vapor or its mist flows to the indoor unit.
The oil will deposit on the heat exchanger, thereby reducing the indoor unit performance, and may deform and in severe case, break the plastic parts of the indoor unit. - Pay attention to the following points when the indoor unit is installed in a hospital or other facilities where there are electromagnetic waves from medical equipment:
(A) Do not install the indoor unit where the electromagnetic wave is directly radiated to the electrical box, remote control cable or remote control switch.
(B) Install the indoor unit and components at least 10 ft. (3m) from the electromagnetic wave radiator.
(C) Prepare a steel case and install the remote control switch in it. Prepare a steel conduit tube and wire the remote control cable in it. Then, connect the ground wire with the box and the tube.
(D) Install a noise filter when the power supply emits harmful noises. - To avoid any corrosive action to the heat exchanger, do not install the indoor unit in an acid or alkaline environment. If the indoor unit has to be installed in such environments, use a corrosion-proof type unit.

Ensure that the below-calculated number is within 0.3 kg/m³• Otherwise it may cause a dangerous situation if the refrigerant in the Outdoor Unit leaks into the room where the Indoor Unit is installed.

Installation
Opening of False Ceiling and Suspension Bolts
- Determine the final location and direction of installation of the indoor unit paying careful attention to the space for the piping, wiring, and maintenance.
Pattern board for installation is printed on the packing. Cut off the pattern for opening the false ceiling and installing suspension bolts. - Cut out the area for the indoor unit in the false ceiling and install suspension bolts, as shown in Fig. 3.3.

- Check to ensure that the ceiling is horizontally level, otherwise, drainage can not flow.
- Strengthen the opening parts of the false ceiling
- Mount suspension bolts, as shown in Fig. 3.4.

Mounting Position of the Indoor Unit


Mounting the Indoor Unit
- Mount the nuts and washers to the suspension bolts.
Place the washer so that the surface with insulation faces downwards. - Lift the Indoor Unit by hoist, and do not apply any force on the drain pan
- Secure the indoor unit using the nuts and washer.

NOTE: ff a false ceiling is already constructed, complete all piping and wiring work inside the ceiling before fixing the indoor unit.
Adjusting the Space between Indoor Unit and False Ceiling Opening
- Check the level of the drain pan using a leveler to avoid incorrect operation of the drain discharge mechanism in the indoor unit. The drain piping side of the indoor unit must be approximately 3/16 in. (5mm) lower than the other part.
- Tighten the nuts of the suspension brackets after the adjustment is completed. Apply LOCK-TIGHT paint* to the bolts and nuts to prevent them from loosening, Otherwise, abnormal noises or sounds may occur and the indoor unit may fall down.
LOCK-TIGHT paint*: Paint the lock bolts and nuts. Adjust the indoor unit to the correct position while checking with the scale (factory-supplied).
- Pattern Board for installation is attached with the packing.
- Adjust the position of the indoor unit, as shown below by using a checking scale.
a . For Ceiling already Completed with Panels
b. Ceiling not Completed with Panels yet
Installation Details for Air Panels
- Installation work for the air panel should be done according to the Installation Manual for Air Panel.
- Ensure that the connector between the indoor unit and the air panel is properly connected.
Refrigerant Piping

Use refrigerant R410A in the refrigerant cycle (refer to outdoor nameplate). Do not charge oxygen, acetylene or other flammable and poisonous gases into the refrigerant cycle when performing a leakage test or an air-tight test. These types of gases are extremely dangerous and can cause an explosion. It is recommended that nitrogen be used for these types of tests.
The Piping Material
- Prepare locally-supplied copper pipes.
- Select the piping size from the following table.
Model Gas pipe [in. (mm)] Liquid pipe [in. (mm)] 9K~12K ∅3/8 (9.52) ∅1/4 (6.35) 18K ∅1/2 (12.7) ∅1/4 (6.35) 24K ∅ 5/8 (15.88) ∅ 3/8 (9.52) 36K ∅ 3/4 (19.05) ∅ 3/8 (9.52) - Select clean copper pipes. Make sure there is no dust and moisture inside. Blow the pipes with nitrogen or dry air to remove dust and foreign materials before connecting pipes.
The Piping Connection
- The position of piping connection is shown in Fig. 4. 1. (Indoor Unit)

- When tightening the flare nut, use two spanners as shown in Fig.4.2.

| Tube size [in. (mm)] | Torque [Ibf-ft. (N-m) ] |
| ∅1/4 (6.35) | 14.8 (20) |
| ∅3/8 (9.52) | 29.5 (40) |
| ∅1/2 (12.7) | 44.3 (60) |
| ∅5/8 (15.88) | 59.0 (80) |
| ∅3/4 (19.05) | 73.8 (100) |
Drain Piping

- Do not create an upper-slope or rise for the drain piping, since drain water can flow back to the indoor unit causing leakage into the room when the system operation is stopped.
- Do not connect the drain pipe with sanitary or sewage piping or any other drainage piping.
- When the common drain piping is connected with other indoor units, the connected position of each indoor unit must be higher than the common drain pipe, also the pipes must be large enough according to the unit size and the number of nuts.
- After performing drain piping work and electrical wiring, check to ensure that water flows smoothly as in the following procedure.
- Checking with the Float Switch:
(A) Switch ON the power supply.
(B) Pour 1.8 liters of water into the drain pan.
(C) Check to ensure that the water flows smoothly or whether no water leakage occurs.
When water cannot be found at the end of the drain piping, pour another 1.8 liters of water into the drain.
(D) Switch ON the power supply and press the RUN/STOP button. - In case of pouring water through the access door.

- In case of pouring water through the air outlet.

Installation and Maintenance
- Prepare a polyvinyl chloride pipe with a 1-1/4 in. (32mm) outer diameter.
- Fasten the tubing to the drain hose with the adhesive agent and factory-supplied clamp.
The drain piping must be performed with a down-slope pitch of 1/25 to 1/100.
* The total length of a+b+c :
a<12 in. (300mm), b<33-1/2 in. (850mm), c=<2 in. (50mm), a+b+c<43-5/16 in. (1100mm)
* In case of lifting the drainpipe at the outlet part, perform the drain piping work as shown in the above figure. - Insulate the drain pipe after connecting the drain hose.

Electrical Wiring

- Turn OFF the main power switch to the indoor unit and the outdoor unit before electrical wiring work or a periodical check is performed.
- Check to ensure that the indoor fan and the outdoor fan have stopped before electrical wiring work or a periodical check is performed.
- Protect the wires, drain pipes, electrical parts, etc. from rats or other small animals. If not protected, rats may gnaw at unprotected parts and at the worst, a fire will occur.
- Check the item below before turning ON the main switch.
- Tighten screws according to the following torque.
M3.5: 0.9 lbf-ft. (1.2 N·m)
M5: 1.5 to 1.8 lbf-ft. (2.0 to 2.4 N·m)

- Wrap the accessory packing around the wires, and plug the wiring connection hole with the seal material to protect the product from any condensate water or insects.
- Tightly secure the wires with the cord clamp inside the indoor unit.
- Secure the cable of the remote control switch using the cord clamp inside the electrical box.
General Check
- Make sure that the field-selected electrical components(main power switches, circuit breakers, wires, conduit connectors and wire terminals) have been properly selected according to the electrical data given in “7. Electrical Installation”. Make sure that the components comply with National Electrical Code(NEC).
- Check to ensure that the power supply voltage is within ±10% of the rated voltage.
- Check the capacity of the electrical wires. If the power source capacity is too low, the system cannot be started due to the voltage drop.
- Check to ensure that the ground wire is connected.
- Power Source Main Switch Install a multi-pole main switch with a space of 1/8 in. (3.5mm) or more between each phase.
Electrical Wiring Connection
The intermediate connection between the indoor unit and the air panel should be referred to in the “Installation Manual for Air Panel”.
- Connect the power supply and earth wires to the terminals in the electrical box.
- Connect the wires between the indoor unit and the outdoor unit to the terminals in the electrical box.
Electrical Wiring Diagram

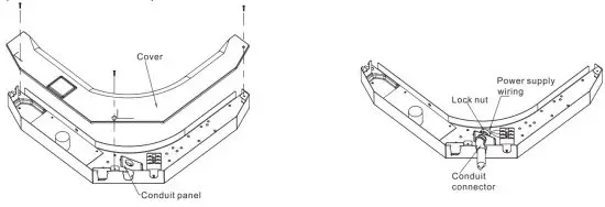
Wire connects step
- Remove the screws and the cover.
- Pass power supply wiring through the hole on the conduit panel.
- Fasten the conduit connected to the conduit panel using the lock nut.
- Connect the power supply wiring to the terminal.
- Tie the power supply wiring with the clamp tightly.
- After completing the wiring, seal the wiring hole with the sealing material.
- Put the cover after the completion of the work.

Electrical Installation

- Use an ELB (Electric Leakage Breaker). If not used, it may cause an electric shock or a fire.
- Do not operate the system until all the checkpoints have been cleared.
(A) Check to ensure that the insulation resistance is more than 2MQ, by measuring the resistance between the ground and the terminal of the electrical parts. If not, do not operate the system until the electrical leakage is found and repaired.
(B) Check to ensure that the stop valves of the outdoor unit are fully opened and then start the system.Model Capacity(Btu/h) Transmitting Cable Size 9K~36K 4X16AWG
Note:
- Follow local codes and regulations when selecting field wires and all the above are the minimum wire size.
- Use copper supply wires.
- When transmitting cable length is more than 49 ft. (15m), a larger wire size should be selected.
- Install the main switch and ELB for each system separately. Select the high response type ELB that is acted within 0.1second.
Recommended capacity to see outdoor machine switch capacity.
Attentions when connecting the power supply wiring

- When connecting the terminal block using stranded wire, make sure to use the round crimp-style terminal for connection to the power supply terminal block. Place the round crimp-style terminals on the wires up to the covered part and secure in place
- When connecting the terminal block using a single core wire, be sure to perform curing.
Trial Run
Please perform a trial run according to the outdoor unit installation manual.






Do not use the power supply circuit breaker or pull off the plug to turn it off during operation. This may cause a fire due to spark, etc.
Avoid dirt accumulation on the power supply circuit breaker. Connect the power supply cord to it firmly and correctly, Otherwise, it may lead to electric shock or a fire break out due to insufficient contact.
Do not apply excess pressure, pull or press the power supply cord, otherwise, the power supply cord can break leading to electric shock or fire.
Never insert a stick or similar object into the unit. Since the fan is rotating at high speed, this may cause an injury.
It is harmful to your health if you are exposed to cold air for a prolonged period of time. Hence it is recommended for uniform distribution of airflow in the room.
Turn off the appliance first and then cut off the power supply when the appliance malfunctions.
Do not repair the appliance on your own, this may lead to electric shock and so on.
Prevent the airflow from reaching the gas burners and stove.
Do not operate the unit with wet hands.
It is the user’s responsibility to make the appliance grounded according to local codes or ordinances by a licensed person.
Place the washer so that the surface with insulation faces downwards.
a . For Ceiling already Completed with Panels
b. Ceiling not Completed with Panels yet




* The total length of a+b+c :














