


Drain Kit
Installation Manual
PTAC Heat Pump Air Conditioner Unit
DRAIN KIT OF PTAC
INSTALLATION INSTRUCTIONS
| DRAIN KIT PARTS LIST | |||
| ITEM | DESCRIPTION | QT’Y | REMARE |
| 1 | COVER PLATE WITH DRAIN OUTLET | 1 | |
| 2 | FOAM GASKET WITH DRAIN OUTLET | 6 | |
| 3 | COVER PLATE | 2 | |
| 4 | BENT TUBE | 1 | |
| 5 | STRAIGHT TUBE | 1 | |
| 6 | SCREW ST3.9*14(optional) | 6 | |

HOW TO INSTALL THE DRAIN KIT
- You can choose outside drainage or inside drainage. See the following procedures to perform outside drainage.
Attach foam gasket to cover plate as shown below.
- Insert the bent tube into the cover plate with drain outlet as shown below.

- Rotate the tube to the proper position as shown below.

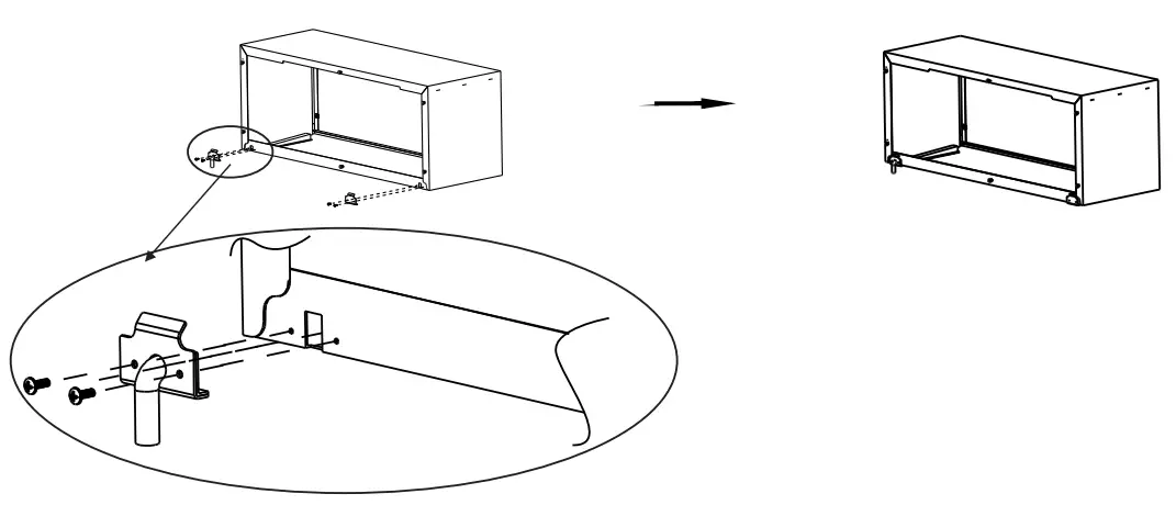
- Install the cover plate with tube to the drain outlet located at the back of the sleeve by using two screws and install the cover plate without tube to the other drain outlet by using two screws as shown below.
- NOTE:The cover plate with tube may be placed on either sied of the sleeve. Before tightening the screws,make sure the tube s position will allow the sleeve to fit through the wall.

- See the following procedures to perform inside drainage.
Attach foam gasket to cover plate as shown below.
- Insert the straight tube into the cover plate with drain outlet as shown below.

- Drill two 1/8-inch holes in suitable position of the bottom of the wall sleeve to line up with the holes of the cover plate as shown below. Then drill one 0.4 ~0.5 hole in the middle of the above two holes as shown below.

- First install the cover plate with tube to the bottom of the wall sleeve by useng two screws with light strength as shown below,then fasten tightly two screws at the same
time with not more strong strength to avoid to injure the tube.
- Install the other two cover plates to the drain outlet located at the back of the wall sleeve by using four screws as shown below, fasten tightly and do not make water leak.

NOTE:When you choice the inside drainage ,make sure the water be leaded to the floor drain or a suitable drainage facility with a water hose (local purchase) to the straight tube to avoid water to flow to the indoor floor. The drainage facility should be lower than the drain outlet of the wall sleeve.
NOTE:When you choice the outside drainage ,must install a cover plate without hole to the drain outlet of the bottom of the wall sleeve by using two screws and make sure water do not leak as shown below.Make sure the plate’s position will allow the sleeve to fit through thewall.

CWO49I-PTAC(PSGZ)
2020001B3116

























