BROAN B230H75RS AI Series 230 CFM Heat Recovery Ventilator Installation Guide
Please take note that this manual uses the following symbols to emphasize particular information:
WARNING
Identifies an instruction which, if not followed, might cause serious personal injuries including possibility of death.
CAUTION
Denotes an instruction which, if not followed, may severely damage the unit and/or its components.
NOTE: Indicates supplementary information needed to fully complete an instruction.
LIMITATION
For residential (domestic) installation only. Installation work and electrical wiring must be done by a qualified person in accordance with all applicable codes and standards, including fire-rated construction codes and standards.
WARNING
TO REDUCE THE RISK OF FIRE, ELECTRIC SHOCK, OR INJURY TO PERSON(S) OBSERVE THE FOLLOWING:
- Use this unit only in the manner intended by the manufacturer.
- Before servicing or cleaning this unit, disconnect power cord from electrical outlet.
- This unit is not designed to provide combustion and/or dilution air for fuel-burning appliances.
- When cutting or drilling into a wall or ceiling, do not damage electrical wiring and other hidden utilities.
- Do not use this unit with any solid-state speed control device other than those specified in section 3.1.
- This unit must be grounded. The power supply cord has a 3-prong grounding plug for your personal safety. It must be plugged into a mating 3-prong grounding receptacle, grounded in accordance with the national electrical code and local codes and ordinances. Do not remove the ground prong. Do not use an extension cord.
- Do not install in a cooking area or connect directly to any appliances.
- Do not use to exhaust hazardous or explosive materials and vapors.
- When performing installation, servicing or cleaning this unit, it is recommended to wear safety glasses and gloves.
- When applicable local regulation comprises more restrictive installation and/or certification requirements, the aforementioned requirements prevail on those of this document and the installer agrees to conform to these at his own expense.
CAUTION
- To avoid prematurely clogged filters, turn the unit OFF during construction or renovation.
- Please read specification label on product for further information and requirements.
- Be sure to duct air outside – Do not intake/exhaust air into spaces within walls or ceiling or into attics, crawl spaces, or garage. Do not attempt to recover the exhaust air from a dryer or a range hood.
- Intended for residential installation only in accordance with the requirements of NFPA 90B (for a unit installed in U.S.A.) or Part 9 of the National Building Code of Canada (for a unit installed in Canada).
- Do not run any air ducts directly above or within 2 ft. of a furnace or its supply plenum, boiler, or other heat producing appliance. If a duct has to be connected to the furnace return plenum, it must be connected 10 ft. away from plenum connection to the furnace.
- The ductwork is intended to be installed in compliance with all applicable local and national codes.
- When leaving the house for a long period of time (more than two weeks), a responsible person should regularly check if the unit operates adequately.
- If the ductwork passes through an unconditioned space (e.g.: attic), the unit must operate continuously except when performing maintenance and/or repair. Also, the ambient temperature of the house should never drop below 65°F (18°C).
- At least once a year, the unit mechanical and electronic parts should be inspected by qualified service personnel.
- Do not use your unit during construction or renovation of your house or when sanding drywall. Certain types of dust and vapors may damage your system.
- Make sure at all times that the outside intake and exhaust hoods are free from any snow during the winter season. It is important to check your unit during a big snow storm, so it doesn’t draw in any snow. If this is the case, please turn the unit OFF for a few hours.
- Since the electronic control system of the unit uses a microprocessor, it may not operate correctly because of external noise or very short power failure. If this happens, unplug the unit and wait approximately 10 seconds. Then, plug the unit in again.
- Do not make excessive use of fragrance appliances or chemicals since some may damage the unit components material.
Consumer Information
A. To ensure quiet operation of the H/ERV, each product model must be installed using sound attenuation techniques appropriate for the installation.
B. The way your heat/energy-recovery ventilator is installed can make a significant difference to the electrical energy you use. To minimize the electricity use of the heat/energy-recovery ventilator, a stand-alone fully ducted installation is recommended. If you choose a simplified installation that operates your furnace air handler for room-to-room ventilation, an electrically efficient furnace that has an electronically commutated (EC) variable speed blower motor will minimize your electrical energy consumption and operating cost.
C. Installation of a user-accessible control with your product model will improve comfort and may significantly reduce the product model’s energy use.
TECHNICAL DATA
Air Distribution (Normal Operation)

NOTE: The dimensions, performance charts and specifications are listed on the specification sheets of the unit. Visit our website at
Broan-NuTone.com.
INSTALLATION
WARNING
The wearing of safety glasses and gloves is recommended when installing, maintaining or cleaning the unit to reduce the risk of injury that could be caused by the presence of thin metal and/or high moving parts.
CAUTION
Make sure that no piece of mineral wool will enter in the unit during installation. Otherwise, this could reduce airflow and generate vibrations and noise in the unit.
Locating and Mounting the Unit
Choose an appropriate location for the unit:
- Within an area of the house where the ambient temperature is kept between 50°F and 149°F;
- Away from living areas (dining room, living room, bedroom), if possible;
- So as to provide easy access to the interior cabinet for maintenance, and to the control panel on the side of the unit;
- Close to an exterior wall, so as to limit the length of the insulated flexible ducts to and from the unit;
- HRV units only: close to a drain. If no drain is close by, use a pail to collect run-off;
- Away from hot chimneys, electrical panel and other fire hazards;
- Within 6 feet of a power source (standard outlet).
Locating and Mounting the Unit (cont.)
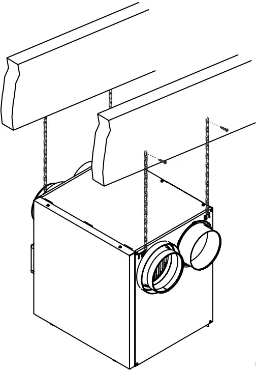
Suspended to the joists or trusts:
- Slightly bend the brackets on the unit to insert the provided chains.
- Hang the unit to the joists (or trusts) using the chains. Springs are not required.
- Always make sure that the unit is no more than 1/4″ off level.

Wall mounted:
- Choose the appropriate location(s) for the mounting brackets (see illustration below) according to stud(s) position.
- Insert the provided brackets under the unit frame (see illustration hereafter).
- Fix the bracket using the screw no. 8 x 3/8″.
- Using the 4 no. 8 x 1½” screws provided, secure the unit to the wall making sure that the 4 screws engage into a stud.
- Always make sure that the unit is no more than 1/4″ off level.

INSTALLATION WITH 2 BRACKETS
INSTALLATION WITH 4 BRACKETS
Installing the Ductwork and the Registers
WARNING
Never install a stale air exhaust register in a room where there is a combustion device, such as a furnace, gas water heater, fireplace or any appliance or equipment that can generate gaseous contaminants, or pollutants. The negative pressure this could create in the room may impair proper evacuation of the gas or pollutants, which may have severe health consequences.
CAUTION
If ducts have to go through an unconditioned space (e.g.: attic), always use insulated ducts to prevent condensation formation inside and outside ducts, which could cause material damage and/or mold growth. Moreover, if fresh air to building duct and/or stale air from building duct goes/go through an unconditioned space, the unit must be set to operate continuously in cold conditions (below 10°C/50°F). Continuous air movement inside ducts will prevent condensation formation. The unit can be stopped temporarily for maintenance and/or repair purposes in such conditions.
Fully Ducted System (T-1) (This configuration allows recirculation mode to operate.)
Stale air from building:
- Install registers in areas where contaminants and humidity are produced: kitchen, bathrooms, laundry room, etc.
- Install registers on an interior wall, 6 to 12 inches away from the ceiling OR in the ceiling.
- Install the kitchen register at least 4 feet away from the range.
- Bathroom fans and range hoods can be used to better exhaust stale air.
- Homes with more than one level require at least one exhaust register at the highest level. Fresh air to building:
- Install registers in bedrooms, dining room, living room and basement.
- Install registers in the ceiling OR high on the walls with the airflow directed towards the ceiling.
- If a register must be installed in the floor, direct the airflow up the wall

NOTE: For this type of configuration, the T-1 option must be selected on the LCD screen when auto-balancing the unit (see section 5.2).
Exhaust Ducted System (T-2) (This configuration allows recirculation mode to operate.)
WARNING
Duct connection to the central forced-air system can be regulated by some codes and standards. It is your responsibility to consider and comply with your local requirements to avoid any non-complianc.
Stale air from building:
Same as for Fully Ducted System, described on point 2.2.1.
Fresh air to building:
- Connect the fresh air distribution duct of the unit to the central forcedair system return duct at least 10 feet away from the central forced-air system (A+B)*.
- This 10-ft. distance applies only in areas where the outside temperature falls below the freezing point (32°F).

NOTE: The central forced-air system blower operation can be synchronized with the unit (see section 3.3). It is recommended, but not essential that the central forced-air system blower runs when the unit is in operation.
NOTE: For this type of configuration, the T-2 option must be selected on the LCD screen when auto-balancing the unit (see section 5.2).
Alternate installation (T-3) (This configuration allows recirculation mode to operate.) Unit should be synchronized with central forced-air system operation to avoid condensation and mold growth in central forced-air system distribution ducting if cooling mode of central forced-air system is used.
CAUTION
This configuration is not recommended with high velocity central forcedair system. High pressures produced by these systems could affect unit proper operation and generate errors
NOTE: For this type of configuration, the T-3 option must be selected on the LCD screen when auto-balancing the unit (see section 5.2).
Simplified Installation (T-4) (This configuration does not allow recirculation mode to operate.)
CAUTION
The central forced-air system must be synchronized with the unit since fresh air evacuation and distribution come from the same section. The central forced-air system must operate to avoid fresh air to be directly drawn by the evacuation, which would reduce significantly fresh air supply to the building. See section 3.3 for ducting.
WARNING
Duct connection to the central forced-air system can be regulated by some codes and standards. It is your responsibility to consider and comply with your local requirements to avoid any non-compliance.
Fresh air and exhaust air flow through the central forced-air system ducts, which simplifies the installation. The use of bathroom fans and a range hood is suggested to exhaust stale air. Stale air from building:
Connect the stale air intake port of the unit to the central forced-air system return duct at least 3 feet ahead of the fresh air distribution from the unit. Fresh air to building:
Connect the fresh air distribution duct of the unit to the central forcedair system return duct at least 10 feet away from the central forced-air system (A+B)*.
- This 10-ft. distance applies only in areas where the outside temperature falls below the freezing point (32°F).

NOTE: For this type of configuration, the T-4 option must be selected on the LCD screen when auto-balancing the unit (see section 5.2).
Alternate installation (T-5) (This configuration does not allow recirculation mode to operate.) Unit should be synchronized with central forced-air system operation to avoid condensation and mold growth in central forced-air system distribution ducting if cooling mode of central forced-air system is used.
CAUTION
This configuration is not recommended with high velocity central force dair system. High pressures produced by these systems could affect unit proper operation and generate errors.
NOTE: For this type of configuration, the T-5 option must be selected on the LCD screen when auto-balancing the unit (see section 5.2).
Connecting the Drain (HRV Only)
CAUTION
Install the drain hose included and run it to a drain or a pail. This unit may generate a large amount of water in cooler weather. It is necessary to install the drain hose properly to prevent water damage and/or material damage.
- Cut the appropriate length of drain tubing (see illustrations below).
- Connect the tubing to the provided adaptor.
- Make a water trap loop in the tube to prevent the unit from drawing unpleasant odors from the drain source.
- Add water in the loop to prevent noise or hiss.
- Make sure there is a distance of at least 2″ between the unit and the tubing loop (see illustration below).
- Using the tie wrap provided, attach the tubing as illustrated below.
- Run the tube to the floor drain or to an alternate drain pipe or pail.
- IMPORTANT: If using a pail to collect water, place the tube end approximately 1” inside the pail in order to prevent water from being drawn back up into the unit.

Exterior Hoods Installation / Location
WARNING
Make sure intake hood is located at least 10 feet away from any of the following:
- Dryer exhaust, central vacuum vent
- Gas meter exhaust, gas barbecue-grill
- Any exhaust vents or chimney from a combustion source
- Garbage bin and any other source of contamination such as parking lots, streets.
For multifamily buildings only:
Make sure exhaust hood is located at least 3 feet away from any of the following:
- Property lines
- Operable openings into buildings (door, window)
- Intake and exhaust hood(s) shall be protected with corrosion resistant screens, louvers or grilles having openings not less than 1/4 inch and not larger than 1/2 inch.
- Install hood(s) at least at 18 inches away from the ground OR depth of expected snow accumulation, whichever is greater.
WARRANTY
This ventilation unit is a high quality product, built and packaged with care. The manufacturer warrants to the original purchaser of its product, that such products will be free from defects for the period stated below, from date of original purchase. For all units, the warranty covers parts only against any operational defect. This 5-year warranty is subject to performance of the core maintenance according to recommendations in this manual. The heat recovery core (HRV) has a 10 year warranty, and the energy recovery core (ERV) has a 5-year warranty. If any defect should occur, we urge you to read the user guide carefully. If the problem persists, observe the following rules:
RULES TO FOLLOW
If the unit is defective, contact your ventilation contractor (see address on your manual’s cover page). The contractor will determine with you the reason for the defect, and if needed, do the replacement or repair. If ever it is impossible to reach your ventilation contractor, call 1-800-558-1711 (in North America); the personnel will be pleased to give you the phone number of a distributor or a service center near you.
REPLACEMENT PARTS AND REPAIR
In order to ensure your ventilation unit remains in good working condition, you must use the Broan genuine replacement parts only. The Broan genuine replacement parts are specially designed for each unit and are manufactured to comply with all the applicable certification standards and maintain a high standard of safety. Any third party replacement part used may cause serious damage and drastically reduce the performance level of your unit, which will result in premature failing. Broan also recommends that you contact a service depot certified by the manu facturerfor all replacement parts and repair.
![]()





















