BROAN 510 8 In180 CFM Room to Room Exhaust Fan Installation Guide
READ AND SAVE THESE INSTRUCTIONS
WARNING
TO REDUCE THE RISK OF FIRE ELECTRIC SHOCK, OR INJURY TO PERSONS, OBSERVE THE FOLLOWING:
- Use this unit only in the manner intended by the manufacturer. If you have questions, contact the manufacturer at the address or telephone number listed in the warranty.
- Before servicing or cleaning unit, switch power off at service panel and lock the service disconnecting means to prevent power from being switched on accidentally. When the service disconnecting means cannot be locked, securely fasten a prominent warning device, such as a tag, to the service\ panel.
- Installation work and electrical wiring must be done by a qualified person(s) in accordance with all applicable codes and standards, including fire-related construction codes and standards.
- Sufficient air is needed for proper combustion and exhausting of gases through the flue (chimney) of fuel burning equipment to prevent backdrafting. Follow the heating equipment manufacturer’s guideline and safety standards such as those published by the National Fire Protection Association (NFPA), and the American Society for Heating, Refrigeration and Air Conditioning Engineers (ASHRAE), and the local code authorities.
- When cutting or drilling into wall or ceiling, do not damage electrical wiring and other hidden utilities.
- DO NOT CREATE AN OPENING IN A FIRERATED WALL TO INSTALL THIS FAN. It is not an exhaust fan, rather it is intended to direct air from one room to another.
- This unit must be grounded.
CAUTION
- For general ventilating use only. Do not use to exhaust hazardous or explosive materials and vapors.
- To avoid motor bearing damage and noisy and/or unbalanced impellers, keep drywall spray, construction dust etc. off power unit.
- Use care when handling motor bracket assembly to prevent damage to blade. Do not set down assembly with weight of motor resting on the blade.
- Please read specification label on product for further information and requirements.
TOOLS AND MATERIALS REQUIRED
- Pencil and ruler or tape measure for measuring and marking locations
- Straight-blade screwdriver
- 3/16” drill for drilling starter holes
- Drill, electric or ratchet drive
- Pliers for opening knockouts
- Drywall saw or saber saw for cutting opening through wall
- Electrical supplies of type to comply with local codes
INSTALLER: Leave This Manual With The Homeowner. HOMEOWNER: Use and Care Information.
TYPICAL INSTALLATION
- This unit mounts between walls 3 to 5 1/2” thick. Housing can be fastened to walls in several ways. Mounting flanges can be nailed to wall studs through small holes in mounting flanges or fastened to wallboard using hollow wall fasteners. Large sleeve screws also clamp housing halves to walls for secure installation. Housing sleeves should always be tied together with two black sheet metal screws provided in parts bag.
- Before installing fan, determine desired air flow direction. Air flows through fan in the same direction as the speed control knob points (FIG. 1).

PREPARE INSTALLATION LOCATION
- Cut an 11 5/8” opening through both interior walls. Holes in both walls MUST line up (FIG. 2).

PREPARE FAN
- Pull fan halves apart. Remove wiring box cover\ (FIG. 3).

- Remove electrical knockout on side or bottom of motor housing (FIG. 3).
- Install sleeve fasteners. Measure wall thickness through holes cut in wall. If walls are 3 1/2” thick or less, install sleeve fasteners in Position 1 as shown in Figure 4. If wall is thicker than 3 1/2” install fasteners in Position 2 as shown in Figure.

- Brackets slide into place.
INSTALL FAN
- Run electrical wiring to installation opening. Fasten wiring to motor housing. Use proper connector for type of wire used.
- Slide motor housing into opening (FIG. 5).

- Make electrical connections as shown in Figure 6. Ground fan using green ground screw provided. Replace wiring box cover.

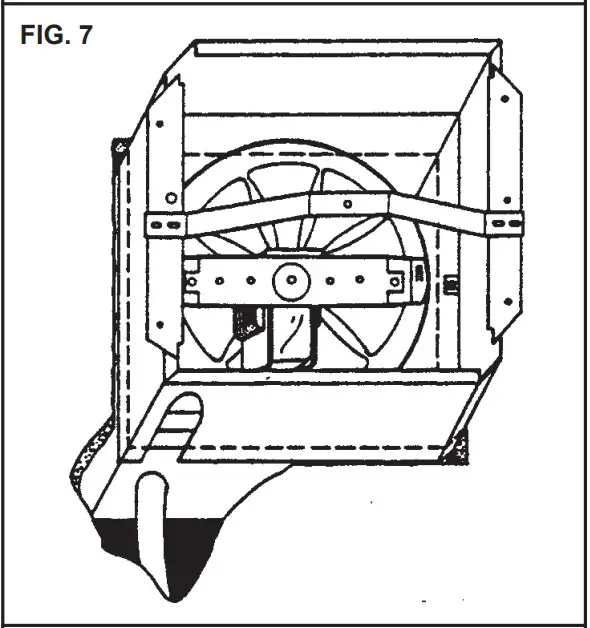
- Slide grille housing into opening. Test fit grille housing and remove knockout sections on housing to fit around electrical wiring (FIG. 7).

- Fasten housing halves together with long sleeve screws and sleeve fasteners. Tie sleeves together with two black sheet metal screws provided in plastic parts bag (FIG. 8).

- Plug in motor, turn on power and check operation of fan. Install grilles with grille screws provided. Long grille screws are used on grille housing. Install speed control knob.
USE AND CARE
The rotary switch turns the fan ON and OFF and controls its speed. Rotate knob CLOCKWISE to turn fan ON to HIGH speed. Further CLOCKWISE rotation decreases fan speed. Rotate knob fully COUNTERCLOCKWISE (past HIGH speed) to turn fan OFF. Do not turn on the fan when starting a fire in a fireplace or wood stove until the damper is thoroughly warm and fully open. Turning the fan on too soon may draw smoke and flue gases into the room. Wait until the fire is well establised. Always unplug the fan motor before servicing the fan. The motor bearings are permanently lubricated and will never need oiling. Clean the fan blade every six months by removing the grilles, loosening the mounting bracket screws, and removing the motor assembly. Gently vacuum the blade, motor and housing. Clean grilles in warm, soapy water. Use a mild detergent such as a dishwashing liquid. DO NOT USE ABRASIVE CLOTHS, STEEL WOOL PADS, SCOURING POWDERS, ETC. DISCONNECT ELECTRIC POWER SUPPLY BEFORE SERVICING FAN!
BROAN-NUTONE ONE YEAR LIMITED WARRANTY
Broan-NuTone warrants to the original consumer purchaser of its products that such products will be free from defects in materials or workmanship for a period of one year from the date of iriginal purchase. THERE ARE NO OTHER WARRANTIES, EXPRESS OR IMPLIED, INCLUDING, BUT NOT LIMITED TO, IMPLIED WARRANTIES OF MERCHANTABILITY OR FITNESS FOR A PARTICULAR PURPOSE. During this one-year period, Broan-NuTone will, at its option, repair or replace, without charge, any product or part which is found to be defective under normal use and service. THIS WARRANTY DOES NOT EXTEND TO FLUORESCENT LAMP STARTERS AND TUBES. This warranty does not cover (a) normal maintenance and service or (b) any products or parts which have been subject to misuse, negligence, accident, improper maintenance or repair (other than by Broan-NuTone), faulty installation or installation contrary to recommended installation instructions. The duration of any implied warranty is limited to the one-year period as specified for the express warranty. Some states do not allow limitation on how long an implied warranty lasts, so the above limitation may not apply to you.
BROAN-NUTONE’S OBLIGATION TO REPAIR OR REPLACE, AT BROAN-NUTONE’S OPTION, SHALL BE THE PURCHASER SOLE AND EXCLUSIVE REMEDY UNDER THIS WARRANTY. BROANNUTONE SHALL NOT BE LIABLE FOR INCIDENTAL, CONSEQUENTIAL OR SPECIAL DAMAGES ARISING OUT OF OR IN CONNECTION WITH PRODUCT USE OR PERFORMANCE. Some states do not allow the exclusion or limitation of incidental or consequential damages, so the above limitation or exclusion may not apply to you. This warranty gives you specific legal rights, and you may also have other rights, which vary from state to state. This warranty supersedes all prior warranties.
To qualify for warranty service, you must (a) notify Broan-NuTone at the address stated below or telephone: 1-800-637-1453, (b) give the model number and part identificqaion and (c) describe the nature of any defect in the product or part. At the time of requesting wqarranty service, you must present evidence of the original purchase date.
SERVICE PARTS

| KEY NO.NUMERO DE CODIGO | MODEL 510 PART NO. MODELO 510 NO. PIEZ | MODEL 511 PART NO. MODELO 511 NO. PIEZ | DESCRIPTION | DESCRIPCION |
| 1 | 97011851 | 97011851 | Grille (Polymeric) | Rejilla (Plástico) |
| 2 | 97013674 | 97011787 | Motor Housing | Carcasa del motor |
| 3 | 99260434 | 99260434 | #10-12 U-Type Sheet | Tuercas tipo U de lámina métalica |
| Metal Nuts (1/2″ long) (2 req.) | No. 10–12 (12,70 mm (1/2 plg.) de largo) (se necesitan 2) | |||
| 4 | 99420480 | 99420480 | Sleeve Fasteners (2 req.) | Fiadores de manga (se necesitan 2) |
| 5 | ––––– | ––––– | #8A x 1/4 Hex Head | Tornillos de lámina metálica de |
| Sheet Metal Screws (2 req.)* | cabeza hexagonal No. 8A x 1/4 (se necesitan 2)* | |||
| 6 | 97011793 | 97011793 | Grille Housing | Carcasa de la rejilla |
| 7 | 99380630 | 99380630 | #10–12 x 2–7/8 Screw (2 req.) | Tornillo No. 10–12 x 2–7/8 (se necesitan 2) |
| 8 | 99270982 | 99270982 | Receptacle | Enchufe |
| 9 | ––––– | ––––– | #10–32 x 1/2 Hex Head Self Taping Screw* (2 req.) | Tornillo autoenroscable de cabeza hexagonal No. 10–32 x 1/2 * |
| 10 | 99030132 | 99030132 | Speed Control | Control de velocidad |
| 11 | 98006081 | 98006081 | Wiring Box Cover | Cubierta de la caja de enchufe |
| 12 | ––––– | ––––– | #8B x 3/8 Hex Head Self Tapping Screws (2 req.)* | Tornillos autoenroscables de cabeza hexagonal No. 8B x 3/8 (se necesitan 2)* |
| 13 | 99420579 | 99420579 | #10–12 x 3 Pan HeadScrews (2 req.) | Tornillos de cabeza planaNo. 10–12 x 3 (se necesitan 2) |
| 14 | 99150479 | 99150479 | #8–32 x 1/2 Hex Head | Tornillos autoenroscables de cabeza |
| Self Tapping Screws (2 req.)* | hexagonal No. 8–32 x 1/2 (se necesitan 2)* | |||
| 15 | 99260425 | 99260428 | Motor Nuts (2 req.) | Tuercas del motor (se necesitan 2) |
| 16 | 97011913 | 97011913 | Knob (2 req.) | Mando (se necesitan 2) |
| 17 | 98006066 | 98007820 | Motor Bracket | Soporte del motor |
| 18 | 99080596 | 99080175 | Motor | Motor |
| 19 | 99020271 | 99020165 | Blade | Paleta |
| 20 | 99260422 | 99260422 | Speed Control Nut | Tuerca de control de velocidad |
| 21 | 99360218 | 99360218 | Speed Control Knob (510, 511) | Mando de control de velocidad (510, 511) |
| 22 | 97011852 | 97011852 | Grille w/Hole (Polymeric) | Rejilla con agujero (Plástico) |
| ** | 97011886 | 97011886 | Parts Bag (510, 511)(Contains Key nos. 5, 7, 9, 13, 21) | Bolsa de piezas (510,511) (incluye claves 5, 7, 9, 13, 21) |
- Standard Hardware. May be purchased locally.
- Material estandar. Puede ser adquirido localmente.
- Not Illustrated.
- No ilustrado. Order service parts by Part No. – NOT by Key No. Encargue piezas de servicio por No. Piez – NO por No. Codigo.























