VIESSMANN Vitosol 200-T SP2A Vacuum Tube Solar Collector

Product Description
Benefits
- Highly efficient vacuum tube collector based on the heat pipe principle for high operational reliability.
- Can be universally installed anywhere, either vertically or horizontally, on roofs, as well as for horizontal freestanding installation on flat roofs, as well as walls.
- Special balcony module (1.26 m2 version) for installation on balcony railings or walls.
- The absorber areas with a highly selective coating are integrated into the vacuum tubes and therefore are not susceptible to contamination.
- Efficient heat transfer through fully encapsulated condensers, with the Duotec double pipe stainless steel heat exchanger.
- Tubes can be rotated (up to 25°) for optimum alignment with the sun, thereby maximizing the energy utilization.
- Dry connection, meaning tubes can be fitted or replaced when the system is fully operational.
- Highly effective thermal insulation for minimized heat losses from the header casing.
- Easy installation through the Viessmann assembly and connection systems.

Legend
A. Double pipe heat exchanger made from stainless steel
B. Condenser
C. Absorber
D. Heat pipe
E. Evacuated glass tube
The Vitosol 200-T, type SP2A vacuum tube collector is available in the following versions:
- 1.26 m2 with 10 tubes
- 1.51 m2 with 12 tubes.
- 3.03 m2 with 24 tubes.
The Vitosol 200-T, type SP2A can be installed on sloped or flat roofs as well as horizontally (laying flat) or freestanding as well as on walls. On sloped roofs the collectors may be positioned vertically (tubes at right angles to the roof ridge) or horizontally (tubes parallel to the roof ridge).
A highly selectively coated metal absorber is incorporated inside each vacuum tube. It ensures high absorption of insolation and low emissions of thermal radiation. A heat pipe filled with an evaporation liquid is arranged on the absorber. The heat pipe is connected to the condenser. The condenser is located inside the Duotec double pipe heat exchanger made of stainless steel. The system is referred to as a “dry connection”, i.e. tubes can be rotated and replaced even when the system is filled and is pressurised. The heat is transferred from the absorber to the heat pipe. This causes the liquid to evaporate. The vapor rises into the condenser. Heat is transferred by the heat exchanger with its copper manifold, inside which lies the condenser, to the heat transfer medium streaming past, and the vapor condenses. The condensate returns back down into the heat pipe and the process repeats.
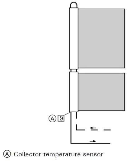
The angle of inclination must be greater than zero to guarantee circulation of the evaporator liquid in the heat exchanger. Deviations from south can be partially compensated for by rotating the vacuum tubes up to 25°. Up to 161 ft2 (15 m2) absorber area can be connected to form one collector array. For this purpose, the standard delivery includes flexible connection pipes with O-rings. The connection pipes are insulated and concealed with an aluminum cover. A connection set with clamping ring fittings enables the collector array to be readily connected to the pipes of the solar circuit. The collector temperature sensor is fitted into a sensor well inside the collector header casing.
Delivered condition
Packed in separate boxes:
- Vacuum tubes, 10 pieces per box (for model 1.26 m2) and 12 pieces per box (for model 1.51/3.03 m2)
- Header casing with tube retainer rails.
Specification
| Vitosol 200-T | 1.26 m2 | 1.51 m2 | 3.03 m2 | |
| Number of tubes | 10 | 12 | 24 | |
| Gross area | ft2 (m2) | 21.3 (1.98) | 25.4 (2.36) | 49.7 (4.62) |
| Absorber area | ft2 (m2) | 13.6 (1.26) | 16.3 (1.51) | 32.6 (3.03) |
| Aperture area | ft2 (m2) | 14.3 (1.33) | 17.2 (1.60) | 34.3 (3.19) |
| Installation position (see figure below) | A, B, C, D, E, F | |||
| Spacing between collectors | in. (mm) | — | 3.5 (88.5) | 3.5 (88.5) |
| Dimensions Width ‘a’ Height ‘b’ Depth ‘c’ | in. (mm) in. (mm) in. (mm) | 34.8 (885) 88.2 (2241) 5.9 (150) | 41.5 (1053) 88.2 (2241) 5.9 (150) | 81.1 (2061) 88.2 (2241) 5.9 (150) |
| The following values apply to the absorber area: (as tested by TUV testing laboratories in Europe) – Optical efficiency % – Heat loss factor k1 k1 W/(m2 · K) – Heat loss factor k2 k1 W/(m2 · K2) | 78.5 1.42 0.005 | 78.5 1.42 0.005 | 78.5 1.42 0.005 | |
| Thermal capacity | kJ/(m2 · K) | 8.4 | 8.4 | 8.4 |
| Weight | lb(kg) | 73 (33) | 86 (39) | 174 (79) |
| Liquid content (heat transfer medium) | USG (L) | 0.198 (0.75) | 0.23 (0.87) | 0.41 (1.55) |
| Permissible operating pressure | psig (bar) | 87 (6) | 87 (6) | 87 (6) |
| Maximum stagnation temperature | °F (°C) | 557 (292) | 557 (292) | 557 (292) |
| Connection | Ø in. (Ø mm) | ¾ (22) | ¾ (22) | ¾ (22) |
Tested quality
The collectors meet the requirements of the “Blue Angel” eco-label to RAL UZ 73. Tested in accordance with Solar KEYMARK, EN 12975 and SRCC 0G-100.
CR Collector return
CS Collector supply

Installation on Sloped Roofs
Required roof area
| Vitosol 200-T | 1.51 m2 | 3.03 m2 | ||
| Vertical installation | Horizontal installation | Vertical installation | Horizontal installation | |
| a in. (mm) | 88.2 (2240) | 41.5 + 3.5* (1053 + 89*) | 88.2 (2240) | 81.1 + 3.5* (2061 + 89*) |
| b in. (mm) | 41.5 + 3.5* (1053 + 89*) | 88.2 (2240) | 81.1 + 3.5* (2061 + 89*) | 88.2 (2240) |
* space between collectors if multiple units are installed in an array. Add dimension b for each additional collector.

Installation with roof brackets
- This method of fixing can be applied universally on all common roof covers.
- The fixing system comprises roof brackets, mounting rails, clamping brackets and screws.
- Forces are applied to the roof structure in various ways, including via the roof brackets and the roof cover. Roof covers can be very different. Consequently, damage cannot be completely excluded in the case of applied loads.

Mounting bracket 
Note: During installation, e.g. on sheet steel roofs, the mounting rails are secured directly on to the mounting brackets with T-bolts. Use on-site fixing options to secure the brackets, to the substructure.
Horizontal installation

Legend
A. Header casing
B. Mounting rail
C. Tube retainer
D. Mounting bracket
E. Roof bracket
F. Vacuum tube
Vertical installation

Legend
A. Vacuum tube
B. Clamping bracket
C. Tube retainer
D. Mounting rail
E. Roof bracket
F. Header casing
G. Mounting plate
Installation on Flat Roofs
Collector supports with fixed angle of inclination

When installing collectors, maintain the minimum clearances towards the roof edge in accordance with DIN 1055. If the roof size necessitates a split array, ensure that
sections of the same size are created. The collectors can be secured on any solid substructure or on concrete slabs. When installing collectors on concrete slabs, secure them with additional ballast against slippage, tipping and lifting. Slippage is the movement of the collectors on the roof surface due to wind, because of insufficient friction between the roof surface and the collector fixing system. Collectors can be secured by guy ropes or by being fixed to other roof structures.

Collector supports with adjustable angle of inclination.

Vertical tube installation (elevated)
| Angle of inclination | 30° | 45° | 60° | |
| a | in. | 95 | 86.6 | 72.4 |
| (mm) | (2413) | (2200) | (1838) | |
Ballast and max. load on the substructure
Calculation in accordance with DIN 1055-4, 3/2005 and DIN 1055-5, 7/2005 or applicable local codes. Two support slabs each, both A and B are required for every collector. Ballast weight requirements, as well as the calculation of additional live loads (due to installation of solar collectors), must be evaluated by a professional structural engineer.
Vitosol 200-T SP2A
| Combination | x in. (mm) | y in. (mm) |
| 1.51 m2/1.51 m2 | 20/20 (505/505) | 23.5 (595) |
| 1.51 m2/3.03 m2 | 20/40 (505/1010) | 33.5 (850) |
| 3.03 m2/3.03 m2 | 40/40 (1010/1010) | 43.5 (1100) |
Note: For calculating z, see page 7.
Installation on Flat Roofs
Determining the collector row clearance z
At sunrise and sunset (when the sun is very low), shading cannot be avoided when collectors are arranged behind one another. To keep the reduction in yield within acceptable parameters, observe specific row clearances (dimension z). When the sun is at its highest on the shortest day of the year (21.12), the rows at the back should be free of shading. The angle of the sun (at midday) on 21.12. must be used to calculate the row clearance.
Example: Toronto is approximately located on latitude 43° north. In the northern hemisphere, this value is calculated as follows:

Installation on Flat Roofs

Horizontal installation on flat roofs (non-elevated)
Yield can be optimized by rotating the vacuum tubes to 25° to the horizontal plane. The collector must be sloped greater than 0°. Ballast and maximum load on the substructure Calculation in accordance with DIN 1055-4, 3/2005 and DIN 1055-5, 7/2005 or applicable local codes. Two support slabs each, both A and B are required for every collector. Ballast weight requirements, as well as the calculation of additional live loads (due to installation of solar collectors), must be evaluated by a professional structural engineer.
Installation on Walls

Horizontal installation on walls
For installation on balconies, there is a special 10-tube 1.26 m2 collector model. Yield can be optimized by rotating the vacuum tubes to 25° to the vertical plane. Run the hydraulic pipe connections from below and use the air vent at the high point of the manifold.
Installation Examples
Take venting into account when engineering the collector array.
Note: Max. 161 ft2 (15 m2) absorber collector area can be connected in series to form a single array.
Vertical installation on sloped roofs, horizontal installation or installation on supports. Single row installation; connection from the left or right.

Installation in several rows, connection from the left or right.

Horizontal installation on a sloped roof or wall mount. Single sided connection from below required. U-pipe fitting with integrated air vent must be used.
- collector array
With this type of connection, the “Evacuated tube collector” function at the SCU control must be enabled. - or more collector arrays
With this type of connection, the “Evacuated tube collector” function at the SCU control must be enabled.


Pressure Drop

Relative to water, corresponds to Tyfocor LS at approximately 140° F (60° C).
Note: For multiple collector arrays, use the total flow for the whole array to calculate the pressure drop.
Flow Rate
SP2A collectors have minimum required flow rates (lowflow mode), and maximum flow rates (high-flow mode). The collectors must operate within this range, and the designer must choose a flow rate based on the specific parameters of the system.
High-flow mode
High-flow mode results in low temperature spread across the collectors, but may require bigger pump and pipe sizes for large systems. High-flow mode is best suited for small scale systems consisting of less than 50 tubes, and should always be used for the 1.26 m2 balcony module.
Medium and low-flow modes
Medium and low-flow modes result in smaller pipe and pump sizes, but higher temperature spread across the collectors. Low-flow and medium-flow modes should be used for larger collector arrays consisting of greater than 50 tubes, to avoid high friction losses and high fluid velocities within the collector, and reduce the size of supply and return piping requirements. Use the charts below to determine the required flow rate, based on the size of the collector or collector array.
Individual collector flow rates
| Flow | High flow mode USG/min (L/min) | Medium flow mode USG/min (L/min) | Low flow mode USG/min (L/min) |
| Model 1.26 m2 (10 tube collector) | 0.55 (2.1) | NR | NR |
| Model 1.51 m2 (12 tube collector) | 0.6 (2.3) | 0.4 (1.5) | NR |
| Model 3.03 m2 (24 tube collector) | 0.86 (3.3) | 0.67 (2.5) | 0.47 (1.78) |
Recommended collector array flow rates
| Flow | High flow mode USG/min (L/min) | Medium flow mode USG/min (L/min) | Low flow mode USG/min (L/min) |
| 10 tube collector array (model 1.26 m2) | 0.55 (2.1) | — | — |
| 12 tube collector array (model 1.51 m2) | 0.6 (2.3) | — | — |
| 24 tube collector array (model 3.03 m2) | 0.86 (3.3) | — | — |
| 36 tube collector array* | 1.46 (5.6) | — | — |
| 48 tube collector array* | 1.72 (6.6) | — | — |
| 60 tube collector array* | 2.32 (8.9) | — | — |
| 72 tube collector array* | 2.58 (9.9) | 2.01 (7.5) | — |
| 84 tube collector array* | — | 2.41 (9.0) | — |
| 96 tube collector array* | — | 2.68 (10.0) | 1.9 (7.2) |
Collector arrays are combinations of collector model 1.51 m2 and/or model 3.03 m2.
QUICK REFERENCE:





















