
Thank you for your purchase of this quality Wireless Thermo Clock. The utmost care has gone into the design and manufacture of your clock. Please read these instructions carefully and store them in a safe place for future reference.The Wireless Thermo Clock has a clear, easy-to-read display that shows the time, month, date, day of the week, indoor temperature and outdoor temperature. The Wireless 915 MHz technology allows you to place the sensor anywhere you like. The Temperature is measured and transmitted from the remote sensor. It is able to receive and display readings from up to 2 sensors. With the Radio controlled function, the current time and calendar are automatically synchronized with the time signal transmitted from the atomic clock in FT. Collins, Colorado. USA (WWVB)
MAIN FEATURES

- CLOCK WINDOW:
- Displays time, year, signal strength indicator, daylight savings time (DST), alarm icons and time zone map.
- CALENDAR, DAY AND TEMPERATURE WINDOW:
- Displays the month, date, day of the week as well as the indoor & outdoor temperature.
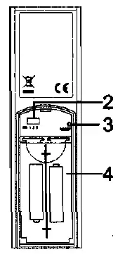
- SNOOZE BUTTON:
- Press it to stop the current alarm when it is sounding.
- TIME BUTTON:
- In normal time mode, press it to enter alarmi and alarm2 time mode.
- Press and hold it for 2 seconds to enter the normal time setting mode.
- In normal time setting mode, press it to step the setting items.
- UP BUTTON:
- In normal time mode, press it to switch between M-D (Month-Date) and D-M (Date-Month) formats.
- In alarm time mode, press it to select the proper time zone.
- In time setting mode, press it to increase the setting values.
- Press and hold it for 3 seconds to receive the RC signal for reception testing.
- DOWN BUTTON:
- Press it to switch 12/24-hour format.
- In time setting mode, press it to decrease the setting values.
- MAX/MIN BUTTON:
- Press it to show the maximum and minimum temperature records.
- Press and hold it for 3 seconds to delete the maximum and minimum temperature records.
- ALM ON/OFF BUTTON:
- In normal time mode, press it to turn on/off alarmi & alarm2.
- In alarm time mode, press it to turn on/off alarm and temperature pre-alarm.
- In alarm time mode, press and hold it for 2 seconds to enter the alarm time setting mode.
- In alarm time setting mode, press it to step the setting items.
- Press it once to stop the current alarm when it is sounding.
- SYNC BUTTON
- Press and hold it for 3 seconds to turn on/off the signal
- reception of transmitter (915 MHz) manually.
- CHANNEL BUTTON:
- Press it to switch between channel 1 and 2.
- Press and hold it for 2 seconds to show the channels automatically, and press it once again to exit the automatic display mode.
- ^C/T BUTTON:
- Press it to switch between Celsius and Fahrenheit.
- RESET BUTTON:
- Press it to reset all values to default values.
- In case of malfunction, the unit may be required to reset.
- WALL-MOUNTING HOLE:
- Use it to support the main unit when hanging clock.
- TABLE STAND:
- Use it to stand the clock on the desktop.
- BATTERY COMPARTMENT AND DOOR:
- Accommodates 2 AA-size batteries.
TRANSMITTER

- LED INDICATOR:
- Flashes when the remote unit transmits a reading.
- CHANNEL SLIDE SWITCH:
- Assign the transmitter to Channel 1 or 2. (Note: Channel 3 is not effective for this model.)
- RESET BUTTON:
- Press It to restart the transmitter and return all values to default values.
- BATTERY COMPARTMENT:
- Accommodates 2 AA Size batteries.
- BATTERY DOOR
- WALL-MOUNTING HOLDER:
- Use it to support the transmitter on the wall.
- TABLE STAND:
- Use it to stand the transmitter on the desktop.
SETTING UP THE TRANSMITTER
- Remove the battery door and insert 2 AA size batteries into the battery compartment as per the polarity Information marked on the battery compartment.
- Press the small “RESET” button to set the transmitter.
- Press the “CHANNEL” button on the back of the clock to set the desired channel. (Channel 1 or 2)
- Replace the battery door.
NOTE
- The building material and position of receiver and transmitter affect the effective range. So try various locations to obtain the best result.
- Place the units away from metal objects and electrical appliances to minimize interference. Position the receiver within the effective transmission range: of 330 feet (100 meters) in usual circumstances.
NOTE:
- To receive the transmitter signal, the channels of receiver and transmitter must be synchronized.
- Once the channel is assigned to a transmitter, you can only change it by removing the batteries or resetting the unit.
SETTING UP THE MAIN UNIT
- Remove the battery door from the back of the clock and insert 2 AA batterys. Be sure to insert them according to the marked polarity.
- Replace the battery door.
- Press the “RESET” button on the back of the clock to set and synchronize with the transmitter automatically.
NOTE:
- If extra transmitters are added in the future, press the reset button on the back of the clock to re-start the clock and synchronize the channel(s).
- Place the unit away from metal objects and electrical appliances to minimize location interference. Try various locations to obtain the best result.
- Position the clock and the transmitter within 330 feet range.
SIGNAL STRENGTH INDICATOR
The signal indicator displays signal strength in 4 levels. Wave segment flashing means time signals are being received. The signal quality could be classified into 4 types:
- No signal quality
- Weak signal quality
- Excellent signal quality
- Acceptable signal quality
NOTE:
The unit will automatically search for the time signal at 2:00 am (3:00 am or 4:00 am is also available if the signal was not received at 2:00 am), 8:00 am, 2:00 pm and 8:00 pm each day. Always place the unit away from interfering sources such as TV set, computers, etc. Avoid placing the unit on or next to metal plates. Closed area such as airport, basement, tower block or factory is not recommended. Do not start reception in moving articles such as vehicles or trains.
DAYLIGHT SAVINGS TIME for)
The clock has been programmed to automatically switch when daylight savings time is in effect. Your clock will show “DST” during the summer.
TIME ZONE SETTING
The default time zone is PACIFIC. If your location is not in
the Pacific, set the time zone as follows:
- Press the “TIME” button once, this enters the alarm time mode. You will see the Month / Date area change to the Alarm area.
- Press the “UP” button to select the proper time zone: P=Pacific M=Mountain C=Central E=Eastern.
- Press the “TIME” button to save the setting and return to normal time mode.
TIME AND CALENDAR SETTING
If you are out of reach of the Radio Controlled transmitter or if the reception is not reachable, the time and calendar can be set manually. As soon as the transmitter signal is received again, the clock will automatically synchronize with the exact time and calendar.
- Press and hold the “TIME” button on the back of the clock for 2 secorids until the Year digits flash.
- Press the “UP” or “DOWN” button to change its value.
- Press the “TIME” button once until the Month digit flashes.
- Press the “UP” or “DOWN” button to change its value.
- Repeat the above operations (point 3, 4) to set the below items in this order: Date > Hour > Minute > Second > Day Language > +/-23 hours time difference.
- Press the “TIME” button to save and exit the setting mode, or let it exit automatically 30 seconds later without pressing any key.
NOTE:
- Through “+/-23 hours time difference” setting, the precise time of another area will be shown.
- The 5 weekday Language options are represented by the below abbreviations: GB=English FR=French DE=German ES=Spanish IT=ltalian.
English French German Spanish Italian SUN DIM SON DOM DOM MON LUN MON LUN LUN TUE MAR DIE MAR MAR WED MER MIT MIE MER THU JEU DON JLIE GIO FRI VEN FRE VIE VEN SAT SAM SAM SAB SAB
ALARM TIME SETTING
- In normal time mode, press the “TIME” button to enter the alarmi (alarm2) time mode.
- Press and hold the “ALM ON/OFF” button for 2 seconds until the alarm Hour digit flashes.
- Press the “UP” or “DOWN” button to change its value.
- Press the “ALM ON/OFF” key once until the alarm Minute digit flashes.
- Press the “UP” or “DOWN” button to change its value.
- Press the “ALM ON/OFF” button to save and exit the setting mode, or let it exit automatically 30 seconds later without pressing any key.
NOTE:
- The alarm will be automatically turned on when you set the alarm time.
- The dual-alarm (alarm & alarm2) design of this unit provides you with more convenience, and you can set two-alarm time if needed.
USING ALARM & TEMPERATURE PRE^LARM FUNCTIONS
- Set the alarm time as the above section with alarmi (alarm2) turned on when you set the alarm time.
- In alarm (alarm2) time mode, press the “ALM ON/OFF” button once to turn on the temperature pre-alarm with the icon displayed.
- Press it again to turn off both of them until the icons disappear.
NOTE:
- To turn on the temperature pre-alarm, the ALARM must be on.
- The temperature pre-alarm can sound 30 minutes earlier than the alarm only when the outdoor temperature is below 26.0°F (-3.0°C).
- If no buttons are pressed during the alarm period, the clock will enter the snooze mode automatically. Besides, you can also press the “SNOOZE” button once to stop the current alarm and activate the snooze function.
- Once the snooze function is activated, the 4-step crescendo alarm will sound 13 times in 5-minute intervals. The alarm duration is 60 seconds.
VIEWING THE TRANSIVimERCHANNEL
- The default channel is Channel 1. Press the “CHANNEL” button to view the channels from 1 to 2.
- Press and hold the “CHANNEL” button for 2 seconds to show the channels automatically; press it once again to exit the automatic display mode.
HOW TO READ THE TEMPERATURE RECORDS
Press the “°C/°F” button to change the temperature unit from °C for Celsius to °F for Fahrenheit.
NOTE:
- If no signals are received or the transmission is interfered, ” will appear on the LCD.
- Relocate the clock or transmitter in other positions and make sure the transmission is within the effective range of 30 meters approx.
- After several trials in vain, please reset the clock thoroughly. Try out where your multifunctional alarm clock receives the signals best.
CHECKING AND DELETING MAX./MIN. TEMPERATURE RECORDS
- Press the “MAX/MIN” button once to check the maximum temperature records. Press it twice to check the minimum records. Press it again to exit.
- Press and hold the “MAX/MIN” button for 3 seconds to delete the max. and min. temperature records.

BATTERY REPLACEMENT
If the low battery indicator appears beside the outdoor temperature of the main unit, it indicates that you should replace the batteries of the transmitter at once. While if the low battery indicator displays beside the indoor temperature, it means that the battery power of the main unit is not enough and you should replace the batteries in the clock immediately.
Transmitter’s low battery indicator Main unit’s low battery indicator (shows on the main unit) (shows on the main unit)
NOTE:
Attention! Please dispose of used units or batteries in an ecologically safe manner.
USING THE TABLE STAND OR WALL-MOUNTING STAND
The receiver and transmitter both have desktop and wall-mounting structures. For the Clock, place the screw in the desired wall and hang the receiver by the recessed hole on the back of the clock or simply place it on the desktop by its table stand. For the Transmitter, place the screw in the desired outside wall and hang the separate wall-mounting part in an area protected from direct rain. Once the stand is mounted, place the transmitter into the stand on the wall. You can also place it on the desktop by its table stand.
SPECIFICATIONS MAIN UNIT
- Recommended operating range: 0°Cto45‘’C or 32 “F to 113 “F
- Resolution:
- O.rC (above -9.9’’C) rc (below -10“C)
- 0.rF(-9.9°F~99.9‘’F)
- 1°F (above 100°F& below -10’’F)
REMOTE SENSOR
- Recommended operating range: -20°Cto55‘’C or -4”Fto131°F
- Resoiution: 0.rC/”F (above-9.9”C/°F) rC/’F (below-10°C/“F)
- RF transmission frequency: 915 MHz
- No. of remote unit: up to 2 units
- RF transmission range: 330 feet (100 meters)
- Radio controiled signai: WWVB
POWER
- Main unit: 295 (W) X195 (H) X 25 (D) mm
- Remote sensor: 40(W)x132 (H)x 24(D) mm
TWO YEAR LIMITED WARRANTY
M. Z. Berger & Company warrants the original consumer purchaser of this product that it shall be free of defects in materials and workmanship for two years from the purchase date of this product. Defects caused by tampering, improper use, unauthorized modifications or repairs, immersion in water or abuse are not covered by this warranty. If a defect covered by this warranty occurs during the warranty period, wrap your clock carefully and send it to the following address; M. Z. Berger Service Center 29-76 Northern Boulevard Long Island City, NY 11101-2224
You must include a proof of purchase, either the original receipt of a photocopy and a check or money order for USD19.99 to cover the cost of handling. Also include your return address inside the package. M.Z. Berger & Company will repair or replace the clock and return it to you. M.Z. Berger & Company will not be liable for any loss or damage, including incidental or consequential damages of any kind; from any breach of warranty either expressed or implied relating to the product. Since some states do not allow the exclusion or limitation of incidental or consequential damages, this limitation may not apply to you. This warranty gives you specific rights, and you may have other rights that vary from state to state.
- Printed in China SPC900
SHARP, registered in the U.S. Patent and Trademark Office
This device complies with Part 15 of the FCC Ruies. Operation is subject to the following two conditions:
- This device may not cause harmful interference, and
- This device must accept any interference received, including interference that may cause undesired operation.
Warning:
Changes or modifications to this unit not expressly approved by the party responsible for compliance could void the user’s authority to operate the equipment.
Note:
This equipment has been tested and found to comply with the limits for a Class B digital device, pursuant to Part 15 of the FCC Rules. These limits are designed to provide reasonable protection against harmful interference in a residential installation. This equipment generates, uses and can radiate ratio frequency energy and, if not installed and used in accordance with the instructions, may cause harmful interference to radio communications. However, there is no guarantee that interference will not occur in a particular installation. If this equipment does cause harmful interference to radio or television reception, which can be determined by turning the equipment off and on, the user is encouraged to try to correct the interference by one or more of the following measures :
- Reorient or relocate the receiving antenna.
- Increase the separation between the equipment and receiver.
- Connect the equipment into an outlet on a circuit different from that to which the receiver is connected.
- Consult the dealer or an experienced radio/TV technician for help.



















