CLAUDGEN CA1509S Screen-Zone Warm Air Curtains 
All electrical appliances produced by the Company are guaranteed for one year against faulty materials or workmanship. This applies only if the appliance has been used for purposes in accordance with the instructions provided and has not been connected to an unsuitable electricity supply, or subject to misuse, neglect, damage or modified or repaired by any person not authorized by us. This guarantee is offered to you as an extra benefit and does not affect your legal rights.The correct electricity supply voltage is shown on the rating label attached to the appliance. Reasonable care has been taken to ensure that this guide is accurate at the time of printing. In the interest of progress the Company reserve the right to vary specifications from time to time without notice.
Overview
Please read this guide carefully and retain for future use and maintenance. This appliance has been designed and manufactured to the highest international standards, however, care must be taken for optimal results and safety. This appliance also meets the requirements of EU Directive 2004/106/EC for EMC and 2009/125/EC Directive.
Safety & Care
The appliance is not intended for use by persons (including children) with reduced physical, sensory or mental capabilities or lack of experience and knowledge unless they have been given supervision or instruction concerning use of the appliance by a person responsible for their safety. Children should be supervised to ensure that they do not play with the appliance.
Warning
- Do NOT site the appliance in a corner.
- Do NOT handle the appliance with wet hands.
- Ensure that nothing is pushed into any aperture of this appliance.
- Do NOT touch the outlet grille when the appliance is in use.
- Do NOT cover or restrict any aperture of the appliance when in use.
- Do NOT use the appliance if damaged.
- Do NOT leave the appliance unattended where young children are present.
Thermal cut out
There are 2 thermal cut-outs protecting the heater, positioned along with the heater box. These cut-outs are connected in series and each or both may operate in the event of fan failure or restriction to the free flow of air through the unit. The unit is protected by manual type cut-outs which may only be reset by hand when the heater is switched OFF and has cooled down. If the cut-outs trip, check the inlet and outlet grilles for airflow restrictions.
To reset the thermal cutouts
The cut-outs are reset by switching OFF mains power to the appliance and allowing the appliance to cool for 20 minutes. Ensure mains power is OFF Remove the appliance lid and locate the 2 cut-outs. Reset each cut-out by pressing the white 5 mm square reset button located on each cut-out. Replace appliance lid. Switch ON the appliance. The cut-outs will be reset. If the cut-outs trip again a qualified electrician should be consulted.
Maintenance
ALWAYS ENSURE THAT THE MAIN EXTERNAL ELECTRICITY SUPPLY IS SWITCHED OFF BEFORE SERVICING OF THIS SCREEN-ZONE HEATER. To obtain the best results from the heater it is essential to avoid the accumulation of dust and dirt within the unit and on the inlet and discharge grilles. Regular cleaning is necessary with particular attention to the fronts and backs of the fan motor blades. Cleaning of the fan is best carried out with a soft brush.
Noise levels
Sound pressure levels dBA are measured at a 3m distance with a single air curtain mounted at its maximum mounting height, operating in a room with average acoustic characteristics as defined in CIBSE Guide B5 (reverberation time 0.7s at 1kHz) and a room size equivalent to 8 air changes per hour (ac/h). The dB meter must not be in the direct airflow of the heater. Care needs to be taken when selecting air curtains for an installation as noise levels can be several dB higher if the mounting height is reduced, if the room is more ‘live’ (i.e. hard surfaces, no furnishings or absorbent materials), if the room is smaller than 8 ac/h equivalent or a combination of these factors. Noise levels will also increase if more than one air curtain is installed at the same doorway (e.g. +3dBA for 2 equal point sources: direct field).
Mounting
When mounted over a doorway, the unit should be mounted as low as possible and not more than 3.4 metres above the floor. A single unit will give adequate coverage for a 1.2 metre doorway. For wider doorways, units may be mounted end to end. The heater should be mounted so that the inlet or outlet air flows are not obstructed in any way. A clearance of at least 300 mm should be maintained around the inlet and outlet grilles.
Installation
Having removed the appliance lid, to acquire these Instructions, also ensure that the Remote Control Switch Box, which is packed inside the appliance with these Instructions, is removed and retained. The appliance ‘air flow’ and ‘external dimensions are shown in Fig 1.
The heater may be mounted in one of several ways i.e:-
Wall mounting
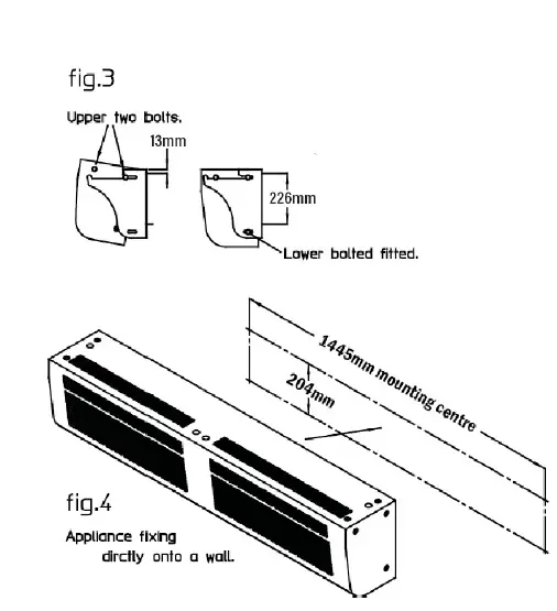
- Using WALL BRACKETS supplied Onto a suitable vertical wall or bearers, the 2 wall brackets are secured at the centers shown in Fig 2. The appliance, with 2 upper bolts threaded securely into each face, is then fitted on- to/between the wall brackets as shown in Fig 3.
The lower fixing bolts are then fitted through each wall bracket into each side of the appliance. The upper 2 bolts allow the appliance to be slipped onto, and held by, the wall brackets. The fitting of the lower bolts in each side locks the appliance to the brackets. Tighten up securely all 3 bolts in each side. - DIRECTLY to a suitable vertical wall or bearers. Using 4 x No.12 wood screws. Screw through the holes in the appliance case rear, at the cen-tres shown in Fig 4. Keyhole slots are provided for the upper 2 fixing screws, allowing the appliance to be initially located. The lower 2 fixing screws pass through the appliance rear, supporting the appliance and preventing any movement up off the upper 2 screws.The wall surface to which the appliance is to be mounted must be flat to avoid any distortion of the appliance casing.
Suspended/hanging
- Using Ø20mm CONDUIT
The appliance may be suspended by Ø20mm conduit via two suitable holes provided in the top of the appliance, see Fig 5.
- Studding
The heater offers four M8 threaded holes as shown in Fig 6. from which the appliance may be suspended. There are diagrams showing all of this on the following page
- There are diagrams showing all of this on the following page
Controls
The units are designed to provide 2 levels of heat i.e half heat and full heat, together with 2 fan speeds, normal and boost. The remote control box houses 4 switches. The switch plate wiring is shown below, along with a front view. There is a more detailed drawing on the following page. The functions of the switches are as follows:-
- SWITCH 1 (left-hand) ON/OFF
- SWITCH 2 FAN SPEED CONTROL
- SWITCH 3 ½ HEAT ON/OFF
- SWITCH 4 ½ HEAT ON/OFF

Detailed diagram for remote control switch
Electrical connections
The heater is suitable for connection to a 415 volt 3 phase 50Hz supply. . On full heat setting the load is 9, 12, 14 or 16kW depending of the model. The connections between the unit and remote switch box are shown on Fig 8.
| Electrical Data | CA1509 | CA1512 | CA1514 | CA1516 | |
| Supply voltage | 415V three phase 50Hz | 415V three phase 50Hz | |||
| Total load | kW | 9 | 12 | 14 | 16 |
| A/pha | 12.6 | 16.7 | 19.6 | 22.4 | |
| Motor power | W | 60 | |||
| Max Running current | Amps | 0.6 | |||
| Internal fuse size amps | Amps | 3 | |||
| External fuse size amps | A/pha | 16 | 20 | 25 | 25 |
| Cable terminal size | 10mm2 Max | ||||
| Mains terminal block position | Centre of base unit. Terminals N; L1; L2 & L3 | Centre of base unit. Terminals N; L1; L2 & L3 | |||
| Control terminal block cable size | 4mm2 Max | ||||
| Control terminal block position | Centre of base unit Terminals 1-5 | Centre of base unit. Terminals 1-5 | |||
| Control terminal block current | Amps | 0.6 | |||
Spares
It is essential when ordering spares or replacement parts to state the model number CA1509, CA1512, CA1514 or CA1516 and the serial number on the rating label fixed to the top of the unit.
In the interest of progress the Company reserves the right to vary specifications from time to time without notice. The material listed is offered subject to the Company’s General Conditions of Sale, a copy of which can be obtained on request.
Fuses
The motor and switch circuits are protected by two fuses which have a 3 amp rating. Ensure that any replacement is of the correct size and rating.
To replace a switch in the control box
- Switch off the mains supply
- Remove the switch box cover.
- Disconnect the wiring to the switch.
- Release the spring clips and push out the switch.
- Fit the replacement switch, reconnect the wiring and replace the cover.
Wir ing diagram 
CUSTOMER HELPLINE
Should you need any advice on the use of your new Consort product please contact our Helpline:


The lower fixing bolts are then fitted through each wall bracket into each side of the appliance. The upper 2 bolts allow the appliance to be slipped onto, and held by, the wall brackets. The fitting of the lower bolts in each side locks the appliance to the brackets. Tighten up securely all 3 bolts in each side.























