CAL-ROYAL FOR 9800 Panic Rim Exit Device

INSTALLATION
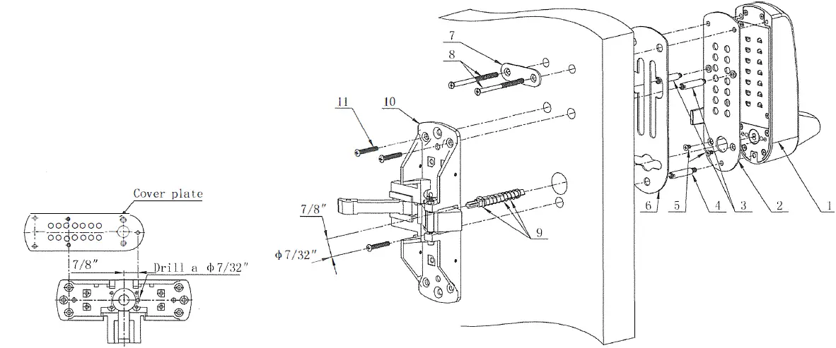
- Drill a 0 7/32″ hole (as illustrated) 7/8″ from the center of spindle hole on panic device (Note: Drilling the hole for left hand and right hand door will be in opposite position)
- Align the center line of the template with the center line of the panic device (as illustrated). Tape It on the door, then drill holes wherever indicated.
- Remove the rubber insert from the spindle hole of CRCODEl 01 front plate.
- Screw the M5 fixing posts tightly to the backplate (as illustrated)
- Fix the whole backplate to the front plate with the M5 screws.
- Fit the longer fixing post through the backplate tightening It to the front plate.
- Fit gasket to back plate

- Fit the whole front plate to the door with the fixing bolts and the plate. No need to tighten the fixing bolts first.
- Fit the spindle set through the door and insert it to the spindle hole on the front plate. Left hand door with left spindle, vice versa.
- Hold panic device to the door, aligning holes and spindle. Secure to front plate with fixing screws. Note: Adjust the position for panic device and the CR CODE 1 o 1 front plate.
- Attach the panic device cover. Secure ii with 4 set screws

PRODUCT DESCRIPTION
Complementary Installation Instruction:
- Drill a <l> 7/32″ hole (as illustrated) 7/811 from center of spindle hole. Ensure it aligns with all the screw holes.
- Tape template on the door and drill holes wherever indicated.
- Tighten the fixing posts 3 into the bottom plate 2
- Screw the bottom plate 2 tightly into the front plate CD with the M5 screws 5
- Place the fixing bolt 4 thorough the bottom plate 2 and tighten it into the front plate 1
- Then fit self-adhesive gasket 6 onto the bottom plate 2
- Fit the whole front plate 1 with 2,3 and 4 to the holes on the door, Secure the whole front plate 1 with
the fixing bolts 8 and the plate (7) to the door, No need to tighten the fixing bolts 8 first. - Fit the spindle set 9 through the door and insert it to the spindle hole on the front plate 1. Note: Left hand door with left spindle, vice versa.
- Place panic device 10 through insert spindle cross set at pint 9, screw it into the fixing posts 3 and 4 tightly with the fixing bolts 11). Tighten the fixing bolts 8 to secure panic device 10 and the front plate 1 on the door.
MANY CODES TO CHOOSE FROM
The CRCODE101 has been designed so the code can be changed on the door in seconds. The code chamber consists
of 13 buttons and a ‘C’ button which is used to re-set the code chamber after an incorrect entry, and must always be used as
the first digit of a code. Buttons may only be used ONCE in a code. For example 1212 is NOT possible.
The CRCODE101 code or combination, can be entered in any order or sequence; eg 1234 can be 4321 or 1342 or whatever sequence is most convenient to remember. With 13 buttons, a total of 8,191 different codes are available, any of which can be entered in any sequence. The total is arrived at as follows:
‘C’ plus 1 digit= 13 ‘C’ plus 6 digit= 1716 ‘C’ plus 11 digit = 78
- “2”= 78 “7”=1716 “12”=13
- “3” = 286 “8” = 1287 “13” = 1
- “4” = 715 “9” = 715 Total= 8191
- “5” = 1287 “10” = 286
NOTE: Models CRCODE101 have 12 coded buttons giving 4,095 different codes. Most people will set the code in the range
of 4 to 7 digits, and the total number of codes in this range is 5,434.
The lock is supplied with a random factory set code (see code change card). At any time this can be quickly changed to a new code of your choice. Typically codes are 4 to 7 digits long. Shorter codes are possible (1-2 digits) but are not recommended
CODE CHANGE INSTRUCTIONS
The CRCODE101 offers significant advantages over other similar mechanical digital locks by allowing the code to be changed in seconds on the door.
Note: Before changing code press the ‘P’ and ‘C’ button to ensure that the lock is not in free passage mode.
- Choose code.
- Insert key and turn anticlockwise to stop. Fig 1.
- Push the code change tool onto each button in turn, pushing in the buttons approx 2mm turn anticlockwise 180° . All buttons should now be in the non code position.
- Test that all buttons are in non-code position by depressing the lever handle which should retract the latch. If latch cannot be retracted press ‘C’ button and repeat step 3.
- To select a button as a code button, push code tool over button. Press in button with tool approx 2mm and turn clockwise 180° . Fig 2.
- Now turn the key clockwise retracting the latch which will relock the code buttons. Fig 3.
- Return the key to centre and remove it.
- Before closing door test code.

Removal of front load cylinders to repin or replace with cylinders by a different manufacturer.
- Remove handle and cylinder cover

- Turn Key 90′ anticlockwise and remove the cylinder from boss.

- To replace cylinder, reinsert and °
turn 90 clockwise. Replace the cylinder cover and handle.
* If intending to use a cylinder from a different manufacturer ii is advisable to confirm beforehand that the new cylinder will fit the boss.
Note that the CRCODE101 uses a 6 pin screw cap cylinder.
If using a screw cap cylinder other than supply, the tail piece from the Codelocks screw cap cylinder will need to be fitted as follows:
- Hold down the control pin in the end of the cylinder and unscrew the cap. CAUTION! DO NOT INSERT THE
KEY IN THE CYLINDER ONCE YOU HAVE REMOVED THE SCREW CAP.
- Refit the tailpiece, hold down the control pin and screw the cap on fully without tightening. Ensure the control pin projects to lock the cap.

Test the key operation
If the key is difficult to insert, or tight when turning, then the cap maybe too tight. Loosen the cap one notch at a time and try the key again. If the key inserts and turns OK, but is difficult to remove, then the cap may be too loose.
Tighten up the cap one notch at a time. Adjust the cap until the key inserts, turns and removes easily.
























