
Instruction Manual
FARM HOUSE CHANDELIER

Questions?
Contact our customer service department
IMPORTANT SAFETY INSTRUCTIONS:
This fixture must be installed by a qualified electrician! Disconnect the power at the main electrical panel before installation.
This fixture is for indoor use only. The fixture should not be used near water. Never cover the lamp with any object, including cloth or paper as this is a fire hazard. Do not handle the bulb immediately after the light is turned off as it will be hot. This is not a toy. It is recommended that you wear gloves during assembly.
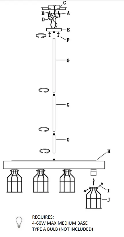
ASSEMBLY INSTRUCTIONS:
- TURN THE MAIN POWER SUPPLY OFF
- ATTACH THE MOUNTING PLATE TO THE ELECTRICAL BOX “C” WITH SCREWS “B”
- MAKE THE WIRE CONNECTIONS. CONNECT BLACK TO BLACK WIRE AND WHITE TO WHITE WIRE. ATTACH GROUNDING WIRE (HAS A GREEN LINE ON IT) TO THE MOUNTING PLATE “A” GROUNDING SCREW “D”
- ALIGN THE HOLES IN CANOPY “E” TO THE MOUNTING PLATE “A” , AND SECURE THE CANOPY WITH THE 2 NUTS “F”
- SCREW 3 POLES “G” TOGETHER AND THEN SCREW TO FIXTURE “H”
- SCREW COMPLETED FIXTURE (PART G AND H) INTO CANOPY “E”
- ATTACHED SHADE “J” TO THE SOCKET BY LOOSENING SCREWS “I” AND PLACING OVER THE SOCKET AND RETIGHTENING SCREW “I” ONCE IN PLACE TO SECURE.
- INSTALL BULB INTO SOCKET . ONLY USE BULBS OF SPECIFIED TYPE AND MAXIMUM RATED WATTAGE OR LESS.
CLEANING & MAINTENANCE:
BULB REPLACEMENT
Disconnect the power before replacing bulb.
TROUBLESHOOTING
- If lamp does not light, check the bulb for a broken filament. Replace bulb if necessary.
- If the external flexible cable or cord of this fixture is damaged, it must be replaced by a qualified electrician in order to avoid a hazard.
MAINTENANCE
- To clean, use a soft, dry cloth only.
- Do not use any chemical or abrasive cleaners.
LIMITED WARRANTY
We warrant its products (the “products”) as follows:
- Limited Warranty.
Manufacturer warrants that the products sold hereunder will be free from defects in material and workmanship for a period of one (1) year from the date of purchase. If the products do not conform to this
Limited Warranty during the warranty period (as herein above specified), Buyer shall notify Manufacturer in writing of the claimed defects and demonstrate to Manufacturer’s satisfaction that said defects are
covered by this Limited Warranty. If the defects and proof of purchase are properly reported to Manufacturer within the warranty period, and the defects are of such type and nature as to be covered by this
warranty, Manufacturer shall, as its own expense, furnish replacement products or, at Manufacturer’s option, replacement parts for the defective products. Installation of the replacement products or
replacement parts shall be at Buyer’s expense. - Exclusive Obligation:
THIS WARRANTY IS EXCLUSIVE. The sole and exclusive obligation of Manufacturer shall be to repair or replace the defective products in the manner and for the period provided above. Manufacturer shall not
have any other obligation with respect to the products or any part thereof, whether based on contract, tort, strict liability or otherwise. Under no circumstances, whether based on this Limited Warranty or
otherwise, shall Manufacturer be liable for incidental, special, or consequential damages. - Other Statements.
Manufacturer’s employees or representatives’ oral or other written statements do not constitute warranties, shall not be relied upon by Buyer, and are not part of the contract for sale or this limited warranty. - Entire Obligation.
This Limited Warranty states the entire obligation of Manufacturer with respects to the products. If any part of this Limited Warranty is determined to be void or illegal, the remainder shall remain in full force and effect.













