elk HE 8150, 81515 Chandelier IOM instruction

WARNING: DISCONNECT POWER AT THE MAIN FUSE BOX BEFORE INSTALLATION.
WARNING: This fixture is intended for installation in accordance with the National Electrical Code (NEC) and all local code specifications. If you are not familiar with code requirements, installation by a certified electrician is recommended. Before assembly, remove all parts and part packages from box. If anything is missing, please contact the retailer from which the product was purchased.
INSTALLATION INSTRUCTIONS

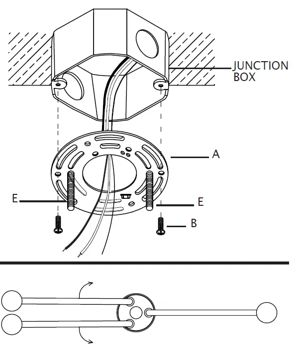
- Carefully pull house wires out of junction box so they are easily accessible during installation.
- Position mounting bracket (A) so threaded ends of attached fixture mounting screws (E) are facing down towards floor.
- Carefully pull house wires through hole in center of mounting bracket (A).
- Align holes in mounting bracket (A) with holes in junction box.
- Thread each junction box screw (B) into holes in mounting bracket (A) and into hole in junction box. Tighten junction box screws (B) to secure mounting bracket (A) to junction box. CAUTION: Make sure house wires are pulled completely through hole in mounting bracket. DO NOT pinch wires between mounting bracket and ceiling.
- Rotate arms until arms are evenly spaced apart.

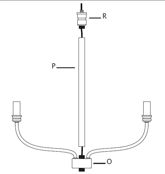
- Push fixture wires up through bottom of center tube (P). Screw bottom of center tube (M) onto threaded pipe on top of fixture body (O).
- Push fixture wires up through bottom of top trim (R). Thread top trim (R) onto top of center tube (P).

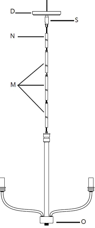
- Carefully push fixture wires up through end of one 12 inch stem (M). Thread bottom of stem (M) onto top of fixture body (O).
- Carefully push fixture wires through remaining stems (M). Screw stems (M) together keeping fixture wires taut. DO NOT pinch fixture wires between stems.
- Carefully push fixture wires up through bottom of 6 inch stem (N). Pull fixture wires out of top of 6 inch stem (N). Screw bottom of 6 inch stem (N) onto top of stem (M).
- Push fixture wires up through end of swivel (S) on canopy (D). Screw top of stem (N) onto end of swivel (S) on canopy (D).

- Strip 3/4” of insulation from ends of fixture wires.
- Slightly loosen ground screw on mounting bracket (A). Do not completely remove ground screw. Wrap house ground wire (copper) around ground screw, leaving enough ground wire to attach to fixture ground wire. Twist end of fixture ground wire and end of house ground wire together. Twist wire nut (C) onto ends of wires. Completely tighten wire nut (C). Reference chart below for correct wire connections.
- Twist end of house lead wire (black) and end of fixture lead wire together. Twist wire nut (C) onto ends of wires. Completely tighten wire nut (C). Twist end of house neutral wire (white) and end of fixture neutral wire together. Twist wire nut (C) onto ends of wires. Completely tighten wire nut (C). Reference chart to the right for correct wire connections.
- Wrap electrical tape (not included) around wire nuts (C) and wires. Ensure wires are securely fastened into wire nuts.
- Carefully push all wires and wire nuts into junction box.
- Carefully raise fixture up to ceiling. Place canopy (D) over mounting bracket (A). Pass holes in canopy (D) over ends of fixture mounting screws (E).
- Screw one threaded cap (F) onto end of each fixture mounting screw (E). Tighten threaded caps (F) to secure fixture to ceiling. DO NOT over tighten.
- Screw finial (L) onto threaded pipe on bottom of fixture body (O).
- Screw recommended bulbs (E12 candelabra bulb type, not included) into sockets. Verify correct bulb wattage marked on socket of fixture. WARNING: DO NOT exceed maximum bulb wattage.




















