
ANY QUESTIONS CALL: 800-613-3261
M-F 8:00AM-6:00PM ET
WARNING: DISCONNECT POWER AT THE MAIN FUSE BOX BEFORE INSTALLATION.
WARNING:
This fixture is intended for installation in accordance with the National Electrical Code (NEC) and all local code specifications. If you are not familiar with code requirements, installation by a certified electrician is recommended.
Before assembly, remove all parts and part packages from box. If anything is missing, please contact the retailer from which the product was purchased.
ITEM#: 14465/7

- JUNCTION BOX
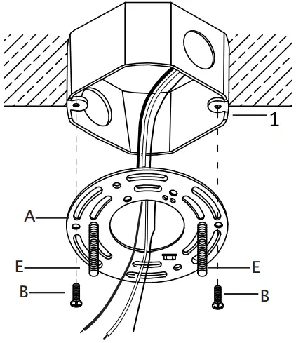
1. Carefully pull house wires out of junction box so they are easily accessible during installation.
2. Position mounting bracket (A) so threaded ends of attached fixture mounting screws (E) are facing down towards floor.
3. Carefully pull house wires through center hole in mounting bracket (A).
4. Align small holes in mounting bracket (A) with holes in junction box.
5. Thread each junction box screw (B) into holes in mounting bracket (A) and into holes in junction box. Tighten junction box screws (B) to secure mounting bracket (A) to junction box.
CAUTION: Make sure house wires are pulled completely through hole in mounting bracket.
DO NOT pinch wires between mounting bracket and ceiling.

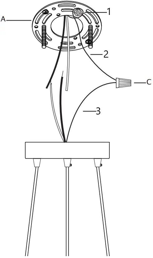
6. The length of the cord must be adjusted before fixture is installed. Hold canopy (D) against ceiling to determine desired hanging height of fixture.
7. Using screwdriver, loosen set screw on strain relief (V) on canopy (D) to release cord (H) (Do not completely remove set screw). Carefully pull cord (H) down or push cord (H) up through canopy (D) to achieve desired length. Tighten set screw on strain relief (V) to secure cord (H).

- GROUND SCREW
- HOUSE GROUND WIRE (COPPER)
- FIXTURE GROUND WIRE
8. Strip 3/4” of insulation from ends of fixture wires.
9. Slightly loosen ground screw on mounting bracket (A). Do not completely remove ground screw. Wrap house ground wire (copper) around ground screw, leaving enough ground wire to attach to fixture ground wire. Twist end of fixture ground wire and end of house ground wire (copper) together. Twist wire connector (C) onto ends of wires. Completely tighten wire connector (C). Reference chart below for correct wire connections.
| Connect Supply (House) Ground Copper Wire to: |
| Bare Copper Wire or, |
| Bare Silver Wire or, |
| Green Insulated Wire. |
10. Twist end of house lead wire (black) and end of fixture lead wire together. Twist wire connector (C) onto ends of wires. Completely tighten wire connector (C). Twist end of house neutral wire (white) and end of fixture neutral wire together. Twist wire connector (C) onto ends of wires. Completely tighten wire connector (C). Reference chart to the right for correct wire connections.
11. Wrap electrical tape (not included) around wire connectors (C) and wires. Ensure wires are securely fastened into wire connectors.
12. Carefully push all wires and wire connectors into junction box.
| Connect Black Lead Supply (House) Wire to: | Connect White Neutral Supply (House) Wire to: |
| Black Wire or, | White Wire or, |
| *Parallel Cord (Round and Smooth) or, | *Parallel Cord (Square and Ridged) or, |
| No printed words on wire insulation or, | Printed words on wire insulation or, |
| Insulated Wire (other than green) with Copper Conductor. | Insulated Wire (other than green) with Silver Conductor. |
*When parallel wire (SPT 1 & SPT 2) is used: | |

- FIXTURE LEAD WIRE
- FIXTURE GROUND WIRE
- FIXTURE NEUTRAL WIRE
- HOUSE LEAD WIRE (BLACK)
- HOUSE GROUND WIRE (COPPER)
- HOUSE NEUTRAL WIRE (WHITE)
13. Carefully raise fixture up to ceiling. Place canopy (D) over mounting bracket (A). Pass holes in canopy (D) over ends of fixture mounting screws (E).
14. Screw one threaded cap (F) onto end of each fixture mounting screw (E). Tighten threaded caps (F) to secure fixture to ceiling. DO NOT over tighten.
15. Screw recommended bulbs (E12 candelabra bulb type, not included) into sockets. Verify correct bulb wattage marked on socket of fixture.
WARNING: DO NOT exceed maximum bulb wattage.
16. Raise shade (K) up to fixture. Pass hole in top of shade (K) over bulb. Fit top of shade (K) inside socket cup.
17. Holding shade (K) in place, thread one thumbscrew (L) into each hole in edge of socket cup. Do not completely tighten thumbscrews (L) until all thumbscrew (L) have been installed. After all thumbscrews (L) have been installed, equally tighten thumbscrews (L) to secure shade (K) in place. DO NOT over tighten thumbscrews (L).
18. Repeat steps 16 and 17 for remaining shades (K).



















