Moro 260 Rainwater Tank 260 Liters,
Installation Guide
Decorative rainwater collector
Installation manual
General information

Summer-/winter operation

Column tank Column wall tank

Wall tank

Timber

Elegance

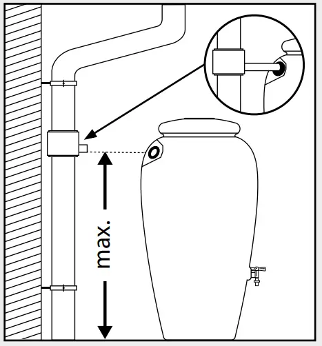
Rain amphora

Sundae
Sundae/Terranova

01/2022 ©Otto Graf GmbH/Art.-Nr. 963204
www.garantia.com


















