STELPRO MUAA Series Make-Up Air Unit

WARNING
Before installing and operating this product, the user and/or installer must read, understand and follow these instructions and keep them handy for future reference. If these instructions are not followed, the warranty will be considered null and void and the manufacturer deems no further responsibility for this product.
This product must be installed by a qualified person and connected by a certified electrician, according to the electrical and building codes effective in your region.
The following instructions must be adhered to in order to avoid personal injuries or property damages, serious injuries and potentially fatal electric shocks.
Make sure that all screws and electrical terminal connections are tightly secured before operating the unit in case they would have loosened during transportation.
Protect the heating unit with the appropriate circuit breaker or fuse, in accordance with the nameplate.
Make sure the line voltage (volt) is consistent with that indicated on the unit’s nameplate.
This unit must be grounded.
Switch off the power at the circuit breaker/fuse before installing, repairing and cleaning the unit.
Make sure the unit is appropriate for the intended use (if needed, refer to the product catalog or a representative).
If the unit’s capacity is insufficient for the size of the house, it will be in operation continuously, and may become prematurely defective.
Respect distances and positions indicated in the installation section.
If the installer or the user modifies the unit, they will be held responsible for any damage resulting from this modification, and the CSA certification could be void.
This unit must not come into contact with a water source and must be protected from splashes (e.g. a wet mop). Do not use it if any part has been immersed.
Moreover, do not turn it on or off when standing in water or if your hands are wet.
When cutting a piece of steel for the installation of the return duct, do not damage electrical wiring of the unit.
Because this unit is hot when in use, it may pose risks even in normal operation. Therefore, be careful and responsible when using it. To avoid burns, do not let bare skin touch hot surfaces. Let the unit cool down for a few minutes before handling it (it stays warm for some time after shut-down).
Never block air vents. This obstruction could lead to overheating, which could result in a fire.
Do not insert or allow foreign objects to enter any air vent as this may cause electric shocks, fires, or damages to the unit.
This unit has hot and arcing or sparking parts inside. It is not designed to be used or stored in wet areas or areas containing flammable liquids, combustible materials or corrosive, abrasive, chemical, explosive and flammable substances such as, but not limited to, gasoline, paint, chlorine and cleaning products.
Some areas are dustier than others. Thus, it is the user’s responsibility to evaluate if the filter must be changed based on it. Accumulated dirt can lead to a component malfunction or discoloration (yellowing). It may cause a fire hazard if not installed and maintained in accordance with these instructions.
Thermal protection activation indicates that the unit has been subjected to abnormal operating conditions. If the thermal protection remains activated or activates and deactivates repeatedly, it is recommended that a qualified electrician or a certified repair centre examine the unit in order to make sure it is not damaged. (Refer to the limited warranty).
If the unit is damaged or defective, cut off power supply at circuit breaker/fuse and call a certified repair centre. (Refer to the limited warranty).
Label all wires prior to disconnection when servicing controls. Wiring errors can cause improper and dangerous operation.
Note: When a part of the product specification must be changed to improve operability or other functions, priority is given to the product specification itself. In such instances, the instruction manual may not entirely match all the functions of the actual product. Therefore, the actual product and packaging, as well as the name and illustration, may differ from the manual.
LIST OF MODELS
| MODEL | COLLAR DIA. | POWER | VOLTAGE | FLOW | WEIGHT | A | B | C | D | ||||
| CODE | IN. | KW | VOLTS | CFM | LBS | IN. | MM | IN. | MM | IN. | MM | IN. | MM |
| MUAAXXYYZZ(M) | 6 | 1,5 | 2,0 | 120-1P | 45 | 60 | 15 | 11 7⁄8 | 302 | 18 | 457 | 13 1⁄8 | 333 | 8 1⁄8 | 206 |
| 6* | 1,5 | 2,0 | 3,0 | 240/208-1P | 45 | 60 | 90 | 15 | 11 7⁄8 | 302 | 18 | 457 | 13 1⁄8 | 333 | 8 1⁄8 | 206 | |
| 6 | 1,5 | 2,0 | 3,0 | 208-3P | 347-1P 480-3P | 600-3P | 45 | 60 | 90 | 27 | 13 7⁄8 | 352 | 23 1⁄8 | 587 | 18 1⁄4 | 464 | 10 | 254 | |
| 8 | 4,5 | 5,0 | 6,0 | 240/208-1P | 208-3P 347-1P | 480-3P | 600-3P | 120 | 160 | 180 | 28 | 13 7⁄8 | 352 | 23 1⁄8 | 587 | 18 1⁄4 | 464 | 10 | 254 | |
| 10 | 7,0 | 8,0 | 9,0 10,0 | 12,0 | 240/208-1P | 208-3P 347-1P | 480-3P | 600-3P | 210 | 240 | 270 300 | 360 | 42 | 18 5⁄8 | 473 | 28 1⁄8 | 714 | 21 7⁄8 | 556 | 12 3⁄4 | 324 | |
| 12 | 8,0 | 10,0 | 12,0 | 14,0 16,0 | 18,0 | 20,0 | 240/208-1P | 208-3P 347-1P | 480-3P | 600-3P | 240 | 300 | 360 420 | 480 | 540 | 600 | 45 | 18 5⁄8 | 473 | 28 1⁄8 | 714 | 21 7⁄8 | 556 | 12 3⁄4 | 324 | |
XX: Collar diameter
YY: Power in kilowatt (01 = 1.5 kw | 04 = 4.5 kw)
ZZ: Voltage (11 = 120 V-1 P | 83 = 208V-3P | 21 = 240/208V-1P | 31 = 347V-1P | 53 = 480V-3P | 63 = 600V-3P)
(M): A motorized feature is available upon request for 6 in. with 120V & 240/208V-1P voltage only.
6*: These models are offered with a neutral terminal (three-wire connection). Refer to the electrical drawing for more details.
Available options: Disconnect Switch and Plenum Kit. Refer to specsheet for more information.
MUAA06 120V-1P & 240/208V-1P MODELS

OTHER MODELS

MODELS WITH PLENUM KIT

MECHANICAL INSTALLATION
INSTALLING THE DEVICE
This unit was designed to be positioned horizontally for all models and designed to be positioned vertically for air upflow or downflow on 6” to 10” models.
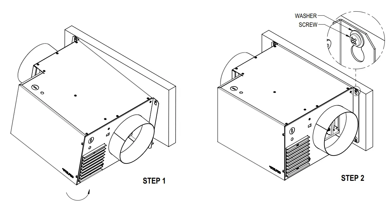
Depending on the model, securely attach the device to a solid support or mounted from the ceiling using studs (not included).

MUAA06 120V-1P & 240/208V-1P MODELS

OTHER MODELS

CHOOSE AN APPROPRIATE LOCATION TO INSTALL THE DEVICE
- Ideally in a service room intended for this purpose, where the temperature is maintained between 10°C and 40°C.
- Close to an exterior wall, so as to limit the length of the air inlet insulated ducts
- Away from the electrical panel and other fire hazards.
- Make sure you can easily access the inside of the device to perform maintenance. A minimum clearance of 24 in. is required from the main entrance door of the device.
- Leave a minimum space of ½” above the device.
INSTALLING THE DUCT SYSTEM
- Plan the simplest system, using the least number of elbows and joints. Keep the length of insulated ducts to a minimum to prevent choke and improve ventilation.
- Do not install elbows less than twice the diameter of the device’s duct
- Use only rigid metal ducts.
- Insulate the inlet ducts only. It is not necessary to insulate the outlet ducts.
- Screw in the ducts as close as possible to the device, so screws do not block the backdraft damper.

ELECTRICAL INSTALLATION
POWER CONNECTION
- Using a screw driver, pierce the perforated hole and pass the wire through it. For models with plenum kit, there is no perforated hole. Drill the box at the desired location.
- Connect the device to a 240 V electrical power supply source as illustrated.
MUAA06 120V-1P & 240/208V-1P MODELS

OTHER MODELS

For the 6’’ 120V-1P & 240/208V-1P model, a terminal block (30 amps max) is integrated in the unit. An auxiliary contact (external switch) can be connected to the terminal block. This will allow unit to start the exhaust fan and function simultaneously when required. Plug the exhaust fan switch in parallel with the terminals as shown in the diagram.

CONNECTING THE LOW POWER CONTROL
For 6’’ 120V-1P et 240/208V-1P models, the unit is conveniently connected to a main wall control.
Connect the terminal block of the unit with the one of the wall control according to the corresponding terminals.
Use #22 GA AWG wires for the connections.
For all other models, a current switch is included with the unit. This current switch is used as an interlock between the unit and the exhaust fan by passing one of the power leeds of the exhaust fan through the hole of the current switch.
Connect the current switch to the terminal block of the unit as shown below.


ELECTRONIC CONTROL
OPERATION MODES
ON MODE
When the ON signal is lit, the fan runs at the speed at which the dimmer is set. An orange indicator lights up on the card to show that the heating elements are operating. A green indicator blinks every second on the card when this mode is activated.
INT MODE
When the INT signal is lit, the unit will function in intermittent mode. Within the period of an hour, the unit operates 15 minutes and stops 45 minutes. An orange indicator lights up on the card when the heating elements are operating. A green indicator blinks every 4 seconds on the card when this mode is activated.
STOP
The device is in stop mode when none of the signals are lit. A green indicator lights up on the card indicating that the device’s power is on.
PLENUM TEMPERATURE CONTROL POTENTIOMETER
The make up air is equipped with a plenum temperature sensor. You can select the plenum temperature set point with a potentiometer installed on the control card as shown below. The default factory set point is 20°C (68°F). To change the temperature set point, turn the potentiometer with a screwdriver. You can select the set point from a temperature range between 0°C (32°F) and 40°C (104°F).

PERFORMANCE CURVE

MAINTENANCE 
Minimal maintenance of the device is required for it to function optimally throughout the year. It is recommended to clean the exterior hood of the fresh air intake once per year.
Clean the air filter every four months. Shut off the device before removing the filter. Wash the air filter with mild soap and warm water. Dry the filter before reinstalling it in the device.
Disconnect the power supply to the circuit breaker/fuse or with the disconnect switch (optional) before cleaning the device. Dust the device regularly to prevent dust from accumulating, which could cause the device to overheat. If the device is located in a very dusty area, use a vacuum cleaner with a dust brush attachment to clean the device.
The control compartments of devices with plenum kit are protected against dust. Maintenance of the rest of the unit is still necessary.

REPLACEMENT COMPONENT LIST
| # REF. | PART # | DESCRIPTION |
| 1 | CIR-049 | ELECTRONIC CARD PROGRAMMED FOR MUAA |
| 2 | CONT-3002 | CONTACTOR 2P/24V/30A RESISTIVE |
| CONT-3503 | CONTACTOR 3P/24V/35A RESISTIVE | |
| CONT-5002 | CONTACTOR 2P/24V/50A RESISTIVE | |
| 3 | ELF- MUAAXXXXXX | ASSEMBLED ELEMENT DEPENDING ON THE MODEL |
| 4 | FILTRE-MUAA06 | 7 7/8 X 7 5/8 X 1/2 WASHABLE ALUMINUM FILTER WITH PLASTIC PULL |
| FILTRE- MUAA0608 | 9 13/16 X 9 5/8 X 1/2 WASHABLE ALUMINUM FILTER WITH PLASTIC PULL | |
| FILTRE- MUAA1012 | 12 9/16 X 14 1/4 X 1/2 WASHABLE ALUMINUM FILTER WITH PLASTIC PULL | |
| 5 | FS-XXX | FUSE DEPENDING ON THE MODEL |
| 6 | GRA-002 | 120V DIMMER – 5A FOR MUAA |
| 7 | HAR-122 | SDHX HARNESS, TRANSFORMER AND CARD Y CONNECTOR |
| 8 | HAR-133 | SSR MUAA HARNESS, 1 REL |
| HAR-132 | SSR MUAA HARNESS, 2 REL | |
| 9 | MO-083 | MOTOR/AXIAL FAN115V/60HZ, 42W FOR MUAA06 |
| MO-084 | MOTOR/AXIAL FAN 115V/60HZ, 72W FOR MUAA08 | |
| MO-085 | 115V/60HZ MOTOR/AXIAL FAN, 148W FOR MUAA1012 | |
| 10 | PROT-046 | L-105°F, 60TX11 THERMAL PROTECTION, AUTOMATIC RESET |
| 11 | PROT-047 | L-110°F, 60TX11 THERMAL PROTECTION, MANUAL RESET |
| 12 | REL-006 | 30A/250VAC 24VDC SINGLE POLE RELAY |
| 13 | REL-017 | SCR 600V RELAY 50A, 4-32VDC CONTROL |
| 14 | REL-021 | 250VAC 30A 24VDC DOUBLE POLE RELAY |
| 15 | SEN-014 | NTC TEMPERATURE SENSOR AND QUICK-FIT CONNECTOR |
| – | SWI-037 | WALL CONTROL FOR MUAA |
| 16 | TB-XXX | POWER INPUT TERMINAL DEPENDING ON THE MODEL |
| 17 | TB-007-2 | #324 300V TERMINAL BLOCK (2 TERMINALS) |
| 18 | TRF-XXX | TRANSFORMER DEPENDING ON THE MODEL |
| – | SWI-009 | DISCONNECT SWITCH 25A, 3 POLES |
| – | SWI-010 | DISCONNECT SWITCH 40A, 3 POLES |
| – | SWI-016 | DISCONNECT SWITCH 100A, 3 POLES |
MUAA06 120V-1P & 240/208V-1P MODELS

OTHER MODELS

TROUBLESHOOTING
| PROBLEM | DEFECTIVE PART OR PART TO CHECK |
| The device does not work |
|
| Condensation on the windows |
|
| The air flowing from the distribution grills is too cold. |
|
| The device suddenly stops working |
|
| The device overheats and/or the elements cycle. |
|
LIMITED WARRANTY
This limited warranty is offered by Stelpro Design inc. (“Stelpro”) and applies to the following products made by Stelpro: MUAA model. Please read this limited warranty carefully. Subject to the terms of this warranty, Stelpro warrants its products and their components against defects in workmanship and/or materials for the following periods from the date of purchase: 3 years (5 years on the elements). This warranty applies only to the original purchaser; it is non-transferable and cannot be extended.
CLAIM PROCEDURE
If at any time during the warranty period the unit becomes defective, you must cut off the power supply at the main electrical panel and contact 1) your installer or distributor, 2) your service center or 3) Stelpro’s customer service department. In all cases, you must have a copy of the invoice and provide the information written on the product nameplate. Stelpro reserves the right to examine or to ask one of its representatives to examine the product itself or any part of it before honoring the warranty. Stelpro reserves the right to replace the entire unit, refund its purchase price or repair a defective part. Please note that repairs made within the warranty period must be authorized in advance in writing by Stelpro and carried out by persons authorized by Stelpro.
Before returning a product to Stelpro, you must have a Stelpro authorization number (RMA). To obtain it, call the customer service department at: 1-800-363-3414 (electricians and distributors – French), 1-800-343-1022 (electricians and distributors – English), or 1-866-766-6020 (consumers). The authorization number must be clearly written on the parcel or it will be refused.
CONDITIONS, EXCLUSIONS AND DISCLAIMER OF LIABILITY
This warranty is exclusive and in lieu of all other representations and warranties (except of title), expressed or implied, and Stelpro expressly disclaims and excludes any implied warranty of merchantability or implied warranty of fitness for a particular purpose.
Stelpro’s liability with respect to products is limited as provided above. Stelpro shall not be subject to any other obligations or liabilities whatsoever, whether based on contract, tort or other theories of law, with respect to goods or services furnished by it, or any undertakings, acts or omissions relating thereto. Without limiting the generality of the foregoing, Stelpro expressly disclaims any liability for property or personal injury damages, penalties, special or punitive damages, damages for lost profits, loss of use of equipment, cost of capital, cost of substitute products, facilities or services, shutdowns, slowdowns, or for other types of economic loss or for claims of a dealer’s customers or any third party for such damages. Stelpro specifically disclaims all consequential, incidental and contingent damages whatsoever.
This warranty does not cover any damages or failures resulting from: 1) a faulty installation or improper storage; 2) an abusive or abnormal use, lack of maintenance, improper maintenance (other than that prescribed by Stelpro) or a use other than that for which the unit was designed; 3) a natural disaster or an event out of Stelpro’s control, including, but not limited to, hurricanes, tornadoes, earthquakes, terrorist attacks, wars, overvoltage, flooding, water damages, etc. This warranty does not cover any accidental or intentional losses or damages, nor does it cover damages caused by negligence of the user or owner of the product. Moreover, it does not cover the cost of disconnection, transport, and installation.
The warranty is limited to the repair or the replacement of the unit or the refund of its purchase price, at the discretion of Stelpro. Any parts replaced or repaired within the warranty period with the written authorization of Stelpro will be warranted for the remainder of the original warranty period. This warranty will be considered null and void and Stelpro will have the right to refuse any claims if products have been altered without the written authorization of Stelpro and if the nameplate numbers have been removed or modified. This warranty does not cover scratches, dents, corrosion or discoloration caused by excessive heat, chemical cleaning products and abrasive agents. It does not cover any damage that occurred during the shipping.
Some states and provinces do not allow the exclusion or limitation of incidental or consequential damages and some of them do not allow limitations on how long an implied warranty lasts, so these exclusions or limitations may not apply to you. This warranty gives you specific legal rights and you may have other rights which vary from state to state or from province to province.
For further information or to consult this guide online, please visit our website at www.stelpro.com

WARNING



















