PAC RP5-GM41 Radio Replacement and Steering Wheel Control Interface Instruction Manual
Introduction & Features
The RP5-GM41 interface allows the replacement of a factory radio in select General Motors vehicles with 29-bit LAN v2 44-pin connector radios. Using this interface will retain factory features such as OnStar, Bluetooth, steering wheel controls (SWC), and warning chimes when the original radio is removed. Use of this interface also allows you to program two radio functions to each SWC button by using short press long press dual command functionality. The RP5-GM41 also provides data bus driven outputs such as retained accessory power (RAP), vehicle speed sensor (VSS), illumination, reverse trigger and parking brake.
Important Notes
- These instructions only apply to R.2.5.6.6 or later revisions. The revision info can be found on a small white sticker on the interface and packaging.
- Once the radio has been removed, the vehicle settings which are normally selected through the factory radio can be accessed by downloading and installing the PAC Vehicle Settings program (for windows PC) from http://www.pac-audio.com/firmware. Please make your vehicle settings selections before removing the factory radio for optimal installation time.
- The Answer/Voice & End/Mute buttons can be set to do the factory OnStar functions or given the ability to control the aftermarket radio. This option can be found in the PAC Vehicle Settings program mentioned above in note one. The default setting for these buttons is to control the factory OnStar. If these buttons are set to control the aftermarket radio, OnStar can still be accessed by using the mirror controls.
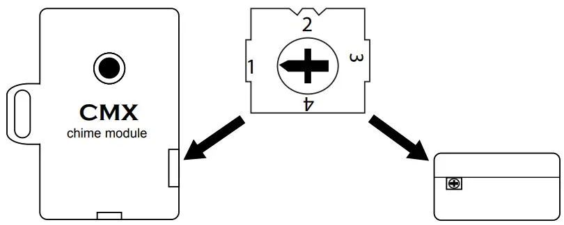
- The radio select rotary switch on the side of the interface must be adjusted to the proper radio setting before plugging the interface into the vehicle (see below for setting chart).
- The interface comes pre-programmed for all of the vehicles factory SWC functions and does not require programming unless you wish to re-assign the SWC functions, or utilize the short press long press dual command functionality. The SWC can always be restored to default settings by pressing and releasing the program button on the side of the interface once and waiting 7 seconds for the LED to flash 4 times.
- The LED will flash whenever a SWC button is pressed
Wiring Connection Chart
Aftermarket Radio Connections
| Yellow * | +12v from RP5 |
| Yellow * | +12v from vehicle |
| Black ** | Ground from RP5 |
| Black ** | Ground from vehicle |
| Red | Acc. Output |
| White | Front Left + input |
| White / Black | Front Left – input |
| Grey | Front Right + input |
| Grey / Black | Front Right – input |
| Green | Rear Left + input |
| Green / Black | Rear Left – input |
| Purple | Rear Right + input |
| Purple / Black | Rear Right – input |
| Light Green | Parking Brake Output (-) |
| Pink | Vehicle Speed Output |
| Orange / White | llumination Output (+) |
| Purple / White | Reverse Output (+) |
| Brown Loop | Mute Loop – See Note Installation Step 4 |
SWC Connector
| Blue / Yellow | Kenwood, Newer JVC, OEM or Blaupunkt |
| 3.5mm Jack | Alpine, JVC, Clarion, Pioneer, Sony, Valor, Boyo, Dual, Lightning Audio, Visteon, Jensen or Advent |
RCA Connector
| Yellow | Reverse Camera 2 |
Antenna Adapter
| Blue | Power Antenna output from aftermarket radio |
RCA Connectors
| Red | AUX Audio – Right |
| White | AUX Audio – Left |
| Yellow | Reverse Camera 1 |
IMPORTANT NOTES REGARDING YELLOW AND BLACK WIRE CONNECTIONS
- Connect both Yellow wires from the RP5 harnesses to the radio’s 12v constant input.
- Connect both Black wires from the RP5 harnesses to the radio’s ground input.
Illustration / Schematic


Radio Replacement & Steering Wheel Control Interface with OnStar Retention for General Motors Vehicles
Installation Steps
SET RADIO SELECT SWITCH

| Alpine | JVC | Kenwood | Clarion | Pioneer/Other | Sony | Fusion |
| 1 | 2 | 3 | 4 | 7 | 8 | 9 |
Other = Advent, BOYO, Dual, Jensen Lightning Audio, Rockford Fosgate & Visteon
- The radio select rotary switch on the side of the interface must be adjusted to the proper radio setting before plugging the interface into the vehicle.
- Make all connections as described in the chart on page 1. Be sure to connect both Yellow wires (one from vehicle harness and one from RP5 harness) and both Black wires (one from vehicle harness and one from RP5 harness) while making these connections.
- Plug the CMX chime module in if necessary (If the vehicle chimes when the radio is removed the CMX is not necessary).
PLEASE NOTE: In order to get the best possible sound out of the CMX, please mount it in a place free and clear of any obstructions, preferably as close as possible to the bottom of the dash pointing down toward the floor of the vehicle. - The Mute loop (if not cut) will turn the accessory output off when an OnStar or Bluetooth call is made or received. If the= aftermarket radio has a mute input cut this loop and connect the outer brown wire to the mute input.
- Connect the SWC wire according to the chart on page 1 (aftermarket radio MUST support a wired remote input).
- If you wish to reassign functions to the SWC follow the programming instructions in the next section.
- The reverse camera wires could be in one of two places depending on the model and trim of the vehicle. If the aftermarket radio is switching over when the vehicle is placed into reverse, and you are not getting the camera to display properly, try using the other Yellow RCA provided.
Default Steering Wheel Control Programming
IMPORTANT! The interface comes pre-programmed for the functions listed in the chart below and does not require programming unless you wish to re-assign the SWC functions, or utilize short press long press dual command functionality. The SWC can always be restored to default settings by pressing the program button on the side of the interface once and waiting for the timeout.
The Mute/End button has two functions. Pressing this button for less than 1.5 seconds will initiate the mute command. Pressing this button for more than 1.5 seconds will initiate the end command. This dual function button can also be reprogrammed to whatever features the customer chooses.
Default SWC Button Assignments
| Alpine | JVC | Kenwood | Clarion | Pioneer | Sony | Fusion | |
| Volume + | Volume + | Volume + | Volume + | Volume + | Volume + | Volume + | Volume + |
| Volume – | Volume – | Volume – | Volume – | Volume – | Volume – | Volume – | Volume – |
| Source | Source | Source | Source | Source | Source | Source | Source |
| Track + | Track + | Track + | Track + | Search + | Track + | Track + | Track + |
| Track – | Track – | Track – | Track – | Search – | Track – | Track – | Track – |
| Answer/Voice | Answer/OnStar Activation | Answer/OnStar Activation | Answer/OnStar Activation | Answer/OnStar Activation | Answer/OnStar Activation | Answer/OnStar Activation | Answer/OnStar Activation |
| Mute/End | Mute/Factory Bluetooth End | Mute/Factory Bluetooth End | Mute/Factory Bluetooth End | Mute/Factory Bluetooth End | Mute/Factory Bluetooth End | Mute/Factory Bluetooth End | Mute/Factory Bluetooth End |
Optional Steering Wheel Control Programming
If you wish to re-assign the SWC functions, utilize the buttons that have no initial programming, or utilize short press long press dual command functionality, the interface must be programmed in the specific order shown in the chart on the next page. If you come across a function in the chart that your steering wheel does not have, or you do not want to program, press and release the program button on the side of the interface to skip that function. The LED will flash off and on confirming that you have successfully skipped that function and are ready to proceed to the next one.
Short Press Long Press Dual Command Functionality
This feature allows you to assign two aftermarket radio functions to each of the vehicle’s SWC buttons. It can be used with as many of the buttons as the user likes or none at all. When this functionality is implemented, quickly pressing and releasing a SWC button will initiate the short press command, while pressing and holding a SWC button for longer than two seconds will initiate the long press command. Please note that no long press commands are programmed by default. If you wish to assign dual command functionality to the SWC please follow the programming steps on the next page.
Optional Programming Order
| Alpine | JVC | Kenwood | Clarion | Other | Pioneer | Sony | Fusion | |
| 1 | Volume + | Volume + | Volume + | Volume + | Volume + | Volume + | Volume + | Volume + |
| 2 | Volume – | Volume – | Volume – | Volume – | Volume – | Volume – | Volume – | Volume – |
| 3 | Mute | Mute | Mute | Mute | Mute | Mute | Mute | Mute |
| 4 | Preset + | Source | Source | Source | Preset + | Preset + | Preset + | Source |
| 5 | Preset – | Track + | Play | Search + | Preset – | Preset – | Preset – | Track + |
| 6 | Source | Track – | Track + | Search – | Source | Source | Source | Track – |
| 7 | Track + | Band/Disc + | Track – | Band | Track + | Track + | Track + | Audio |
| 8 | Track – | Preset/Disc – | Disc/FM + | Send/End | Track – | Track – | Track – | Power |
| 9 | Power | Select | Disc/AM – | Send | Band | Band | Band | |
| 10 | Enter/Play | Attenuation | Answer | End | Answer | Phone Menu | Reject Call/Source (Bluetooth equipped radios only) | |
| 11 | Band/Program | Phone Receive | Voice Dial | END | Answer Call | Answer/End Call | ||
| 12 | Receive | Phone Reject | On Hook | PTT | End Call | |||
| 13 | End | Voice Dial | Off Hook | VR | ||||
| 14 | VR | Power | Mute (Multimedia units only) | |||||
| 15 | Preset + | |||||||
| – – Advent, Boyo, Dual, Lightning Audio, Jensen, Rockford Fosgate & Visteon | ||||||||
Programming the SWC assignments
- Turn the key to the ignition position.
- Press and release the programming button on the side of the interface. The LED will turn on solid.
- Within 7 seconds, press the button that is to be learned on the steering wheel. The LED will turn off when the button is pressed. At this point you have two options:
A. For short press functionality: Release the button within 1.5 seconds. The LED will turn back on.
B. For long press functionality: Hold the button until the LED starts blinking. Release the button and the LED will go back to solid. - If you need to program more buttons, repeat step 3 for each additional audio function on the steering wheel.
- If you come across a function in the chart that your steering wheel does not have, or you do not want to program, press and release the program button on the side of the interface to skip that function.
- Once programming is completed, wait seven seconds. The LED will flash three times indicating end of programming.
- Test the interface for proper functionality. Whenever a SWC is pressed the LED on the interface should blink. If any function does not work, repeat the programming steps.
Testing and Verification
- Turn the ignition on. The LED on the interface will turn on and the +12v accessory wire will turn on.
- Turn on the radio and check balance and fade. Note: Premium factory amplified systems will not fade as neither the aftermarket radio or the RP interface have the ability to control the amplifier’s fader.
- Verify that the factory subwoofer (if present) is playing
- Verify that all SWC are functioning properly for both the aftermarket radio and OnStar. To adjust the OnStar volume, press the OnStar button on the mirror then use the volume buttons on the SWC to adjust the level. The volume will raise a total of 8 times before returning to the original level.
- Verify that the factory XM tuner is functioning properly.
- Pressing the OnStar button on the rearview mirror will turn off the rear speakers and allow the OnStar audio to be heard in the two front speakers. The OnStar active LED will also turn on. When OnStar disconnects, the radio will un-mute or turn back on and the OnStar LED will turn off. Pressing the Mute/OnStar button on the steering wheel for 1.5 seconds will also activate Onstar.
- Turn off vehicle and remove key. RAP will be active and keep the radio on for 10 minutes, or until the drivers door is opened.
- The LED and radio will turn off when RAP turns off, or the drivers door is opened.
- Use the 4-position selector switch located on the side of the CMX module to select the best chime output volume for your specific installation. Setting 1 being loudest and 4 softest.

OnStar Volume Adjustment for Vehicles w/o SWC
- If SWC buttons are not present you must use the programming button on the interface to control the OnStar audio level during an OnStar connection.
- When OnStar is active pressing the programming button will raise the audio level 4 times before returning to the original level.

Press the programming button on the side of the interface while OnStar is active to adjust the OnStar volume
Technical Support and Product Updates (Firmware)
The RP5-GM41 can be updated with new firmware as it becomes available using the PAC-UP interface updater (sold separately).
Please visit www.PAC-audio.com/firmware for available updates.
Technical Support
[email protected]
866-931-8021
© 2017 AAMP Global. All rights reserved. PAC is a Power Brand of AAMP Global.
PAC-audio.com




















