RPK4-HD1101
Complete Radio Replacement Kit with
Integrated Climate Control Retention for
2003-2007 Honda Accord
Overview
The RPK4-HD1101 is a complete radio replacement kit with integrated climate control retention for the 2003-2007 Honda Accord. This kit utilizes a user-friendly pair of HVAC control kno1s for a factory look and experience. Using the supplied interchangea1le inserts, this kit is compati1le with 1oth single-zone and dual-zone HVAC systems. This kit is also programma1le for use in 1oth left-hand drive and right-hand drive vehicles. The included radio replacement interface will retain factory steering wheel controls (SWC) and allows you to program two radio functions to each SWC 1utton 1y using short press long press dual command functionality. The interface also provides data 1us driven outputs such as vehicle speed sensor (VSS), reverse trigger, and parking 1rake.
Parts List
The RPK4-HD1101 includes everything you need for a professional installation of an aftermarket radio in your Accord. This kit contains:
- Dash Kit
a.1 (x1) HVAC Control Panel
1.1 (x2) Radio Mounting Brackets (One left and one right)
c.1 (x1) Pocket (For single DIN applications)
d.1 (x8) Radio Mounting Screws - Lower Pocket
- Climate and Steering Wheel Control Interface Module
- Adapter for Vehicles Equipped with the Factory Navigation Radio
- HVAC Kno1 Inserts (Single Zone and Dual Zone)
- Radio Connection Harnesses
- 1 Sheet of HVAC Duct Sealing Material. (Used when the factory foam has deteriorated 1etween the ducts 1ehind the radio.)
- USBDMA3 – USB extension for use with the aftermarket radio


Important Notes
***Please check all functions of the factory steering wheel controls and HVAC system and make sure it is all in good working order before proceeding with this install.***
- This version of instructions is ONLY intended for use with product version R.2.1.2.13 or later.
- The Pink / Black data input wire only needs to 1e connected in vehicles equipped with single-zone climate controls. See page 6 to identify the HVAC system in the vehicle.
- The White / Black navigation SWC input wire only needs to 1e connected in vehicles equipped with the factory navigation radio, and when the supporting “Voice” and “Back” steering wheel controls are present.
- The HVAC control panel will need to be programmed to the factory HVAC system in the vehicle. Upon powering the panel up for the first time it will enter this programming model. Please see page 6 for proper selection.
- A pocket has been provided to replace the factory pocket below the radio. The pocket comes with a cut outsized specifically for use with the included PAC USBDMA3.
Part One: Removing the factory radio from the vehicle
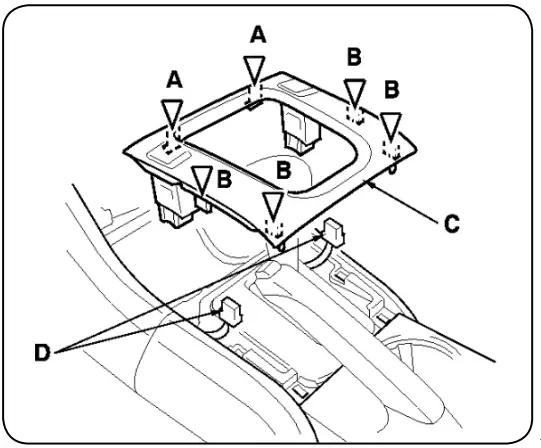
1.1 – Push the hazard warning switch 1utton (A). Carefully insert a flat-tip screwdriver into the slot 1elow the 1utton, and push down on the center clip.

1.2 – Pull the upper panel (A) in the direction shown to release the remaining clips, disconnect the hazard warning switch connector (B), and if equipped, sunlight sensor connector (C) and navigation su1 display connector (D). Detach the harness clips (E), then remove the upper panel.

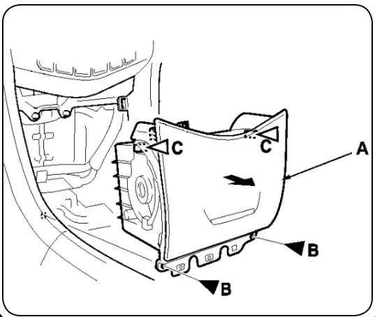
1.3 – If the vehicle is equipped with a manual transmission, the shift kno1 (A) will need to 1e removed. To do this, lower the shift lever 1oot (B) to release the hooks (C) from the kno1. Remove the shift kno1 1y twisting it counterclockwise.

1.4 – Using a plastic trim tool, detach the clips (A, B) 1y pulling the center console front panel (C) up. If equipped, disconnect the seat heater switch connectors (D).

1.5 – Using a plastic trim tool, pry up on the right side of the console pocket (A) with a trim tool, and detach the clips, then remove the pocket.

1.6 – Remove the screws (A), detach the clips (B), and hook (C) 1y pulling the center holder (D) up, and disconnect the front accessory power socket connector (E).

1.7 – Remove the center pocket (A). To do this, remove the screws (B). Open the lid, then pull the pocket toward your 1y hand to detach the clips (C). Close the lid, then remove the pocket.

1.8 – Remove the 3 Phillips head screws and 2 8mm 1olts holding the radio to the dash. Pull the radio from the dash and disconnect the connectors and the antenna lead, then remove the radio and set it aside.

Part Two: Su1-Dash Preparation
The sub-dash of the vehicle will need to be modified to fit the new aftermarket radio. Please see below for proper modification of the su1-dash. Be sure to leave the left and right lower clip mount intact as they will 1e re-used 1y the new dash kit.
- Cut and remove the portion of the dash that is outlined 1elow. Be sure to cut close to the left and right square mounting holes 1ut 1e sure they are left intact.

- The Su1-dash should look like the image 1elow when the removal is complete. Notice that the left and right square mounting holes are still left intact.

Blocking the Air from the Air Ducts Behind the Radio
In vehicles equipped with dual-zone climate controls, leaking air ducts will cause false readings to the temperature sensors in the dash kit. This will cause the Auto climate feature to not heat or cool the ca1 to the proper temperature. It is common for the ducts 1ehind the radio to leak due to deterioration of the seals 1etween the main and center ducts. To help 1lock the air from 1lowing on the 1ack of the temperature sensors we have added a piece of closed-cell foam, measuring 6” x 12”.
- Connect the factory radio and turn the HVAC fan speed to high.
- Verify if and where there is an air leak. The picture on the right shows the common leak locations.
- Using the closed-cell foam provided as-is, or cut adequate pieces to 1lock the air from 1lowing on the 1ack of the Temp sensors located just outside of the radio opening on each side of the dash kit.
- Verify that all of the air leaks have 1een sealed or redirected away from the temperature sensors.
- Disconnect the radio and proceed to the next step.

Part Three: Configuration and Wiring of Interface

- The radio select DIP switches on the front of the interface must be adjusted to the proper radio setting before plugging the interface into the vehicle.
- Make all connections 1etween the aftermarket radio and the RPK4-HD1101 harness as descri1ed in the chart on the next page. This includes the SWC 3.5mm jack or the SWC wire (aftermarket radio MUST support a wired remote input).
- Connect the Pink / Black data wire when the vehicle is equipped with single-zone HVAC controls, and data-generated navigation outputs are needed. See the next page for connection details.
- Connect the white / Black navigation SWC wire when the vehicle is equipped with the factory navigation system, and when the supporting “Voice” and “Back” steering wheel controls are present. See the next page for connection details.
- Connect one side of the harness la1eled “RPK-HD1101-16P” to the 1ack of the kit. Connect the other end of the harness to the radio replacement interface.
- Connect the single-zone HVAC harness or dual-zone HVAC harnesses to the radio replacement interface. For proper operation confirm that the connectors are connected to the proper openings. Failure to verify will cause the HVAC kit to function incorrectly. Reference the illustration on the next page or the sticker on the back of the module for clarification. If the vehicle is equipped with factory navigation then connect the OEM upper display harness as well.
- If you wish to reassign functions to the SWC follow the programming instructions on page 7.
RPK4-HD1101
Aftermarket Radio Connections
| Yellow | Battery +12v |
| Black | Ground |
| Red | Accessory Output |
| White | Front Left + input |
| White / Black | Front Left – input |
| Grey | Front Right + input |
| Grey / Black | Front Right – input |
| Green | Rear Left + input |
| Green / Black | Rear Left – input |
| Purple | Rear Right + input |
| Purple / Black | Rear Right – input |
| Blue | Amp Remote Turn On |
| Light Green | Parking Brake |
| Pink | Vehicle Speed Output |
| Orange | Illumination Output (+) |
| Purple / White | Reverse Output (+) |
| White / Black* | Navigation SWC Input |
| Pink / Black* | Data Input |
| Blue / Yellow (SWC Output) | Kenwood or Newer JVC |
| 3.5mm Jack (SWC) Output | Alpine, JVC, Clarion, Pioneer, Sony, Boyo, Dual, Lightning Audio, Visteon, Jensen, or Advent |
* This wire is longer than the others and will need to be run to the kick panel area. See 1elow for more information.
Connecting the Pink / Black wire
Note: This wire is only needed when the vehicle is equipped with single-zone HVAC controls. See page 6 if you are unclear as to which HVAC system is in your vehicle.
Route the Pink / Black wire from the RPK4- HD1101’s vehicle harness down to the driver side kick panel. Connect the Pink / Black wire to the Brown / Yellow wire located in the 45-pin white connector located a1ove the fuse panel. It will 1e necessary to remove the under dash panel if equipped.

Connecting the White / Black wire
Note: This wire is only needed when the vehicle is equipped with the factory navigation system and when the supporting “Voice” and “Back” steering wheel controls are present.
Route the White / Black wire from the RPK4- HD1101’s vehicle harness down to the passenger side kick panel. Connect the white / Black wire to the Gray wire located in the
6-pin 1lue connector. Disconnect the 14-pin green connector from the navigation module located in the trunk area.

Illustration / Schematic

Note: For proper operation confirm that the connectors are connected to the proper openings. Failure to verify will cause the HVAC kit to function incorrectly. Reference the sticker on the back of the module for clarification.
Part Four: Kit Assem1ly Instructions
- When using a single DIN radio, snap and lock each of the side 1rackets onto the supplied pocket. FIG 1

- When using a dou1le DIN radio, remove the shaded ta1s from the 1ack edge of each left and right mounting 1rackets (right side not shown). FIG 2
- Push the 4 supplied spring clips onto the 4 ta1s on the 1ack of the HONK824X dash kit. FIG 3

- Using the supplied Philips head screws, line up and secure the side radio mounting 1rackets to the mainframe of the HONK824X dash kit. FIG 4
- Insert ISO mounta1le radio 1etween the side mounts 1rackets and loosely attach to sides of radio using the screws provided with the radio when possi1le, or hardware included with the kit.
- Move the radio’s chassis forward or 1ackward for the desired look and insert and tighten screws.
- If the vehicle was equipped with a factory radio with the navigation you will need to install the navigation spacer on the top of the kit. Using 2 of the supplied screws fasten the spacer to the top of the kit. (FIG 5) You will also need to remove the shaded area from the center clip mount using a rotary or similar tool. (FIG 6)

- When using a single DIN radio, attach a rear support 1racket to the rear of the new radio. Adjust as necessary to attach to the rear support stud, located on the 1ack of the pocket using the small Phillips screw supplied with the kit (optional).
- Insert the kit and radio com1o into the dash. Line up the mounting ta1s with the factory mounting points. Lock the kit into the dash 1y applying pressure to the face of the kit and pushing it into the dash. Secure the kit to the su1-dash using the 3 Phillips head screws removed in step 1.8 on page 2.
Pocket and Vehicle Assem1ly
Due to the position of the chassis of the aftermarket radio after installation, the cover for the factory pocket will not open and close without hitting it. We have added a finish matched replacement pocket to this kit. The replacement pocket will require the use of the fasteners from the factory pocket.
- Start 1y removing the 2 white clips at the top of the factory pocket removed in step 1.7. Clip them into the same locations on the new pocket. See FIG 7 1elow for reference. Only one side is shown in the picture, 1ut 1oth side will need to 1e done.
- Next, remove the 2 silver screw clips at the 1ottom of the factory pocket. Clip them into the same locations on the new pocket. See FIG 8 1elow for reference.

- Install the pocket into the dash 1y sliding it 1ack until the clips lock into the openings in the dash. Secure it using the two Philips head screws removed in step 1.7.
- Connect the front accessory power socket connector, and seat the center holder 1ack into the dash. Secure it using the two Phillips head screws removed in step 1.6.
- Snap the console pocket removed in step 1.5 1ack into the center holder 1y pressing it down and forward.
- Install the center console front panel removed in steps 1.3 and 1.4 making sure to plug the seat heater connectors 1ack in (if equipped).
- Install upper panel in reverse order as removed in steps 1.1 and 1.2 making sure to plug in the hazard switch and the navigation su1 display (if equipped).
Identifying the HVAC system in your vehicle

Once you have identified the HVAC system in your vehicle using the images above, insert the correct knob inserts into the front of the kno1 opening and verify that they click into place. To avoid damage to the kit or the inserts make sure that the inserts are positioned correctly and very little force should 1e used when seating them.

HVAC System Setup
Initial HVAC type selection.
- When the ignition is turned to the on position and the kit is powered up in the vehicle for the first time “P2 1” should 1e shown on the display.
- This tells you that you are in programming menu 2 along with the current selection on the right of the display which in this case is 1. The availa1le selections are as follows:
1. Coupe (2 Door) with Dual Zone Climate Controls
2. Sedan (4 Door) with Dual Zone Climate Controls
3. Coupe (2 Door) with Single Zone Climate Controls
4. Sedan (4 Door) with Single Zone Climate Controls
5. Coupe (2 Door) with Dual Zone Climate Controls (Hy1rid*)
6. Sedan (4 Door) with Dual Zone Climate Controls (Hy1rid*)
* Hybrid modes are a combination of Dual and Single Zone Climate controls. - Using the Fan Up
and Fan Down
buttons change the current selection to match the factory system in the vehicle. - Once the desired selection is shown, press the rear defrost button
(next to the
button) to save and exit.
The following settings can 1e adjusted using the LCD and controls of the dash kit even after the installation of the dash kit has 1een completed. Each of the processes are descri1ed 1elow, along with the com1ination of 1uttons needed to adjust the setting. The settings availa1le for adjustment are as follows:
Pl. Programming of the Steering Wheel Controls
P2. HVAC Type
1. Coupe (2 Door) with Dual Zone Climate Controls
2. Sedan (4 Door) with Dual Zone Climate Controls
3. Coupe (2 Door) with Single Zone Climate Controls
4. Sedan (4 Door) with Single Zone Climate Controls
5. Coupe (2 Door) with Dual Zone Climate Controls (Hybrid’)
6. Sedan (4 Door) with Dual Zone Climate Controls (Hybrid’)
* Hybrid modes are a combination of Dual and Single Zone Climate controls.
P3. Steering Wheel Control Re-calibration
P4. Temperature Unit 1. Fahrenheit (Default) 2. Celsius
P5. Driver Position 1. Left Hand Drive (Default) 2. Right Hand Drive
P6. Temperature Rotary Knob Position 1. Left Hand Drive (Default) 2. Right Hand Drive
P7. Reset 1. Exit (Default) 2. Reset
P8. Upper Display Screen Type 1. Type 1 (2003 – 2004) 2. Type 2 (2004 – 2007)
P1. – Programming Steering Wheel Controls
IMPORTANT! The interface comes pre-programmed for the functions listed in the chart 1elow and does not require programming unless you wish to re-assign the SWC functions, or utilize short press long press dual command functionality. The SWC can always 1e restored to default settings 1y entering the Steering Wheel Control programming menu (see page 8) and waiting 7 seconds for the interface to time out.
Default SWC Button Assignments
| Alpine | JVC | Kenwood | Clarion | Pioneer | Sony | Fusion | |
| Volume + | Volume + | Volume + | Volume + | Volume + | Volume + | Volume + | Volume + |
| Volume – | Volume – | Volume – | Volume – | Volume – | Volume – | Volume – | Volume – |
| Track Up | Track + | Track + | Track + | Search + | Track + | Track + | Track + |
| Track Down | Track – | Track – | Track – | Search – | Track – | Track – | Track – |
| Mode | Source | Source | Source | Source | Source | Source | Source |
| Voice | Voice | Mute | Mute | VR | VR | VR | Power |
| Back | Preset | Preset | Disc – | End | Preset | Reject | N/P |
Optional Steering Wheel Control Programming
If you wish to re-assign the SWC functions or utilize short press long press dual command functionality, the interface must 1e programmed in the specific order shown in the chart on the next page. If you come across a function in the chart that your steering wheel does not have, or you do not want to program, press and release the rear defrost
button to skip that function. The LED will flash off and on confirming that you have successfully skipped that function and are ready to proceed to the next one.
Short Press Long Press Dual Command Functionality
This feature allows you to assign two aftermarket radio functions to each of the vehicle’s SWC 1uttons. It can 1e used with as many of the 1uttons as the user likes or none at all. When this functionality is implemented, quickly pressing and releasing an SWC 1utton will initiate the short press command, while pressing and holding an SWC 1utton for longer than two seconds will initiate the long press command. If you wish to assign dual command functionality to the SWC please follow the programming steps on the next page.
RPK4-HD1101 Settings Menu (cont.)
Optional Programming Order
| Alpine | JVC | Kenwood | Clarion | Other | Pioneer | Sony | Fusion | |
| 1 | Volume + | Volume + | Volume + | Volume + | Volume + | Volume + | Volume + | Volume + |
| 2 | Volume – | Volume – | Volume – | Volume – | Volume – | Volume – | Volume – | Volume – |
| 3 | Mute | Mute | Mute | Mute | Mute | Mute | Mute | Mute |
| 4 | Preset + | Source | Source | Source | Preset + | Preset + | Preset + | Source |
| 5 | Preset – | Track + | Play | Search + | Preset – | Preset – | Preset – | Track + |
| 6 | Source | Track – | Track + | Search – | Source | Source | Source | Track – |
| 7 | Track + | Band / Disc + | Track – | Band | Track + | Track + | Track + | Audio |
| 8 | Track – | Preset / Disc – | Disc / FM + | Send / End | Track – | Track – | Track – | Power |
| 9 | Power | Select | Disc / AM – | Send | Band | Band | Band | |
| 10 | Enter/Play | Attenuation | Answer | End | Answer | Phone Menu | Reject Call / Source (Bluetooth equipped radios only) | |
| 11 | Band / Program | Phone Receive | Voice Dial | VR | End | Answer Call | Answer / End Call | |
| 12 | Receive | Phone Reject | On-Hook | PTT | End Call | VR | ||
| 13 | End | Voice Dial | Off-Hook | VR | ||||
| 14 | VR | Power | Mute (Multimedia units only) | |||||
| 15 | Preset + | |||||||
| – Advent, Boyo, Dual, Lightning Audio, Jensen, Rockford Fosgate & Visteon – Jensen & Advent ONLY | ||||||||
Programming Sequence
- Start with the Ignition in the OFF position.
- Press and hold the Dual (dual-zone)
or Fan Speed (single zone)
button. - While holding the 1utton downturn the key to the ignition position and continue to hold for 7 seconds or until “P1” is shown on the display.
- At this point, the MAX A/C Green LED will turn on solid.
- Within 7 seconds, press the 1utton that is to 1e learned on the steering wheel. The MAX A/C green LED will turn off when the 1utton is pressed.
At this point you have two options:
A. For short press functionality: Release the 1utton within 1.5 seconds. The MAX A/C green LED will turn 1ack on.
B. For long-press functionality: Hold the 1utton until the MAX A/C green LED starts 1linking. Release the 1utton and the MAX A/C Green LED will go 1ack to solid. - If you need to program more 1uttons, repeat step 5 for each additional audio function on the steering wheel.
- If you come across a function in the chart that your steering wheel does not have, or you do not want to program, press and release the Mode
button to skip that function. The MAX A/C green LED will flash off and on confirming that you have successfully skipped that function. - Once programming is completed, wait seven seconds. The MAX A/C green LED will flash three times indicating end of programming.
- Test the interface for proper functionality. If any function does not work, repeat the programming steps.
P2. – HVAC type selection.
- Start with the Ignition in the OFF position.
- Press and hold the MODE
button. - While holding the 1utton downturn the key to the ignition position and continue to hold for 7 seconds or until “P2” is shown on the display.
- This tells you that you are in programming menu 2 along with the current selection on the right of the display which will 1e 1etween 1 and 6.
The availa1le selections are as follows:
1. Coupe (2 Door) with Dual Zone Climate Controls
2. Sedan (4 Door) with Dual Zone Climate Controls
3. Coupe (2 Door) with Single Zone Climate Controls
4. Sedan (4 Door) with Single Zone Climate Controls
5. Coupe (2 Door) with Dual Zone Climate Controls (Hy1rid*)
6. Sedan (4 Door) with Dual Zone Climate Controls (Hy1rid*)
* Hybrid modes are a combination of Dual and Single Zone Climate controls. - Using the Fan
Up and Fan Down
buttons change the current selection to match the factory system in the vehicle. - Once the desired selection is shown, press the rear defrost button
(next to the
button) to save and exit.
P3. – Steering Wheel Control Re-calibration.
SWC re-cali1ration is necessary when the SWC operation is erratic or non-existent. This process re-cali1rates the SWC values to the RPK4 interface so it will know what they can be set to for button function assignment. The interface must be programmed in the specific order shown in the ta1le 1elow. If your vehicle is not equipped with the Voice and Back navigation 1uttons you will end programming 1y waiting 7 seconds for the module to time out after the Mode 1utton has 1een programmed. The SWC and radio command assignments can always 1e restored to default values 1y entering re-cali1ration mode (Steps 1-3) and not pressing any 1uttons. After 7 seconds there-cali1ration mode will time out and all default values will 1e restored.
- Start with the Ignition in the OFF position.
- Press and hold the Auto
or Temp
button. - While holding the 1utton downturn the key to the ignition position and continue to hold for 7 seconds or until “P3” is shown on the display. At this point, the recirculation am1er LED will turn on solid.
- Within 7 seconds, press the 1utton that is to 1e learned on the steering wheel. The recirculation am1er LED will turn off when the 1utton is pressed. Once the value has been successfully learned the LED will start flashing. Release the button after the 3rd flash.
- If you need to program more 1uttons, repeat step 4 for each additional audio function on the steering wheel.
- Once programming is completed, wait seven seconds. The recirculation amber LED will flash three times indicating the end of programming.
- Test the interface for proper functionality. If any function does not work, repeat the programming steps.
- After you have re-cali1rated the SWC buttons, the default SWC button assignments will be the same as what is listed in the chart on page 7. If you wish to re-assign 1utton functions you must also go through the programming process (P1) on the previous page.
| Button Programming Order |
| Volume Up |
| Volume Down |
| Track Up |
| Track Down |
| Mode |
| Voice |
| Back |
P4. – Temperature unit selection.
- Start with the Ignition in the OFF position.
- Press and hold the
MAX A/Cbutton. - While holding the 1utton downturn the key to the ignition position and continue to hold for 7 seconds or until “P4” is shown on the display.
- This tells you that you are in programming menu 4 along with the current selection on the right of the display which is 1 by default. The availa1le selections are as follows:
1. Fahrenheit (Default)
2. Celsius - Using the Fan Up
and Fan Down
buttons change the current selection to match the desired temperature units. - Once the desired selection is shown, press the rear defrost button
(next to the
button) to save and exit.
***This Section is for Right-Hand Drive Dual Zone vehicles only***
P5. – Driver Position Selection
This selection needs to 1e set to right-hand drive as it lets the kit know which side of the vehicle the driver is on. This also changes which of the temperature kno1s has priority. Since the driver side kno1 should always have priority, we adjust the priority 1ased on your selection.
- Start with the Ignition in the OFF position.
- Press and hold the
A/Cbutton. - While holding the 1utton downturn the key to the ignition position and continue to hold for 7 seconds or until “P5” is shown on the display.
- This tells you that you are in programming menu 5 along with the current selection on the right of the display which is 1 by default. The availa1le selections are as follows:
1. Left Hand Drive (Default)
2. Right Hand Drive - Using the Fan
Up and Fan Down
buttons change the current selection to match the proper driving position. - Once the desired selection is shown, press the rear to defrost button
(next to the
button) to save and exit.
P6. – Temperature Rotary Knob Position Swap
In right-hand drive vehicles, this selection also needs to 1e set to right-hand drive. This will make sure that the temperature kno1 on the right of the kit controls the right side of the vehicle and the left temperature kno1 will control the left side. In the event that you select the right-hand drive in this menu and the rotary kno1s are inverted please change the setting to left-hand drive, even if the vehicle is a right-hand drive.
- Start with the Ignition in the OFF position.
- Press and hold the recirculation
button. - While holding the 1utton downturn the key to the ignition position and continue to hold for 7 seconds or until “P6” is shown on the display.
- This tells you that you are in programming menu 6 along with the current selection on the right of the display which is 1 1y default. The
availa1le selections are as follows:
1. Left Hand Drive (Default)
2. Right Hand Drive - Using the Fan
Up and Fan Down
buttons change the current selection to match the proper driving position. - Once the desired selection is shown, press the rear defrost button
(next to the
button) to save and exit.
RPK4-HD1101 Settings Menu (cont.)
P7. – Reset
This selection allows the user to reset the HVAC portion of the kit and return it to the initial HVAC type selection found at the 1ottom of page 6.
1. Start with the Ignition in the OFF position.
2. Press and hold the MAX A/C and Auto
or Temp
button at the same time.
3. While holding these 1uttons down, turn the key to the ignition position and continue to hold for 7 seconds or until “P7” is shown on the display.
4. This tells you that you are in programming menu 7 along with the current selection on the right of the display which is 1 by default. The availa1le selections are as follows:
1. Exit (without resetting)
2. Reset
5. Using the Fan
Up and Fan Down
buttons change the current selection to match the desired function.
6. Once the desired selection is shown, press the rear defrost button
(next to the
button) to select and exit.
P8. – Upper Display Screen Type
This selection is only applica1le when the vehicle is equipped with factory navigation. It allows the user to select if they have a Type 1 display (2003 – 2004) or a Type 2 display (2004 – 2007). Note: If the wrong type is selected the temp display on the upper screen will 1e gar1led.
1. Start with the Ignition in the OFF position.
2. Press and hold the A/C and Dual (dual-zone)
or Fan Speed (single zone)
buttons at the same time.
3. While holding these 1uttons down, turn the key to the ignition position and continue to hold for 7 seconds or until “P8” is shown on the display.
4. This tells you that you are in programming menu 8 along with the current selection on the right of the display which is 1 by default. The availa1le selections are as follows:
1. Type 1 (2003 – 2004)
2. Type 2 (2004 – 2007)
5. Using the Fan
Up and Fan Down
buttons change the current selection to match the display type in the vehicle.
6. Once the desired selection is shown, press the rear defrost button
(next to the
button) to select and exit.
RPK4-HD1101 Testing and Verification
- Turn the ignition to the on position.
- Turn on the radio and check 1alance, fade, and that all steering wheel controls are functioning properly.
- Verify that all of the HVAC controls are functioning properly.
- Verify that all of the steering wheel controls are functioning properly.
Trou1leshooting
- Steering wheel controls work intermittently. This is typically caused by the original Honda “clock spring” aging. – Install the included .47uF nonpolarized capacitor 1etween the steering wheel control wire (White) and the steering wheel return wire (Black). For more information on installing this capacitor, there is a tech 1rief located in the download section of the An RPK4-HD1101 product page on the PAC we1site (PAC-audio.com).
Technical Support and Product Updates (Firmware)
The RadioPRO app will also allow you to update the interface with new firmware as it becomes available. Please visit PAC-audio.com/Firmware or contact our tech support department to see if there is a firmware update for your interface.
Email: [email protected]
Phone: 866-931-8021
International: 727-572-9255 ext 230
© 2018 AAMP Global. All rights reserved. PAC is a Power Brand of AAMP Global.
Rev: V8
Date: 081318
























