RP5-GM31
Radio Replacement Interface with Steering Wheel Control and Telematics Retention For select General Motors Vehicles With 29 Bit Data Systems
Introduction and Features
The RP5-GM31 interface allows the replacement of a factory radio in select General Motors vehicles with 29 Bit Data-Bus. Using this interface will retain factory features such as Warning Chimes, Bose Amplifier, Steering Wheel Controls (SWC), Rear Seat Entertainment (RSE), and Rear Seat Controls (RSC) when the original radio is removed. The RP5-GM31 provides data bus-driven outputs such as retained accessory power (RAP), vehicle speed signal (VSS), illumination, reverse trigger, and parking brake.
Important Notes
- The radio select dip switches on the side of the interface must be set to the proper radio selection before plugging the interface into the vehicle.
- The interface comes pre-programmed for all vehicle’s factory default SWC functions. These can be reprogrammed if you wish to change functionality, please refer to the Optional SWC Programming section on page 3.
- RSC buttons that are identical to the SWC will mimic the SWC one for one.
- If the vehicle chimes when the radio is removed, the CMX is not necessary. In order to get the best possible sound out of the CMX, please mount it in a place free and clear of any obstructions, preferably as close as possible to the bottom of the dash pointing down toward the floor of the vehicle.
- The external speaker, part number (RP-SPX, Sold Separately) must be used when installing a 4-channel amplifier to retain the OnStar prompts. It can be purchased through any PAC-authorized dealers if required for your installation.
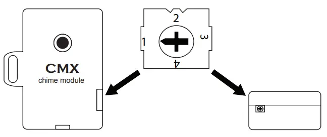
Module Layout


Installation Steps
Set DIP switches that correspond with your radio to the ON position. Set all other DIP switches to the OFF position. ![]()
| Alpine | JVC | Kenwood / Lightning Audio | Stinger | Clarion / Nakamichi | All Other Brands | Pioneer | Sony | Fusion |
| 1 | 2 | 1 & 2 | 3 | 3 | 1,2,& 3 | 1,2,& 3 | 4 | 1& 4 |
- Set the Radio Select DIP switches according to the radio you are installing.
- Wire your aftermarket radio to the RP5-GM31’s harness according to the wiring connections chart below.
- The Brown mute loop in Interface Connector 4 (if not cut) will turn the RP5’s accessory output off when any OnStar function is active. If the aftermarket radio has a mute input, cut this loop and connect the Brown wire in pin 23 to it. This pin is located in the top row next to the solid blue wire. (The top of the connector has the locking tab on it).
- Plug Interface Connectors 1 and 2 into the appropriate ports on the RP5-GM31 interface (using the diagram on Page 1 or the label on the bottom of the interface to identify the connector ports).
- The Connector 3 connection will be dependent upon whether or not the vehicle has a factory amplified system. Plug this connector into one of the two ports on the RP5-GM31 (using the diagram on Page 1 or the label on the bottom of the interface to identify the port appropriate for the installation).
- If the aftermarket radio is equipped with an auxiliary input and you wish to retain the factory RSE audio, plug the RCA connectors from the Vehicle Connector 2 into the radio auxiliary input.
- Remove the factory radio and plug in the RP5-GM31’s Vehicle Connector 1 and Vehicle Connector 2 into the factory vehicle harness.
- If you wish to reassign functions to the SWC, follow the Optional Steering Wheel Control Programming on Page 3.
- Plug the 2-Pin connector into the CMX Chime Module (If the vehicle chimes when the radio is removed, the CMX is not necessary). PLEASE NOTE: In order to get the best possible sound out of the CMX, please mount it in a place free and clear of any obstructions, preferably as close as possible to the bottom of the dash pointing down toward the floor of the vehicle.

Wiring Connections
| Yellow | 12v+ |
| Red | Accessory Output (10 amp) |
| Black | Ground |
| Brown Loop | Mute Output |
| Blue | Not Used |
| Blue / White | Remote On Input |
| Orange | Not Used |
| Orange / White | Illumination Output |
| Purple / White | Reverse Output (+) |
| Light Green | Parking Brake Output (-) |
| Pink | Vehicle Speed Signal (VSS) Output |
| Blue / Yellow | SWC Output |
| 3.5 mm Jack | SWC Output |
| Purple | Rear R + input |
| Purple / Black | Rear R – input |
| Green | Rear L + Input |
| Green / Black | Rear L – input |
| Gray | Front R + input |
| Gray / Black | Front R – Input |
| White | Front L + input |
| White / Black | Front L – Input |
| Yellow RCA | Monitor 2 Video In |
You can press and hold the programming button on the side of the interface to access different programming modes. Once the LED is lit to the mode you desire (see below for modes), immediately release the programming button to access that mode.
PLEASE NOTE:
- This process must be done with the interface in the vehicle and the key in the ignition position.
A. LED 1 is green: SWC re-assignment. This allows you to re-assign the SWC functions to the buttons of your choice. Please see the Optional Steering Wheel Control Programming instructions below for more details.
B. LED 1 & 2 is flashing red: Master reset. This does a master reset of the interface and restores the following settings to factory defaults: - SWC Mapping
Default Steering Wheel Control Programming
Default SWC Button Assignments
| Alpine | JVC | Kenwood | Clarion | Pioneer | Sony | Stinger | |
| Volume + | Volume + | Volume + | Volume + | Volume + | Volume + | Volume + | Volume + |
| Volume – | Volume – | Volume – | Volume – | Volume – | Volume – | Volume – | Volume – |
| Source | Source | Source | Source | Source | Source | Source | Source |
| Track + | Track + | Track + | Track + | Search + | Track + | Track + | Search + |
| Track – | Track – | Track – | Track – | Search – | Track – | Track – | Search – |
| Voice | Voice | Voice | Voice | Voice | Voice | Voice | Voice |
| Play/Pause | Preset + | Preset/Disc – | Disc/FM+ | Band | Preset + | Preset + | Band |
Optional Steering Wheel Control Programming
Factory Mode
- The SWC Mute / Voice buttons are programmed to control OnStar. They cannot be programmed for short press / long press dual command functionality and are blocked from doing so.
Aftermarket Mode
- OnStar control through the SWC Voice button is disabled. This will free up the Voice button to work with the aftermarket radio.
Use the function chart on the next page as a guide to program the functions in the proper order for your new radio
- Turn the key to the ignition position.
- Press and release the programming button on the side of the interface the number of times that corresponds with either factory or aftermarket mode. One press will set factory mode and two presses will set aftermarket mode. The LED will blink each time the button is pressed.
- Once you have chosen either factory or aftermarket mode, after 2.5 seconds the LED will come on solid. At this point you have two options:
A. To restore the SWC to factory default settings: Simply wait 7 seconds and the LED will blink 3 times indicating the interface has timed out. The default settings are now restored and no further action is required.
B. To program custom SWC assignments: Proceed to step 4 - With the LED on, press the first button to be learned on the steering wheel, and the LED will turn off. At this point you have two options:
A. For short press functionality: Release the button within 1.5 seconds. The LED will turn back on.
B. For long press functionality: Hold the button until the LED starts blinking. Release the button and the LED will go back to solid. - If you need to program more buttons, repeat step 4 for each additional audio function on the steering wheel.
- If you come across a function in the chart that your steering wheel does not have, or you do not want to program, press and release the program button on the side of the interface to skip that function.
- Once programming is completed, wait seven seconds. The LED will flash three times indicating the end of programming.
- Test the interface for proper functionality. Whenever an SWC has pressed the LED on the interface should blink. If any function does not work, repeat the programming steps.
Optional Steering Wheel Control Programming (cont.)
Optional Programming Order
| Alpine | JVC | Kenwood | Clarion | Other * | Pioneer | Sony | Stinger | |
| 1 | Volume + | Volume + | Volume + | Volume + | Volume + | Volume + | Volume + | Volume + |
| 2 | Volume – | Volume – | Volume – | Volume – | Volume – | Volume – | Volume – | Volume – |
| 3 | Mute | Mute | Mute | Mute | Mute | Mute | Mute | Mute |
| 4 | Preset + | Source | Source | Source | Preset + | Preset + | Preset + | Source |
| 5 | Preset – | Track + | Play | Search + | Preset – | Preset – | Preset – | Search + |
| 6 | Source | Track – | Track + | Search – | Source | Source | Source / End Call | Search – |
| 7 | Track + | Band / Disc + | Track – | Band | Track + | Track + | Track + | Band |
| 8 | Track – | Preset / Disc – | Disc / FM + | Send / End | Track – | Track – | Track – | Send / End |
| 9 | Power | Select | Disc / AM – | Send | Band | Band | Band | Send |
| 10 | Enter / Play | Attenuation | Answer | End | Answer “ | Phone Menu | Power / End Call | End |
| 11 | Band / Program | Phone Receive | Voice | Voice | End ‘ | Answer Call | Voice / Answer / End Call | Voice |
| 12 | Receive | Phone Reject | On Hook | PTT “ | End Call | Voice (Android Auto & Car Play) Answer / End Call’ | ||
| 13 | End | Voice | Off Hook | Voice | ||||
| 14 | Voice | Power | Mute | |||||
| 15 | Preset + | |||||||
| * Dual / Axxera, Jensen, Rockford Fosgate ** Jensen ONLY *** XAV-AX100 1200 Only | ||||||||
Testing and Verification
- Turn the ignition on. LED 1 will illuminate red and the +12v accessory wire will turn on.
- Turn on the radio and check chimes, volume, balance, and fader.
- Verify that all SWC buttons are functioning properly for both the aftermarket radio and OnStar. To adjust the OnStar volume, press the OnStar button on the mirror then use the volume buttons on the SWC, or the adjustment dial on the side of the module to adjust the level.
- Pressing the OnStar button on the rearview mirror will turn off the rear speakers and allow the OnStar audio to be heard in the two front speakers. The OnStar active LED 2 will also turn on. When OnStar disconnects, the radio will unmute or turn back on and the OnStar LED will turn off. Pressing the Voice / OnStar button on the steering wheel will also activate OnStar if you have the SWC set to factory mode (Default setting).
- Turn off the vehicle and remove the key. RAP will be active and keep the radio on for 10 minutes or until any door is opened.
- The LED 1 and radio will turn off when RAP turns off or until any door is opened.
- Use the 4-position selector switch located on the side of the CMX chime module to select the best chime output volume for your specific installation. Setting 1 being loudest and 4 being softest.

Rear Seat Entertainment (RSE); If equipped
- Vehicles equipped with an overhead screen only: In this application, the GMRVD must be used in order to feed A/V into the factory screen from an aftermarket head unit (head unit must support A/V out). With the GMRVD, A/V will be passed from the aftermarket head unit to the rear screen and audio can be heard through the headphones. The GMRVD will also pass the Auxiliary inputs on the rear of the center console to the aftermarket head unit. Aftermarket radio must have an auxiliary input
in order to retain RSE audio with additional harness sold separately. - Vehicles equipped with dual overhead screens: In addition to the GMRVD, you will also need a single male dual female RCA splitter in order to feed the aftermarket radio’s video out to both the Monitor 1 input on the GMRVD and the Monitor 2 input located on the main GM31 harness.
- Vehicles equipped with an overhead screen AND headrest monitors: In this application, the headrest monitors will function independently from the overhead monitor. Neither video or audio can be passed to or from the headrest monitors. The overhead monitor will function exactly as described in #1.
Adjustment Dial Functionality
- If your vehicle is equipped with Y91 / UQA premium amplifier, the dial can be used to adjust the gain of the factory amplifier.
- When OnStar is active, use the dial to raise or lower the OnStar volume to the desired level.

RadioPRO PC App
Firmware Updates
The RadioPRO PC app will allow you to update the interface with new firmware as it becomes available. Please visit https://pac-audio.com/firmware-updates/ for available updates.
Connect the interface to your PC and select ”Firmware”, then “Update Firmware”. Now select “Select File”. Finally, browse to the place where you saved the file and select it. This will begin the updating process. Once finished, disconnect the interface from the PC and test the operation.

Technical Support
Email: [email protected]
Toll Free: 866-931-8021
Standard / International: 727-592-5991
Technical Bulletin
RadioPRO5 Accessory Power Output Drop-out At High Volumes
Overview
Symptom: The 12v+ accessory output drops out at high volume causing the aftermarket radio to shut down.
Cause: Aftermarket radios with high-powered speaker outputs, played at high volumes, cause the interface’s components to overheat, thus resulting in the 12v accessory output failure.
Solution: Wire 3 of the 4 factory speakers directly to the outputs of the aftermarket radio, bypassing the interface. You will need to leave the front left speaker wired through the interface in order to retain the OnStar functionality.
Disconnect the Speaker Wires
The RadioPRO5 Module has 2 harnesses:
a. RP5-Radio harness (RP5-RADPWRAUDIO)
b. Vehicle harness (OS-GMLAN29)
- Disconnect speaker wires from the Aftermarket Radio harness
a. Cut the positive and negative speaker wires for the Left Rear, Right Rear, and Right Front channels, away from the RP5Radio harness.
b. NOTE: The Left Front speaker wires must remain connected for OnStar audio. - Modify the Vehicle harness
a. Cut the positive and negative speaker wires for the Left Rear, Right Rear, and Right Front channels, away from the RP5 module.
b. NOTE: The Left Front speaker wires must remain connected for OnStar audio.

Reconnect the Speaker Wires
- Connect the 3 channels of speaker wires from the Aftermarket Radio harness to the speaker wires on the Vehicle harness, bypassing the RP5 module, as shown below.

© 2018 AAMP Global. All rights reserved. PAC is a Power Brand of AAMP Global.
PAC-audio.com
Rev: V1.3
Date: 102918




















