
Security IP Camera SD Card

X3 / X5
User Manual
X3 Security IP Camera SD Card
Dear customer,
Thank you for purchasing our product. Please read the following instructions carefully before first use and keep this user manual for future reference. Pay particular attention to the safety instructions. If you have any questions or comments about the device, please contact the customer line.
✉ www.alza.co.uk/kontakt
✆ +44 (0)203 514 4411
Importer Alza.cz a.s., Jankovcova 1522/53, Holešovice, 170 00 Praha 7, www.alza.cz
Getting Started
Package Contents

Security Tips
- Please change the camera’s password regularly, using a combination of numbers, letters, and special characters.
- We recommend that you regularly update your camera with the latest available software and firmware to ensure the best experience with your camera.
Physical Description

Warning
The cords on this product are a potential strangulation hazard. For children safety, please keep these cords out of the reach of children.
Setting up the Camera
Before you Get Started
Scan the QR code below to download and install the Foscam app.

To ensure a smoother video experience on your smartphone, it is recommended that your smartphone meets the following requirements: iOS version 11 or higher, Android version 4.1 or higher, using a device with a Graphics Processing Unit (GPU).
Note: For the best experience, please update the app to the latest version!
Wi-Fi Connection
Plug the power adapter into the camera, and please wait for a few seconds until you hear the “Ready for WiFi configuration” prompt.
Tips: If you didn’t hear the voice prompt, press and hold the reset button for about 10 seconds to reset the camera.
Make sure that your smartphone is connected to your Wi-Fi router.
Tips: You need to connect to the 2.4GHz network if your Wi-Fi router is dual-band. Most newer routers have both 2.4GHz and 5GHZ channels. For example, choose SSID:
XXXXXX_2.4G.
Open the Foscam app and sign up for a Foscam account or sign in if you have one already.
After logging in into Foscam app, select “Tap to add a camera” or “+” icon in the upper right corner, then select “Scan the QR code” and scan the QR code that is located
at the bottom of your camera.

In “Wi-Fi Connection”, select “Ready” and enter your WiFi’s password and then tap “Confirm”, afterwards tap the “Configure Wi-Fi connection” button.

Please scan the QR code, then you will hear a voice prompt saying: “Wi-Fi connecting”. Confirm the checkbox and tap “Next”.

Tips: Place the QR code about 10 to 15 centimetres from your camera.
Wait a few seconds until the camera notifies you that the “Wireless connection succeeded”, which means your camera has connected to your Wi-Fi successfully. After that, you can set the camera name and tap “Save” in “Set name” interface.
Note: If the process of adding a camera fails, please reset your camera, and try it again according to the described method.
Tapping on the play button within the video box will jump to the “Camera Login” setting interface. For your security, please set a new username and password for your camera before viewing live video.
After completing the above steps, you can begin to use the camera.
Hardware Installation
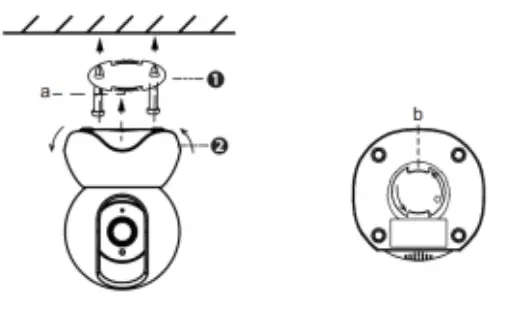
Place the camera directly on a desk. Install the mounting plate on a wall or ceiling with the supplied fixing screws.
Note: Align points a and b to insert the camera base to the mounting plate. Rotate so that points a and b are aligned, which attaches the camera securely to the base.

Other Ways to Access Your Camera
Foscam VMS
Foscam VMS is a new tool for PCs. It does not require plug-ins and is compatible with Windows and Max, supporting all Foscam HD cameras and up to 36 cameras at the same time. If you would like to manage multiple cameras, we suggest you install Foscam VMS.
You can download the Foscam VMS from www.foscam.com/vms.
Note: For the best experience, please update Foscam VMS to the latest version!
To add the IP camera, start Foscam VMS, create a local administrator account and login. Then tap the “+” icon and follow the setup wizard to add your camera.
For additional instructions, visit www.foscam.com/downloads.
Important Notice
Camera Username and Password
The camera username and password are used to access and manage your camera. Having a strong password can significantly improve the security of your camera.
If you have forgotten either of them, please press the “Reset” button and hold it for more than 10 seconds while the camera is powered on. After hearing the voice prompt, release the button. The camera will automatically reboot, and the default settings will be restored. You can then reconnect the camera by following the aforementioned instructions.
Storage Media
Your camera supports cloud storage, NVR (Network Video Recorder), and Micro SD card (only supports exFAT and FAT32 formats). If you wish to record and playback large amounts of video, we recommend using a Foscam NVR device as well.
Firmware Updates
You can upgrade the firmware of your camera with the Foscam app using the new one key online upgrade feature. Open the Foscam app, login to the camera, select “Settings” → “Firmware” → “Firmware upgrade”.
Safety Tips
- Please ensure that the proper power supply is used before using the camera.
- Please install the camera and bracket securely using the screws provided.
- Please use this product within the temperature range. When the ambient temperature is too high or too low, it may cause product failure.
- To avoid the risk of fire or electric shock, please keep your camera in a cool, dry place.
- Please keep the camera out of reach of small children.
- This product is not a toy. Children should use the product under adult supervision.
- Change your default port to a greater range to help ensure the safety of your connection. To change the default port, follow the instructions mentioned in a user manual on www.foscam.com/downloads.
- Check the logs of your Foscam cameras frequently.
Foscam cameras have embedded logs telling you which IP addresses are accessing the camera.
Parameters
| WLAN frequency range | 2412MHz-2472MHz |
| Maximum transmission power | < 19dBm |
| Wireless standard | IEEE802.11b/g/n |
| Power supply | DC 5V 2A 10W, or DC 5V 1.5A 7.5W |
Warranty Conditions
A new product purchased in the Alza.cz sales network is guaranteed for 2 years. If you need repair or other services during the warranty period, contact the product seller directly, you must provide the original proof of purchase with the date of purchase.
The following are considered to be a conflict with the warranty conditions, for which the claimed claim may not be recognized:
- Using the product for any purpose other than that for which the product is intended or failing to follow the instructions for maintenance, operation, and service of the product.
- Damage to the product by a natural disaster, the intervention of an unauthorized person or mechanically through the fault of the buyer (e.g., during transport, cleaning by inappropriate means, etc.).
- Natural wear and aging of consumables or components during use (such as batteries, etc.).
- Exposure to adverse external influences, such as sunlight and other radiation or electromagnetic fields, fluid intrusion, object intrusion, mains overvoltage, electrostatic discharge voltage (including lightning), faulty supply or input voltage and inappropriate polarity of this voltage, chemical processes such as used power supplies, etc.
- If anyone has made modifications, modifications, alterations to the design or adaptation to change or extend the functions of the product compared to the purchased design or use of non-original components.
EU Declaration of Conformity
Identification data of the manufacturer’s / importer’s authorized representative:
Importer: Alza.cz a.s.
Registered office: Jankovcova 1522/53, Holešovice, 170 00 Prague 7
CIN: 27082440
Subject of the declaration:
Title: IP Camera
Model / Type: Foscam X3 / Foscam X5
The above product has been tested in accordance with the standard(s) used to demonstrate compliance with the essential requirements laid down in the Directive(s):
Directive No. 2014/53/EU
Directive No. 2011/65/EU as amended 2015/863/EU
Prague
WEEE
This product must not be disposed of as normal household waste in accordance with the EU Directive on Waste Electrical and Electronic Equipment (WEEE – 2012/19 / EU). Instead, it shall be returned to the place of purchase or handed over to a public collection point for the recyclable waste. By ensuring this product is disposed of correctly, you will help prevent potential negative consequences for the environment and human health, which could otherwise be caused by inappropriate waste handling of this product. Contact your local authority or the nearest collection point for further details. Improper disposal of this type of waste may result in fines in accordance with national regulations.
![]()


















