FOSCAM R4M White 2K Quad HD Indoor PT Security Camera

Dear customer,
Thank you for purchasing our product. Please read the following instructions carefully before first use and keep this user manual for future reference. Pay particular attention to the safety instructions. If you have any questions or comments about the device, please contact the customer line.
- www.alza.co.uk/kontakt
- +44 (0)203 514 4411
- Importer Alza.cz a.s., Jankovcova 1522/53, Holešovice, 170 00 Prague 7, www.alza.cz.
Getting Started
Package Contents

Security Tips
- Please change the camera’s password, using a combination of numbers, letters and special characters.
- We recommend that you regularly update your camera with the latest available software and firmware to ensure the best experience with your camera.
Physical Description

Warning: 
The cords on this product are a potential strangulation hazard. For child safety, please keep these cords out of the reach of children.
Setting Up Your Camera: Connection via the Foscam App (Recommended)
Before You Get Started
Scan the QR code below to download and install the Foscam APP.
To ensure a smoother video experience on your smartphone, it is recommended that your smartphone meet the following specifications:
- iOS: version 8.1 or higher.
- Android: 4.1 or higher, using a device with a Graphics Processing Unit (GPU).
Note: For the best experience, please update the APP to the latest version!
WiFi connection
- Please tighten the antenna clockwise and make sure it is in a vertical position.

- Plug the power adapter into the camera, and please wait for a few seconds until hearing the “Ready for WiFi configuration”.

Tips: If you didn’t hear the voice prompt, press and hold reset for about 10 seconds to reset the camera. - Make sure that your smartphone is connected to your WiFi router.

Tips: R2M and R2C cameras only support a 2.4GHz WiFi network, you need to connect to the 2.4GHz network if your WiFi router is dual-band. R4M and R4S cameras support dual-band 2.4GHz and 5GHz WiFi networks, so you can choose the channel with the stronger signal to use. For example, you can select the corresponding channel according to the camera model, and choose your SSID: XXXXX_2.4G or XXXXX_5G. - Open the foam APP and please sign up for a Foscam account, or sign in if you have one already.
- After logging into Foscam APP, select the “Tap to add a camera” or “+” icon on the upper right corner, then select “Scan the QR code” and scan the QR code labeled at the bottom of your camera (see illustrations on the next page.)

- In “Choose Setup Method”, select “WiFi connection” enter your WiFi password and tap “Confirm”, afterward tap the “Configuration WiFi connection” button.

- Please scan the QR code on the phone screen with the camera, then you will hear a voice prompt say, “WiFi connecting”. Select the checkbox and tap “Next”.

Tips: Please place the QR code on the phone screen about 10 to 15cm (3.94 to 5.9in) away, and if you encounter difficulties, you can try moving the screen slowly around 10 – 15 cm (3.94-5.9in). - Wait a few seconds until the camera notifies you that the “Wireless connection succeeded”, which means your camera has connected to your WiFi successfully. After, you can set the camera name and tap “Save” in the “Set name” interface.

Note: If the process of adding a camera fails, please reset your camera and try adding again according to the above method.
- Tapping on the play button within the video box will jump to the “Camera Login” setting interface. For your security, please set a new username and password for your camera before viewing live video.

- After completing the above steps, you can begin to use the camera.
Other Ways to Access Your Camera
Foscam VMS![]()
Foscam VMS is a new tool for PCs. It does not require plug-ins and is compatible with Windows & Mac, supporting all Foscam HD cameras and up to 36 cameras at the same time. If you would like to manage multiple cameras, we suggest you install Foscam VMS. You can download the “Foscam VMS” Windows version from fosmca.com/vms, and can download the “Foscam VMS” Mac version from the APP store:
https://apps.apple.com/cn/app/foscamvms/id1512202507?mt=12
Note: For the best experience, please update Foscam VMS to the latest version!
Add the IP Camera
- Run the Foscam VMS, then create a local administrator account and log in.
- Tap the “+” icon on the Foscam VMS and follow the setup wizard to add your camera.
Please visit foscam.com/downloads to view the user manual and for additional detailed steps.
Foscam Cloud Service![]()
You can access the camera via the Foscam Cloud website: www.myfoscam.com.
Some benefits of viewing your camera in the cloud:
- It’s simple and convenient to remotely access and manage all your WiFi security cameras.
- Enjoy the latest features first through Foscam Cloud including cloud storage and more.
- Getting started is fast – if you have already registered an account in the Foscam App, you can directly use the same login credentials for Foscam Cloud.
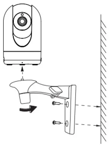
Hardware Installation

- Screw the mount on the wall with the two screws provided.
- Loosen the thumb screws to adjust the mount to the desired position. Once the position is set, tighten the screws securely.
Important Notice
Camera Username & Password
The camera username & password are used to access and manage your camera. Having a strong password can significantly improve the security of your camera. If you have forgotten either of them, please press the “Reset” button and hold it for more than 10 seconds while the camera is powered on. After hearing the voice prompt, release the button. The camera will automatically reboot and the default settings will be restored. You can then reconnect the camera by following this Quick Setup Guide.
Foscam Cloud Service Account Username & Password
Your Foscam Cloud service account and password may be used to access both the Foscam App and the Foscam Cloud service website. Therefore, you can register your account username & password on either one.
Storage Media
You camera supports cloud, NVR (Network Video Recorder), and Micro SD card (only supports FAT-32 format) storage formats. If you wish to record and play back large amounts of video, we recommend using a Foscam NVR device as well.
Firmware Upgrades
You can upgrade the firmware of your camera with the Foscam App by using the new “One-Key-Onlie Upgrade” feature (Open the Foscam App and Login to the camera, select “Settings” > “Firmware Upgrade”).
You also can download the latest version to upgrade your camera from our official website foscam.com/upgrades
Safety Tips
- Please ensure that the proper power supply is used before using the camera.
- Please install the camera and bracket securely using the screws provided.
- Please use this product within the temperature range. When the ambient temperature is too high or too low, it may cause product failure.
- To avoid the risk of fire or electric shock, please keep your camera in a cool, dry place.
- Please keep the camera out of reach of small children.
- This product is not a toy, children should use the product under adult supervision.
- Change your default port to a greater range to help ensure the safety of your connection. How to change the default port: please visit foscam.com/downloads to view the user manual.
- Check the logs of your Foscam cameras frequently. Foscam Cameras have embedded logs telling you which IP addresses are accessing the camera.
Product Performance
| WLAN frequency range: | 2412MHz – 2472Mhz (R2M, R2C) 2412MHz – 2472MHz and 5725MHz – 5875MHz (R4M, R4S) |
| Maximum transmission power | < 19dBm |
| Wireless Standard: | IEEE802.11 b/g/n (2.4GHz) IEEE802 11a/n/ac (5GHz) |
| Power Supply: | DC 5V 2.0A 10W |
Warranty Conditions
A new product purchased in the Alza.cz sales network is guaranteed for 2 years. If you need repair or other services during the warranty period, contact the product seller directly, you must provide the original proof of purchase with the date of purchase.
The following are considered to be a conflict with the warranty conditions, for which the claimed claim may not be recognized:
- Using the product for any purpose other than that for which the product is intended or failing to follow the instructions for maintenance, operation, and service of the product.
- Damage to the product by a natural disaster, the intervention of an unauthorized person, or mechanically through the fault of the buyer (e.g., during transport, cleaning by inappropriate means, etc.).
- Natural wear and aging of consumables or components during use (such as batteries, etc.).
- Exposure to adverse external influences, such as sunlight and other radiation or electromagnetic fields, fluid intrusion, object intrusion, mains overvoltage, electrostatic discharge voltage (including lightning), faulty supply or input voltage and inappropriate polarity of this voltage, chemical processes such as used power supplies, etc.
- If anyone has made modifications, modifications, alterations to the design, or adaptations to change or extend the functions of the product compared to the purchased design or use of non-original components.
EU Declaration of Conformity
Identification data of the manufacturer’s / importer’s authorized representative:
- Importer: Alza.cz a.s.
- Registered office: Jankovcova 1522/53, Holešovice, 170 00 Prague 7
- CIN: 27082440
Subject of the declaration:
- Title: IP Camera
- Model/Type: R4M White
The above product has been tested in accordance with the standard(s) used to demonstrate compliance with the essential requirements laid down in the Directive(s):
- Directive No. 2014/53/EU
- Directive No. 2011/65/EU as amended 2015/863/EU
WEEE
This product must not be disposed of as normal household waste in accordance with the EU Directive on Waste Electrical and Electronic Equipment (WEEE – 2012/19 / EU). Instead, it shall be returned to the place of purchase or handed over to a public collection point for the recyclable waste. By ensuring this product is disposed of correctly, you will help prevent potential negative consequences for the environment and human health, which could otherwise be caused by inappropriate waste handling of this product. Contact your local authority or the nearest collection point for further details. Improper disposal of this type of waste may result in fines in accordance with national regulations.
Technical Support
If you have problems with your Foscam device, please contact the reseller you purchased from, or you can e-mail the headquarters technical support team:
[email protected].
Your valuable comments and suggestions on improving Foscam products are welcomed!
- www.alza.co.uk/kontakt
- +44 (0)203 514 4411
- Importer Alza.cz a.s., Jankovcova 1522/53, Holešovice, 170 00 Prague 7, www.alza.cz.





























