Quick Setup Guide Indoor 2KIP Security Camera 
To view this guide in other languages and for detailed manuals, tools, etc., please visit foscam.com/downloads. V1.0 305503000693
Setting Up Your Foscam Security Camera
Getting Started
Package Contents

Security Tips
- Please change the camera’s password regularly, using a combination of numbers, letters, and special characters.
- We recommend that you regularly update your camera with the latest available software and firmware to ensure the best experience with your camera.
Physical Description

Warning

The cords on this product are a potential strangulation hazard. For child safety, please keep these cords out of the reach of children.
Setting Up Your Camera: Connection via the Foscam App (Recommended)
Before You Get Started
Scan the QR code below to download and install the Foscam APR
![]() | http://www.foscam.com/d |
To ensure a smoother video experience on your smartphone, it is recommended that your smartphone meet the following specifications:
- iOS: version 11 or higher.
- Android: 4.1 or higher, using a device with a Graphics Processing Unit (GPU).
Note: For the best experience, please update the APP to the latest version!
WiFi connection
1. Plug the power adapter into the camera, and please wait for a few seconds until hearing the “Ready for WiFi configuration’:

Tips: If you didn’t hear the voice prompt, press and hold reset for about 10 seconds to reset the camera.
2. Make sure that your smartphone is connected to your WiFi router.
Tips: You need to connect to the 2.4GHz network if your WiFi router is dual-band—most newer routers have both 2.4GHz and 5GHz channels. For example, choose SSID: XXXXX_2.4G.
3. Open the foam APP and please sign up for a Foscam account, or sign in if you have one already.
4. After logging into the Foscam APP, select the “Tap to add a camera” or “+” icon on the upper right corner, then select “Scan the QR code” and scan the QR code labeled at the bottom of your camera.
5. In “WiFi connection”, select “Ready” and enter your WiFi password, and tap “Confirm”, afterward tap the “Configure WiFi connection” button (see illustrations on the next page).

6. Please scan the QR code on the phone screen with the camera, then you will hear a voice prompt say “WiFi connecting“. Select the checkbox and tap “Next:
Tips: Please place the QR code on the phone screen about 10 to 15cm (3.94 to 5.9in) away, and if you encounter difficulties you can try to move the screen slowly around 10 – 15cm (3.94 – 5.9in).
7. Wait a few seconds until the camera notifies you that the “Wireless connection succeeded”, which means your camera has connected to your WiFi successfully. After, you can set the camera name and tap”Save” in the “Set name” interface.
Note: If the process of adding a camera fails, please reset your camera and try adding again according to the above method.

8. Tapping on the play button within the video box will jump to tl “Camera Login” setting interface. For your security, please set a new username and password for your camera before viewing live video.
9. After completing the above steps, you can begin to use the camera.
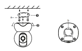
Hardware Installation
- Place the camera directly on a desk.

- Install the mounting plate on a wall or ceiling with the supplied fixing screws.
Note: Align points a and b to insert the camera base to the mounting plate. Rotate so that points a and b are aligned, which attaches the camera securely to the base.

Other Ways to Access Your Camera
■ Foscam VMS

Foscam VMS is a new tool for PCs. It does not require plug-ins and is compatible with Windows & Mac, supporting all Foscam HD cameras and up to 36 cameras at the same time. If you would like to manage multiple cameras, we suggest you install Foscam VMS. You can download the “Foscam VMS “Windows version from foscam.com/vms and can download the “Foscam VMS” Mac version from the APP store: https://apps.apple.comicn/app/foscamvms/id1521202507?mt=12
Note: For the best experience, please update Foscam VMS to the latest version!
Add the IP Camera
- Run Foscam VMS, then create a local administrator account and login.
- Tap the “+” icon on the Foscam VMS and follow the setup wizard to add your camera.
Please visit foscam.com/downloads to view the user manual and for additional detailed steps.

Important Notice
- Camera Username & Password
The camera username & password are used to access and manage your camera. Having a strong password can significantly improve the security of your camera. If you have forgotten either of them, please press the “Reset” button and hold it for more than 10 seconds while the camera is powered on. After hearing the voice prompt, release the button. The camera will automatically reboot and the default settings will be restored. You can then reconnect the camera by following this Quick Setup Guide. - Storage Media
Your camera supports cloud, NVR (Network Video Recorder), and Micro SD card (only supports exFAT and FAT32 format) storage formats. If you wish to record and playback large amounts of video, we recommend using a Foscam NVR device as well. - Firmware Upgrades You can upgrade the firmware of your camera with the Foscam App by using the new “One-Key-Online Upgrade” feature (Open the Foscam App and log in to the camera, select “Settings” >Firmware> “Firmware Upgrade”). You also can download the latest version to upgrade your camera from our official website foscam.com/upgrades.
- Safety Tips
- Please ensure that the proper power supply is used before using the camera.
- Please install the camera and bracket securely using the screws provided.
- Please use this product within the temperature range. When the ambient temperature is too high or too low, it may cause product failure.
- To avoid the risk of fire or electric shock, please keep your camera in a cool, dry place.
- Please keep the camera out of reach of small children.
- This product is not a toy; children should use the product under adult supervision.
- Change your default port to a greater range to help ensure the safety of your connection. How to change the default port: please visit foscam.com/downloads to view the user manual.
- Check the logs of your Foscam cameras frequently. Foscam Cameras have embedded logs telling you which IP addresses are accessing the camera.
Product Performance
WLAN frequency range: 2412MHz
– 2472MHz Maximum transmission power: c 21dBm
Wireless Standard: IEEE802.11b/g/n (2.4GHz)
Power Supply: DC 5V 1.5/2.0A 6W
Technical Support
If you have problems with your Foscam device, please contact the reseller you purchased from, or you can e-mail the company headquarters technical support team: supportPfoscam.com
Your valuable comments and suggestions on improving Foscam products are welcomed!
![]()
![]()
CE Certificate statement Website: httos://www.foscann.com/comanv/ce-certificate.html
Exporter and Importer Information Opened to Public:
httos://www.foscam.com/companv/open-information.html
Manufacturer: Shenzhen Foscam Intelligent Technology Co., Ltd Add: Room 901, Unit B, Building 7, Xingke 1st Street
Vanke Cloud City Phase 1, Nanshan Dist., Shenzhen, 518055, China
www.foscam.com
Due to product upgrades and other reasons, this guide may be slow to update, resulting in slight inconsistencies with the official website information. Please take the official website (www.foscam.com) information as the current standard.
FCC Caution:
Any changes or modifications not expressly approved by the party responsible for compliance could void the user’s authority to operate the equipment.
This device complies with part 15 of the FCC Rules. Operation is subject to the following two conditions: (1) This device may not cause harmful interference, and (2) this device must accept any interference received, including interference that may cause undesired operation.
IMPORTANT NOTE:
Note: This equipment has been tested and found to comply with the limits for a Class B digital device, pursuant to part 15 of the FCC Rules. These limits are designed to provide reasonable protection against harmful interference in a residential installation. This equipment generates, uses, and can radiate radio frequency energy and, if not installed and used in accordance with the instructions, may cause harmful interference to radio communications. However, there is no guarantee that interference will not occur in a particular installation. If this equipment does cause harmful interference to radio or television reception, which can be determined by turning the equipment off and on, the user is encouraged to try to correct the interference by one or more of the following measures:
—Reorient or relocate the receiving antenna.
—Increase the separation between the equipment and receiver.
—Connect the equipment into an outlet on a circuit different from that to which the receiver is connected.
—Consult the dealer or an experienced radio/TV technician for help.
FCC Radiation Exposure Statement:
This equipment complies with FCC radiation exposure limits set forth for an uncontrolled environment. This equipment should be installed and operated with a minimum distance of 20cm between the radiator& your body





















