Security IP Camera FI9902P
User’s guide

FI9902P Security IP Camera
To view this guide in other languages (e.g. Nederlands, Deutsch, Français, Español), and for detailed manuals, tools, etc., please visit foscam.com/downloads.
The product user guide contains product features, how to use, and the operating procedure. Read the user manual carefully to get the best experience and avoid unnecessary damage. Keep this manual for future reference.
Strictly comply with applicable laws and regulations at the place of use. The device must not be used in violation of applicable legislation or for illegal purposes.
The company Alza.cz a.s. bears no responsibility if the device is used in violation of applicable legislation or for illegal purposes.
Importer: Alza.cz a.s., Jankovcova 1522/53, 170 00 Prague 7, www.alza.cz
Package Contents
| IP Camera | |
| Power Adapter | |
| Ethernet Cable | |
| Quick Setup Guide | |
| Wi-Fi Antenna |
Security Tips
- Please change the camera’s password regularly, using a combination of numbers, letters and special characters.
- We recommend that you regularly update your camera with the latest available software and firmware to ensure the best experience with your camera.
Physical Description

NOTE: FI9800P does not support Micro SD card.
Warning: The cords on this product are a potential strangulation hazard. For child safety, please keep these cords out of the reach of children.
Setting Up Your Camera: Connection via the Foscam App (Recommended)
Scan the QR code below to download and install the Foscam APP.
To ensure a smoother video experience on your smart phone, it is recommended that your smart phone meet the following specifications:
- iOS: version 8.1 or higher.
- Android: 4.1 or higher, using a device with a Graphics Processing Unit (GPU).
Note: For the best experience, please update the APP to the latest version!
Wired Connection
- Please tighten the antenna clockwise and make sure it is in a vertical position.

- Connect the camera to your router with an Ethernet cable.
- Plug the power adapter into the camera, and then wait for about 1 minute.
- Make sure your smart phone is connected to the same WiFi network as the camera.
Tips: You need to connect to the 2.4GHz network if your WiFi router is dual-band—most newer routers have both 2.4GHz and 5GHz channels. For example, choose SSID: XXXXX_2.4G. - Open the Foscam APP and please register a Foscam account, or sign in if you have one already.
- After logging into Foscam APP, select “Tap to add a camera” or “+” icon on the upper right corner, then select “Scan the QR code” and scan the QR code that labelled at the bottom of your camera.
There are two options in the following steps, please pay attention to choose the corresponding adding method. - Please wait for a few seconds, you can tap “Configure WiFi” in “Configure WiFi” interface, then select your WiFi network and enter your WIFI’s password. After, you can set the camera name and tap “Save” in “Set name” interface.
Note: It is strongly recommended that you choose to configure WiFi at this step. - Please wait for a few seconds, you can tap “Configure WiFi” in “Configure WiFi” interface, then you tap “Skip” in the “WiFi Settings” interface. After, you can set the camera name and tap “Save” in “Set name” interface.
Note: If the adding process fails, please reset your camera and try adding again according to the above method. - Tapping on the play button in the video box will jump to the “Camera Login” setting interface. For your security, please set a new username and password for your camera before viewing live video.
- After completing the above steps, you can begin using your camera
Note: If you choose installation step 8, please refer to the following steps for configuring WiFi. After setting your Wifi, you can unplug your network cable and the camera works normally.
Configure WiFi
If you selected “Skip” in step 8, click play to enter the camera credentials interface > Tap the “gear” button > tap “WiFi Settings” > select your WiFi network and enter your WIFI’s password. After setting up successfully, you can view live video without the Ethernet cable.
Other Ways to Access Your Camera
Foscam VMS
Foscam VMS is a new tool for PCs. It does not require plug-ins and is compatible with Windows & Mac, supporting all Foscam HD cameras and up to 36 cameras at the same time. If you would like to manage multiple cameras, we suggest you install Foscam VMS. You can download the “Foscam VMS ” Windows version from foscam.com/vims, and can download the “Foscam VMS” Mac version from the APP store: https://apps.apple.com/cn/app/foscamvms/id1521202507?mt=12
Add the IP Camera
- Run Foscam VMS, then create a local administrator account and login.
- Tap the “+” icon on the Foscam VMS and follow the setup wizard to add your camera.
Please visit foscam.com/downloads to view the user manual and for additional detailed steps.
Note: For the best experience, please update Foscam VMS to the latest version!

Foscam Cloud Service
You can access the camera via the Foscam Cloud website: https://www.myfoscam.com
Some benefits of viewing your camera in the cloud:
- It’s simple and convenient to remotely access and manage all your WiFi security cameras.
- Enjoy the latest features first through Foscam Cloud including cloud storage and more.
- Getting started is fast—if you have already registered an account in the Foscam App, you can directly use the same login credentials for Foscam Cloud.
Hardware Installation

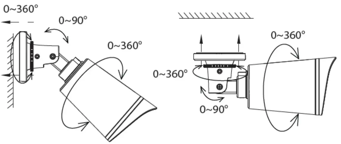
Point the camera at the desired location and use the screws provided to mount it.
Please Note: Ensure that rain or water will not reach the connector ports at the end of the pig tail wiring. These connectors are not weather-resistant.
Important Notice
Camera Username & Password
The camera username & password are used to access and manage your camera. Having a strong password can significantly improve the security of your camera.
If you have forgotten either of them, please press the “Reset” button and hold it for more than 10 seconds while the camera is powered on. After release the button. The camera will automatically reboot and the default settings will be restored.
You can then reconnect the camera by following this Quick Setup Guide.
Foscam Cloud Service Account Username & Password
Your Foscam Cloud service account and password may be used to access both the Foscam App and the Foscam Cloud service website. Therefore, you can register your
account username & password on either one.
Storage Media
Your camera supports cloud, NVR (Network Video Recorder), and Micro SD card (only supports FAT-32 format) storage formats. If you wish to record and play back large
amounts of video, we recommend using a Foscam NVR device as well.
Firmware Upgrade
You can upgrade the firmware of your camera with the Foscam App by using the new “One-Key Online Upgrade” feature (Open the Foscam App and Login to the camera,
select Settings > Firmware Upgrade).
You also can download the latest version to upgrade your camera from our official website foscam.com/upgrades.
Safety Tips
- Please ensure that the proper power supply is used before using the camera.
- Please install the camera securely using the screws provided.
- Please use this product within the temperature range. When the ambient temperature is too high or too low, it may cause product failure
- To avoid the risk of fire or electric shock, please keep your camera connectors in a cool, dry place.
- Please keep the camera out of reach of small children.
- This product is not a toy; children should use the product under adult supervision.
- Change your default port to a greater range to help ensure the safety of your connection. How to change the default port: please visit foscam.com/downloads to view the user manual.
- Check the logs of your Foscam cameras frequently. Foscam Cameras have embedded logs reminding telling you which IP addresses are accessing the camera.
Product Performance
WLAN frequency range: 2412MHz – 2472MHz
Maximum transmission power: < 19dBm
Wireless Standard: IEEE802.11b/g/n (2.4GHz)
Power Supply: DC 12V 1.0A 12W
Technical Support
If you have problems with your Foscam device, please contact the reseller you purchased from, or you can e-mail the headquarter company headquarters technical support team: [email protected] Your valuable comments and suggestions on improving Foscam products are welcomed!
WARRANTY CONDITIONS
A new product purchased in the Alza.cz sales network is guaranteed for 2 years. If you need repair or other services during the warranty period, contact the product seller
directly, you must provide the original proof of purchase with the date of purchase.
The following are considered to be a conflict with the warranty conditions, for which the claimed claim may not be recognized:
- Using the product for any purpose other than that for which the product is intended or failing to follow the instructions for maintenance, operation and service of the product.
- Damage to the product by a natural disaster, the intervention of an unauthorized person or mechanically through the fault of the buyer (e.g. during transport, cleaning by inappropriate means, etc.).
- Natural wear and aging of consumables or components during use (such as batteries, etc.).
- Exposure to adverse external influences, such as sunlight and other radiation or electromagnetic fields, fluid intrusion, object intrusion, mains overvoltage, electrostatic discharge voltage (including lightning), faulty supply or input voltage and inappropriate polarity of this voltage, chemical processes such as used power supplies, etc.
- If anyone has made modifications, modifications, alterations to the design or adaptation to change or extend the functions of the product compared to the purchased design or use of non-original components.
EU DECLARATION OF CONFORMITY
Identification data of the manufacturer’s / importer’s authorized representative:
Importer: Alza.cz a.s.
Registered office: Jankovcova 1522/53, Holešovice, 170 00 Prague 7
IČO: 27082440
Subject of the declaration:
Title: Security IP Camera
Model / Type: FI9902P
The above product has been tested in accordance with the standard (s) used to demonstrate compliance with the essential requirements laid down in the
Directive (s):
Directive No. 2014/53/EU
Directive No. 2011/65/EU as amended 2015/863/EU
Reference to harmonized standards:
EN 14543: 2017
Prague, 8/27/2020
WEEE
This product must not be disposed of as normal household waste in accordance with the EU Directive on Waste Electrical and Electronic Equipment (WEEE – 2012/19 / EU). Instead it shall be returned to the place of purchase or handed over to a public collection point for the recyclable waste. By ensuring this product is disposed of correctly, you will help prevent potential negative consequences for the environment and human health, which could otherwise be caused by inappropriate waste handling of this product. Contact your local authority or the nearest collection point for further details. Improper disposal of this type of waste may result in fines in accordance with national regulations.
All rights reserved. © 2020 Alza.cz a.s.


Tips: You need to connect to the 2.4GHz network if your WiFi router is dual-band—most newer routers have both 2.4GHz and 5GHz channels. For example, choose SSID: XXXXX_2.4G.














