FOSCAM SD2S Wireless PTZ Dome IP Camera

Product Information
The Wireless PTZ Dome IP Camera is a security camera that allows you to monitor your home or office remotely. It comes with a mounting bracket, power adapter, Ethernet cable, Wi-Fi antenna, and screwdriver. The camera supports dual-band 2.4GHz and 5GHz Wi-Fi networks and has a reset button, speaker, microphone, and Micro SD card slot. The camera also has LAN and power LED indicators and can be connected to a router with an Ethernet cable or via Wi-Fi using the Foscam app.
Product Usage Instructions
Before setting up the camera, please ensure that your smartphone meets the recommended specifications for the Foscam app. The app can be downloaded by scanning the QR code provided in the quick setup guide.
Wired Connection
- Tighten the antenna clockwise and make sure it is in a vertical position.
- Connect the camera to your router with an Ethernet cable.
- Plug the power adapter into the camera and wait for about 1 minute.
- Ensure that your smartphone is connected to the same Wi-Fi network as the camera.
- Open the Foscam app and register a Foscam account or sign in if you have one already.
- Select “Tap to add a camera” or the + icon on the upper right corner.
- Select “Scan the QR code” and scan the QR code located at the bottom of your camera.
- Choose the corresponding adding method when prompted.
- If configuring Wi-Fi, select your Wi-Fi network and enter your Wi-Fi password. Set the camera name and tap “Save.”
- The camera is now added successfully and ready to use.
Security Tips
- Change the camera’s password regularly using a combination of numbers, letters, and special characters.
- Regularly update the camera with the latest available software and firmware.
- Keep the cords out of the reach of children as they can be a potential strangulation hazard.
To view this guide in other languages (e.g. Nederlands, Deutsch, Français, Español), and for detailed manuals, tools, etc., please visit foscam.com/downloads.
Getting Started
Package Contents

Security Tips
- Please change the camera’s password regularly, using a combination of numbers, letters and special characters.
- We recommend that you regularly update your camera with the latest available software and firmware to ensure the best experience with your camera.
Physical Description

Warning

The cords on this product are a potential strangulation hazard. For child safety, please keep these cords out of the reach of children.
Setting Up Your Camera: Wired Connection via the Foscam App (Recommended)
Before You Get Started
Scan the QR code below to download and install the Foscam APP.

To ensure a smoother video experience on your smart phone, it is recommended that your smart phone meet the following specifications:
- iOS: version 8.1 or higher.
- Android: 4.1 or higher, using a device with a Graphics Processing Unit (GPU).
Note: For the best experience, please update the APP to the latest version!
Wired Connection
- Please tighten the antenna clockwise and make sure it is in a vertical position.

- Connect the camera to your router with an Ethernet cable.
- Plug the power adapter into the camera, and then wait for about 1 minute.
- Make sure your smart phone is connected to the same WiFi network as the camera.

Tips: The camera supports dual-band 2.4GHz and 5GHz WiFi networks, so you can choose the channel with the stronger signal to use. For example, choose your SSID: XXXXX_2.4G or XXXXX_5G.
- Open the foscam APP and please register a Foscam account, or sign in if you have one already.
- After logging into Foscam APP, select “Tap to add a camera” or “+” icon on the upper right corner, then select “Scan the QR code” and scan the QR code that labeled at the bottom of your camera.

- There are two options in the following steps, please pay attention to choose the corresponding adding method.
- Please wait for a few seconds, you can tap “Configure WiFi” in the “Configure WiFi” interface, then select your WiFi network and enter your WiFi’s password. After, you can set the camera name and tap “Save” in “Set name” interface.
Note: It is strongly recommended that you choose to configure WiFi at this step. Skip - Please wait for a few seconds, you can tap “Configure WiFi” in”Configure WiFi” interface, then you tap “Skip” in the “WiFi Settings” interface. After, you can set the camera name and tap “Save” in “Set name” interface.

- Note: If the adding process fails, please reset your camera and try adding again according to the above method.

- Please wait for a few seconds, you can tap “Configure WiFi” in the “Configure WiFi” interface, then select your WiFi network and enter your WiFi’s password. After, you can set the camera name and tap “Save” in “Set name” interface.
- Tapping on the play button in the video box will jump to the “Camera Login” setting interface. For your security, please set a new username and password for your camera before viewing live video.

- After completing the above steps, you can begin using your camera.
Note: If you choose installation step 7.2, please refer to the following steps for configuring WiFi. After setting your WIFi, you can unplug your network cable and the camera works normally.
Configure WiFi
If you selected “Skip” in step 7, click play to enter the camera credentials interface > Tap the “
” button > tap “WiFi Settings” > select your WiFi network and enter your WiFi’s password. After setting up successfully, you can view live video without the Ethernet cable.
Other Ways to Access Your Camera
Foscam VMS
Foscam VMS is a new tool for PCs. It does not require plug-ins and is compatible with Windows & Mac, supporting all Foscam HD cameras and up to 36 cameras at the same time. If you would like to manage multiple cameras, we suggest you install Foscam VMS. You can download the “Foscam VMS ” Windows version from foscam.com/vms, and can download the “Foscam VMS” Mac version from the APP store: https://apps.apple.com/cn/app/foscamvms/id1521202507?mt=12
Note: For the best experience, please update Foscam VMS to the latest version!
Add the IP Camera
- Run Foscam VMS, then create a local administrator account and login.
- Tap the “+” icon on the Foscam VMS and follow the setup wizard to add your camera.
Please visit foscam.com/downloads to view the user manual and for additional detailed steps.
Foscam Cloud Service
You can access the camera via the Foscam Cloud website: https://www.myfoscam.com
Some benefits of viewing your camera in the cloud:
- It’s simple and convenient to remotely access and manage all your WiFi security cameras.
- Enjoy the latest features first through Foscam Cloud including cloud storage and more.
- Getting started is fast—if you have already registered an account in the Foscam App, you can directly use the same login credentials for Foscam Cloud.
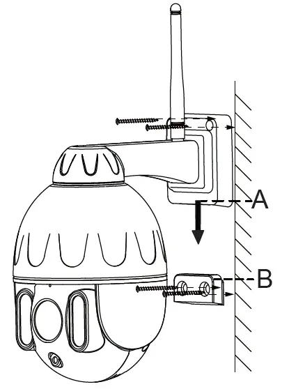
Hardware Installation

- Screw the mount on the wall with the two screws provided.
- To attach the camera base A to the mounting bracket B, insert the base into the bracket as pictured.
- Screw the camera to the wall with the two screws provided.
Important Notice
Camera Username & Password
The camera username & password are used to access and manage your camera. Having a strong password can significantly improve the security of your camera. If you have forgotten either of them, please press the “Reset” button and hold it for more than 10 seconds while the camera is powered on. After release the button. The camera will automatically reboot and the default settings will be restored. You can then reconnect the camera by following this Quick Setup Guide.
Foscam Cloud Service Account Username & Password
Your Foscam Cloud service account and password may be used to access both the Foscam App and the Foscam Cloud service website. Therefore, you can register your account username & password on either one.
Storage Media
Your camera supports cloud, NVR (Network Video Recorder), and Micro SD card (only supports FAT-32 format) storage formats. If you wish to record and play back large amounts of video, we recommend using a Foscam NVR device as well.
Firmware Upgrade
You can upgrade the firmware of your camera with the Foscam App by using the new “One-Key Online Upgrade” feature (Open the Foscam App and Login to the camera, select Settings > Firmware Upgrade). You also can download the latest version to upgrade your camera from our official website foscam.com/upgrades.
Safety Tips
- Please ensure that the proper power supply is used before using the camera.
- Please install the camera securely using the screws provided.
- Please use this product within the temperature range. When the ambient temperature is too high or too low, it may cause product failure.
- To avoid the risk of fre fire or electric shock, please keep your camera connectors in a cool, dry place.
- Please keep the camera out of reach of small children.
- This product is not a toy; children should use the product under under adult supervision.
- Change your default port to a greater range to help ensure the safety of your connection. How to change the default port: please visit foscam.com/downloads to view the user manual.
- Check the logs of your Foscam cameras frequently. Foscam Foscam Cameras have embedded logs reminding telling you which IP addresses addresses are accessing the camera.
Product Performance
Technical Support
- CE Certificate statement Website: https://www.foscam.com/company/ce-certificate.html
- Exporter and Importer Information Opened to Public: https://www.foscam.com/company/open-information.html
Manufacturer: Shenzhen Foscam Intelligent Technology Co., Ltd Addr: Room 901, Unit B, Building 7, Xingke 1st Street Vanke Cloud City Phase 1, Nanshan Dist., Shenzhen, 518055, China
Due to product upgrades and other reasons, this guide may be slow to update, resulting in slight inconsistencies with the official website information. Please take the official website (www.foscam.com) information as the current standard.


























