Quick Start Guide
O2P25X
O2P25X PTZ Network Dome Camera
Welcome
Thank you for purchasing this PTZ camera!
This owner’s manual is designed to be a reference tool for your system.
Please read this manual carefully before operating the unit and retain it for future reference.
Should you require any technical assistance, contact Speco Technologies Tech Support at 1-800-645-5516
Important Safeguards and Warning
1. Electrical safety
All installation and operation here should conform to local electrical safety codes.
Use a certified/listed 24VDC/AC power supply only.
Please note: Do not connect two power supplying sources to the device at the same time; it may result in device damage! The product must be grounded to reduce the risk of electric shock.
Improper handling and/or installation could run the risk of fire or electrical shock.
2. Environment
Heavy stress, violent vibration or exposure to water is not allowed during transportation, storage and installation.
This product should be installed in a cool, dry place away from direct sunlight and heat sources.
Do not install the product in extreme temperature conditions.
Do not expose the camera to electromagnetic radiation. Otherwise it may result in CMOS sensor failure.
Do not block any ventilation openings.
Do not allow water and liquid intrusion into the camera.
3. Operation and Daily Maintenance
Please shut down the device and then unplug the power cable before you begin any maintenance work.
Do not touch the CMOS sensor optic component. You can use a blower to clean the dust on the lens surface.
Always use the dry soft cloth to clean the device. If there is too much dust, use a cloth dampened with a small quantity of neutral detergent. Finally use the dry cloth to clean the device.
Please use a professional optical cleaning method to clean the enclosure. Improper enclosure cleaning (such as using cloth) may result in poor IR functionality and/or IR reflection.
The grounding holes of the product are recommended to be grounded to further enhance the reliability of the camera.
Warning
This camera should be installed by qualified personnel only.
All the examination and repair work should be done by qualified personnel.
Any unauthorized changes or modifications could void the warranty.
Statement
This guide is for reference only.
Product, manuals and specifications may be modified without prior notice. Speco.
Technologies reserves the right to modify these without notice and without incurring any obligation.
Speco Technologies is not liable for any loss caused by improper operation.
Note:
Before installation, check the package and make sure that all components are included.
Contact your rep or Speco customer service department immediately if something is broken or missing in the package.
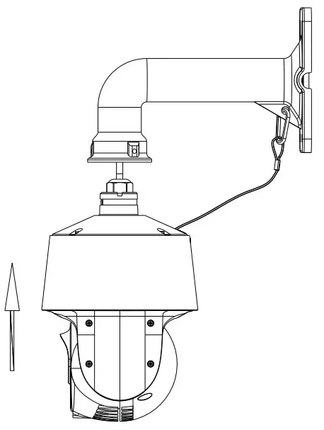
Overview

- Ethernet connector
- Power connector
- Safety wire
Cable Connection
Connecting Network Cable
- Loosen the nut from the main element.
- Run the network cable (without RJ 45 connector) through the both elements. Then crimp the cable with RJ 45 connector.
- Connect the cable to the water-proof connector. Then tighten the nut and the main cover.
Installation
Please make sure the wall is strong enough to bear the dome camera’s weigh and the camera is powered off during installation.
This PTZ camera supports wall or ceiling mounting. Please select a way to install as needed. The following instructions are for reference only.
- Micro SD Card Installation
1. Loosen the four screws of the cover and then remove the cover.
2. Insert a micro SD card as indicated above and then install the cover back. - Wall Mounting
1. Pull the cables through the bracket.
2. Secure the PTZ camera to the bracket with screws.
3. Drill the screw holes on the wall according to the drill template. Then insert the plastic plugs into the holes.
4. Insert two screws to the holes as indicated by the arrows (left) and leave 12mm clearance.
5. Connect the cables and then hang the bracket on the wall.
6. Attach the bracket to the wall with four screws.
Web Operation and Login
IP Scanner can search for the device on the local network.
- Operation
1. Make sure that the camera and the PC are connected to the same local network. The camera is set to DHCP by default.
2. Install IP Scanner from the CD and run it after installation.
3. In the device list, you can view the IP address, model number, and MAC address of each device. Select the applicable device and double click to open up the web viewer. You can also manually enter the IP address in the address bar of the web browser (Internet Explorer 8 and up).
The login interface is shown above. Default user name is admin and password is 1234. After logging in, follow directions to install applicable plugins.

1. Loosen the four screws of the cover and then remove the cover.
2. Insert a micro SD card as indicated above and then install the cover back.
2. Secure the PTZ camera to the bracket with screws.
3. Drill the screw holes on the wall according to the drill template. Then insert the plastic plugs into the holes.
4. Insert two screws to the holes as indicated by the arrows (left) and leave 12mm clearance.
5. Connect the cables and then hang the bracket on the wall.
6. Attach the bracket to the wall with four screws.
3. In the device list, you can view the IP address, model number, and MAC address of each device. Select the applicable device and double click to open up the web viewer. You can also manually enter the IP address in the address bar of the web browser (Internet Explorer 8 and up).


















