Quick Start Guide
O4P4X2![]()
O4P4X2 Megapixel Network IR Outdoor PTZ Camera
Welcome
Thank you for purchasing this PTZ camera!
This owner’s manual is designed to be a reference tool for your system.
Please read this manual carefully before operating the unit and retain it for future reference.
Should you require any technical assistance, contact Speco Technologies Tech Support at 1-800-645-5516
Important Safeguards and Warning
- Electrical safety
All installation and operation here should conform to local electrical safety codes.
Use a certified/listed 12VDC Class 2 power supply or adequate PoE switch.
Please note: The product must be grounded to reduce the risk of electric shock.
Improper handling and/or installation could run the risk of fire or electrical shock. - Environment
Do not expose the unit to heavy stress, violent vibration or long-term exposure to water and humidity during transportation, storage, and/or installation.
Do not install near sources of heat.
Only install the product in environments inside the specification operating temperature and humidity range.
Do not install the camera near power lines, radar equipment or other electromagnetic radiation.
Do not block any ventilation openings if any.
Use all the weatherproofing hardware requirement to minimize weather intrusion. - Operation and Daily Maintenance
Please shut down the device and then unplug the power cable before you begin any maintenance work.
Do not touch the CMOS sensor optic component. You can use a blower to clean the dust on the lens surface.
Always use the dry soft cloth to clean the device. If there is too much dust, use a cloth dampened with a small quantity of neutral detergent. Finally use the dry cloth to clean the device.
Please use a professional optical cleaning method to clean the enclosure. Improper enclosure cleaning (such as using cloth) may result in poor IR functionality and/or IR reflection.
The grounding holes of the product are recommended to be grounded to further enhance the reliability of the camera.
Warning
This camera should be installed by qualified personnel only.
All the examination and repair work should be done by qualified personnel.
Any unauthorized changes or modifications could void the warranty.
Statement
This guide is for reference only.
Product, manuals and specifications may be modified without prior notice. Speco Technologies reserves the right to modify these without notice and without incurring any obligation.
Speco Technologies is not liable for any loss caused by improper operation.
Note:
Before installation, check the package and make sure that all components are included.
Contact your rep or Speco customer service department immediately if something is broken or missing in the package.
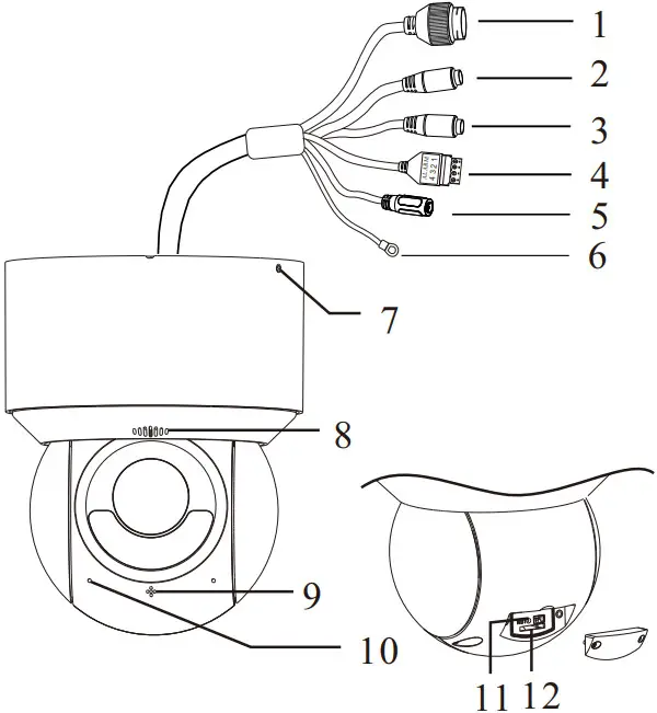
Overview
![]()
- Ethernet connector (PoE+)
- MIC-Audio input (3.5mm)
- HP-Audio output (3.5mm)
- Alarm input/output
- DC12V Power jack
- Ground
- Lock Screw
- Loudspeaker
- Light Sensor
- Microphone
- Reset*
- Memory Card Slot
*Reset: After the camera is powered on, press and hold the reset button for more than 5s to reset to the factory default settings.
Installation
Please make sure the wall is strong enough to bear the dome camera’s weight. Please make sure the camera is powered off during installation.
◆ Install SD Card
![]()
- Loosen the two screws of the cover and then remove the cover.

- Insert a micro SD card as indicated above and then install the cover back.
◆ Install the PTZ camera
- Unscrew the lock screw and then remove the adapter.

- Use four screws provided to install the adapter to the ceiling.

- Align the three screw holes of the adapter with the screws of the mounting base and then put these screws into these screw holes. After that, turn the mounting base clockwise to secure the PTZ camera.

- Adjust the position of the PTZ camera and then tighten the lock screw on the side. Note that the marked position should be the front of the camera.

◆ Install the PTZ camera with an optional wall mounting bracket (Wall mount model WMT2)
- Unscrew the lock screw and then remove the adapter. Stick spacers on the back of the hole B.

- Install each part of the bracket and then mount the wall mounting bracket to the wall with three tapping screws.
- Attach the adapter to the brackt as shown in the following picture.
- Tighten the lock screw on the side of the PTZ camera to secure the camera and the adapter.
![]()
◆ Install the PTZ camera with an optional ceiling mounting bracket (Ceiling Mount model CLT5)
- Unscrew the lock screw and then remove the adapter. Stick spacers on the back of the hole B.

- Install each part of the bracket and then mount the ceiling mounting bracket to the ceiling with three tapping screws.
- Attach the adapter to the brackt as shown in the following picture.
- Tighten the lock screw on the side of the PTZ camera to secure the camera and the adapter.

Cable Connection
Connecting Alarm Input/Output
The max. load of alarm output: 30VDC, 1A
Web Operation and Login
IP Scanner can search for the device on the local network.
- Operation
① Make sure that the camera and the PC are connected to the same local network. The camera is set to DHCP by default.
② Install IP Scanner from the CD and run it after installation.
③ In the device list, you can view the IP address, model number, and MAC address of each device. Select the applicable device and double click to open up the web viewer. You can also manually enter the IP address in the address bar of the web browser.
The login interface is shown above. Default user name is admin and password is 1234. After logging in, follow directions to install applicable plugins if prompted.














