MI 360° Home Security Camera 2K Pro

Product Overview
Read this manual carefully before use, and retain it for future reference. The nameplate of this camera is located on its bottom.

Package Contents:
- Mi 360° Home Security Camera 2K Pro,
- power adapter,
- charging cable,
- wall mounting kit,
- user manual
Installation
The Mi 360° Home Security Camera 2K Pro can be placed on horizontal surfaces, such as desks, dining tables, and coffee tables. It can also be mounted on a wall.
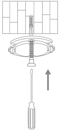
Mounting the camera on a wall:
- First use a pencil to mark the positions for the base mounting holes on the wall, then drill two holes at the marked positions. The diameter of each hole is approximately 6 mm, and the depth is approximately 30 mm.

- Insert a plastic wall plug into each drilled hole.

- Place the side of the base with arrows facing forward, and then align the holes. Insert the screws and then tighten them into the wall plugs with a Phillips head screwdriver

- Align the grooves on the bottom of the camera with the raised part on the base, and then turn it clockwise until it locks into place.

Notes:
- The wall must be able to support at least three times the total weight of the camera.
- To prevent possible injury, the camera must be securely fixed to the ceiling or wall according to the installation instructions.
How to Use
Installing a MicroSD card
Make sure the camera is turned off. Push the lens upward to reveal the MicroSD card slot. Insert the microSD card into the card slot with its contact points facing downward.
Note: Disconnect the camera from the power before installing or removing a MicroSD card. Please use a genuine MicroSD card (up to 32GB) manufactured by a qualified supplier. It is recommended to use a card with a reading/writing speed of no less than U1/Class 10.
Turning on the camera
Plug the charging cable into Micro-USB port on the back, the camera automatically turns on, and the indicator quickly blinks orange.
Note: When the camera is working, do not turn the lens of the camera nor force it to rotate. If the positioning of the lens is inaccurate, please calibrate it in the Mi Home/Xiaomi Home app.
Indicator
Blue: Connected successfully/Working properly
Blinking blue: Network error
Quickly blinking orange: To be connected
Slowly blinking orange: Updating
Connect with Mi Home/Xiaomi Home App
This product works with Mi Home/Xiaomi Home app *. Control your device, and interact it and other smart home devices with Mi Home/Xiaomi Home app.
Scan the QR code to download and install the app. You will be directed to the connection setup page if the app is installed already. Or search “Mi Home/Xiaomi Home” in the app store to download and install it. Open Mi Home/Xiaomi Home app, tap “+” on the upper right, and then follow prompts to add your device. The app is referred to as Xiaomi Home app in Europe (except for Russia). The name of the app displayed on your device should be taken as the default.
Note: The version of the app might have been updated, please follow the instructions based on the current app version. Make sure the camera turns on and the network connection is stable during connecting. The indicator is quickly blinking orange when waiting for a connection, and turns into blue once the camera is successfully connected.
Restoring factory settings
In case the network the camera is connected to, or the Mi account the camera is paired with has to be changed, use a pin to press and hold the reset button for about five seconds to restore factory settings. Then reconnect the network and the app with the camera.
Note: Restoring factory settings will not delete the content on the MicroSD card.
Real-time Surveillance
In the app, you can view the real-time surveillance, adjust the sharpness of the image, adjust the horizontal and vertical angles, capture and record, and make calls.
Infrared Night Vision
The camera can automatically switch to night vision mode at night according to the change in ambient light. The camera is equipped with built-in infrared night vision lights reaching a night vision distance of up to 9 meters, which enables it to clearly capture videos in the dark.
Playback
- The playback feature of the camera is only available when a compatible MicroSD card is installed.
- Once a MicroSD card is installed and the camera is plugged in, it will automatically start recording video. Tap the playback button in the app, then drag the timeline to select the time period you want to playback. The maximum supported playback speed is 16x.
Home Surveillance Assistant
- When the home surveillance assistant is enabled, the camera will record videos if it detects human movement and changes in real-time within its surveilled area. Then you will get the app push notification.
- You can enable or disable the function of automatic surveillance in the app.
- You can set 24-hour, daytime, nighttime, custom period surveillance, alert sensitivity and alert time intervals, etc.

Video Sharing
In the app, you can select the device sharing option in the settings menu to share the camera with others. The users, you share the camera with, need to download the Mi Home/Xiaomi Home app and log in with their Mi account to view contents.
Physical Lens Blocking
When recording is not required, tap ” ” in the app to enable the physical lens blocking function. The camera will automatically adjust the lens so that it is covered by the casing of the camera itself to protect the user’s privacy.
Note: Illustrations of product, accessories, and user interface in the user manual are for reference purposes only. Actual product and functions may vary due to product enhancements.
Precautions
- The operating temperature range for this camera is between -10°C and 40°C. Do not use the camera in environments with temperatures above or below the specified range.
- The camera is a precision electronic product. In order to ensure its normal operation, do not install the camera in environments with high humidity levels nor allow water to get into it.
- To improve the camera’s performance, do not place its lens facing or next to a reflective surface, such as glass windows or white walls, as this will cause the image to appear overly bright in areas close to the camera and darker in areas further away, or cause the camera to produce white images.
- Make sure the camera is installed in an area with a strong Wi-Fi signal. Do not place the camera near the objects that may affect its Wi-Fi signal, such as metal objects, microwave ovens.
- Under normal use of condition, this equipment should be kept a separation distance of at least 20 cm between the antenna and the body of the user.
WEEE Information
All products bearing this symbol are waste electrical and electronic equipment (WEEE as in directive 2012/19/EU) which should not be mixed with unsorted household waste. Instead, you should protect human health and the environment by handing over your waste equipment to a designated collection point for the recycling of waste electrical and electronic equipment, appointed by the government or local authorities. Correct disposal and recycling will help prevent potential negative consequences to the environment and human health. Please contact the installer or local authorities for more information about the location as well as terms and conditions of such collection points.
EU Declaration of Conformity
Hereby, Shanghai Imilab Technology Co., Ltd. declares that the radio equipment type Mi 360°Home Security Camera 2K Pro is in compliance with Directive 2014/53/EU. The full text of the EU declaration of conformity is available at the following internet address: http://www.mi.com/global/service/support/declaration.html
Specifications
Name: Mi 360° Home Security Camera 2K Pro
Model: MJSXJ06CM Net Weight: 349 g
Item Dimensions: 122 × 78 × 78 mm Input: 5 V 2 A
Viewing Angle: 110° Resolution: 1296p
Aperture: F1.4 Video Codec: H.265
Operating Temperature: -10°C to 40°C
Compatible with: Android 4.4 & iOS 9.0 or above
Storage: MicroSD card (up to 32 GB)
Wireless Connectivity: Wi-Fi IEEE 802.11a/b/g/n/ac 2.4 GHz/5 GHz,
Bluetooth 4.2
Wi-Fi Operation Frequency: 2412–2472 MHz
Wi-Fi Maximum Output Power: 16 dBm
Bluetooth Operation Frequency: 2412–2472 MHz
Bluetooth Maximum Output Power: 2 dBm
Wi-Fi Operation Frequency: 5150–5350 MHz/5460–5720 MHz/5725–5825 MHz
Wi-Fi Maximum Output Power: 13 dBm
Importer:
Beryko s.r.o.
Na Roudné 1162/76, 301 00 Plzeň
www.beryko.cz
For further information, please go to www.mi.com
Manufactured by: Shanghai Imilab Technology Co., Ltd. (a Mi Ecosystem company)
Address: Room 001A, Floor 11, Block 1, No. 588 Zixing Road, Minhang District, Shanghai, China
























