MI Vacuum Cleaner Light User Manual

Safety Instructions
This product is for household use only. Read this manual carefully before use, and retain it for future reference.
- This appliance can be used by children aged from 8 years and above and persons with reduced physical, sensory or mental capabilities or lack of experience and knowledge if they have been given supervision or instruction concerning use of the appliance in a safe way and understand the hazards involved. Children shall not play with the appliance. Cleaning and user maintenance shall not be made by children without supervision.
- The vacuum cleaner is not a toy. Children may not play with or operate this product. Please exercise caution when using the vacuum cleaner near children. Do not allow children to clean or maintain the vacuum cleaner unless supervised by a parent or guardian.
- Only use the vacuum cleaner on dry indoor surfaces. Do not install, charge, or use this product outdoors, such as in bathrooms, or near a pool.
- Do not touch the plug or any part of the vacuum cleaner with wet hands.
- To reduce the risk of fire, explosion, or personal injury, check to make sure the lithium-ion battery and charger are undamaged before use. Do not use the vacuum cleaner if either the battery or charger is damaged.
- The electric floor brush, extension rod, and the vacuum cleaner are electrically conductive and should not be immersed in water or other liquid. Make sure allparts are thoroughly dry after you carry out cleaning on them.
- To prevent injury caused by moving parts, turn off the vacuum cleaner before cleaning the Electric floor brush. The Electric floor brush, dust compartment, and filter must all be properly installed before using the vacuum cleaner.
- If the power adaptor becomes damaged, it must be replaced with a genuine component purchased from the manufacturer or after-sales service department.
- Do not use the vacuum cleaner to pick up flammable or combustible liquids, such as gasoline, bleach, ammonia, or drain cleaners; nor other liquids like water.
- Do not use the vacuum cleaner to pick up drywall particles, ashes like fireplace ash, or smoking or burning materials such as coal, cigarette butts or matches.
- Do not use the vacuum cleaner to pick up sharp or hard objects, such as glass, nails, screws, or coins, which may damage the product.
- Keep hair, loose clothing, fingers, and other parts of the body away from the vacuum cleaner’s openings and moving parts. Do not point the suction opening, extension rod, or other accessories at your eyes or ears or put them in your mouth.
- Do not put any object into the vacuum cleaner’s openings, nor use the vacuum cleaner with any opening blocked. Keep free of dust, lint, hair, or other items which may reduce airflow.
- Do not rest the vacuum cleaner against a chair, table, or other unstable surfaces, as this may cause damage to the product or personal injury. If the vacuum cleaner malfunctions because of being knocked over or damaged, please contact the authorized service department. Never attempt to disassemble the vacuum cleaner on your own.
- Only use the original charger to charge the product in environments with an ambient temperature of 0°C to 35°C. Otherwise, the battery may damage.
- The dust compartment cover, pre-filter, cyclone assembly, and HEPA filter must all be properly installed prior to using the vacuum cleaner.
- Make sure the vacuum cleaner is unplugged when not used for extended periods as well as prior to performing any maintenance or repairs.
- Please be extra careful when using the vacuum cleaner to clean stairs.
- Fire Hazard Warning: Do not apply any type of fragrance to the vacuum cleaner’s filter. These types of products are known to contain flammable chemicals which
may cause the vacuum cleaner to catch fire. - DO NOT expose the appliance to fire as it may cause explosion.
- DO NOT expose or submerge the appliance in any water, salt water, or other liquids. This appliance contains batteries that are non-replaceable.
- Please strictly follow the instructions in this user manual when using the vacuum
- cleaner. Users are responsible for any loss or damage that may arise from improper use of the vacuum cleaner.
We Guangdong Deerma Technology Co., Ltd., hereby, declare that this equipment is in compliance with the applicable Directives and European Norms, and amendments. The full text of the EU declaration of conformity is available at the following internet address: http://www.mi.com/global/service/support/declaration.html
Product Overview
Equipped with a high-speed brushless motor, the Mi Vacuum Cleaner Light boasts
the features including the powerful suction and a high-efficiency filtration system.
- High-speed brushless motor: Run rapidly with a stable output of strong suction for quick vacuuming.
- Powerful suction: Fast suction of small and large particles with high efficiency to deep clean the whole house.
- High-efficiency filtration: The cyclonic separation system which is composed of fine steel mesh, filter cotton, and a HEPA filter, separates the large particle dust from the fine dust, then traps the dust so that it doesn’t come back out to prevent secondary pollutants.
- Lightweight and multi-purpose: The compact and lightweight vacuum cleaner works with accessories such as a light metal extension rod, electric floor brush,
flat nozzle, and long nozzle to clean the whole house easily and efficiently.
| Package Contents | |
| Name | Quantity |
| Vacuum cleaner | 1 |
| Extension rod | 1 |
| Electric floor brush | 1 |
| Flat nozzle | 1 |
| Long nozzle | 1 |
| User manual | 1 |
| Wall Mount | 1 |
| Power adapter | 1 |
| Wall plug | 2 |
| Screw | 2 |
Product Overview

- On/Off Button 9 Floor Brush Window
- Suction Level Button 10 Wheels 11 Roller Brush
- MAX Indicator 12 Cleaning Soft Brush 13 Roller Brush Button
- Battery Level Indicator 16 Anti-slip Strip
- Dust Compartment 14 Dust Compartment Window
- Extension Rod Release Button 15 Vacuum Cleaner Charging Port
- Extension Rod
- Electric Floor Brush Release Button

- Power Adapter 6 Cyclone Separator Handle
- Dust Compartment 7 Long Nozzle
- HEPA Filter 8 Flat Nozzle
- Filter Cotton 9 Wall Mount
- Cyclone Separator
How to Install
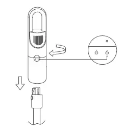
Assembling the Vacuum Cleaner
- Connect the extension rod to the vacuum cleaner, as illustrated, until you hear a click.
- Connect the electric floor brush to the extension rod, as illustrated, until you hear a click.

Installing the Accessories
1. The long nozzle and flat nozzle can be connected directly to the vacuum cleaner or the extension rod.
2. Insert the long nozzle or flat nozzle into the vacuum cleaner or extension rod vertically, as illustrated, until you hear a click.
Note: The long nozzle is suitable for cleaning dust from narrow gaps such as doors, windows, stairs and corners.
The flat nozzle is perfect for cleaning dust from sofa seats, cabinets, and desk or console surfaces.
Fixing the Wall Mount
- Drill two holes with each diameter of 6 mm on the wall at the height of 99.8–101.8 cm above the ground, and ensure there is a distance of 56 mm between two holes, then insert two wall plugs into the holes.
- Align the screw holes in the wall mount with the wall plugs, then use two screws (4×20 mm) to firmly secure the wall mount to the wall.
Note: It is recommended to fix the wall mount near an electrical outlet so that it can easily connect to the power.
How to Use
- Tuning on/off: Press and hold the on/off button for 1 second, then the vacuum cleaner starts working and it runs on the standard mode by default. Press the on/off button again to stop the vacuum cleaner. Press and hold the button for 5 seconds to turn off the vacuum cleaner.

- Switch mode: When the vacuum cleaner is running, press the suction level button to switch to the turbo mode (MAX level); meanwhile, the MAX
indicator will be white. Press the suction level button again to switch to the standard mode. - Battery level indicator: When the battery level is sufficient, the battery level indicator is white. When the vacuum cleaner runs at a low battery level, the indicator is red; if so, the vacuum
cleaner cannot be switched to the turbo mode. When the battery runs out, the vacuum cleaner automatically turns off.
Charging method
- Before charging, make sure that the power adapter is well connected to the electrical outlet and the vacuum cleaner.

- When charging, the battery level indicator is breathing. Once the battery is fully charged, the battery level indicator goes off.

- If you charge the vacuum cleaner while its battery is full, the battery level indicator will breath 20 seconds then go off.
Turning On/Off & Vacuuming
- Press and hold the on/off button for 1 second, then the vacuum cleaner starts working and it runs on the standard mode by default. You can switch the mode as needed.
- Hold the handle of the vacuum cleaner by pushing it back and forth to vacuum and clean the floor with the floor brush. You can also use the long nozzle or flat nozzle according to your needs.
- Press the on/off button again to stop the vacuum cleaner.

When the Vacuum Cleaner is Working
- When the battery level is low, the battery level indicator will blink red, please recharge the vacuum cleaner soon. If the vacuum cleaner runs on the standard mode, it cannot be switched to the turbo mode.
- If it is not recharged in time, the battery voltage will get too low, then the vacuum cleaner will automatically turn off to protect the battery.
- If the vacuum cleaner turns off due to running out of the battery, please recharge it in a timely manner. Otherwise, the battery may damage because of its over-discharging if it is not used for an extended period of time.
Notes
- There is a small amount of battery in the vacuum cleaner when you get it. It is recommended to connect the power adapter to fully charge the vacuum cleaner before its first use.
- When charging, the vacuum cleaner cannot be used
Storing Accessories
The accessories can be stored on the wall mount when not in use. Vertically insert the long nozzle or flat nozzle into the wall mount until you hear a click, with the release button as the direction shown in the figure. To remove the accessories from the wall mount, press the release button and simultaneously pull them down vertically.

Care & Maintenance
Note: Before cleaning or doing maintenance on the vacuum cleaner, turn it off and unplug it.
- Clean the dust compartment regularly to avoid the buildup of dust that could cause blockage and affect the suction.
- To prevent dust from falling on the floor, hold the dust compartment over a trash can to remove it.
Removing & Installing the Dust Compartment
- After vacuuming or when the dust compartment is full, pull out the extension rod and rotate the dust compartment in the direction shown in the figure. When ” ” is lined up with the
unlock symbol ” “, the dust compartment can be removed from the vacuum cleaner.
- Take the HEPA filter out of the dust compartment as shown in the figure, then remove the dust from its surface.

- Flip the Cyclone Separator handle over the trash can to remove the cyclone separator from the dust compartment, as shown in the figure. Empty the content in
the dust compartment and clear any dust from the surface of the cyclone separator.
- Place the cyclone separator and HEPA filter back into the dust compartment when the cleaning is completed. Align the unlock symbol ” ” with ” ” then rotate the dust compartment in the direction shown in the figure until ” ” is lined up with the lock symbol ” “. Once you hear a click, the duct compartment is securely installed onto the vacuum cleaner.

Installing the Cyclone Separator
Press the cyclone separator straight downwards until it reaches the end of the dust compartment.
Cleaning the Dust Compartment & Filter Assembly
Take the HEPA filter, filter cotton, and cyclone separator successively out of the dust compartment. Remove any dust on their surface, then rinse them with clean
water. Make sure they are thoroughly dry in a well-ventilated place away from direct sunlight before use. If necessary, you can replace the filter with the specified model of the HEPA filter.
Cleaning the Roller Brush
- Press the roller brush button as shown in the figure to pop open the roller brush cover, then pull out the roller brush to clean it. After it has been cleaned, put the roller brush back
and close the cover until you hear a click.
- Cut off the hair and fibers attached to the roller brush and remove them.
- When cleaning the vacuum cleaner, use a dry cloth. Do not use chemical solvents such as gasoline, alcohol, or lacquer thinner, as these will cause the shell to crack or fade.
- Make sure you turn off the vacuum cleaner before cleaning or performing maintenance.
- When the dust compartment is full, please empty it immediately. Otherwise, it may be blocked by the dirt, affecting the suction performance and causing the motor over-heated.
- It is recommended to replace the HEPA filter every 2–3 months. You may need to change it more often if it is used frequently.
Troubleshooting
| Issue | Possible Cause | Solution |
| The vacuum cleaner does not work. | 1. The battery level is low. 2. The vacuum cleaner is running for a long time so that it is overheated. 3. The vacuum cleaner is not powered on. 4. When the air duct has been clogged for eight seconds, the motor will stop running to protect overheating. 5. The motor or battery is damaged. | 1. Charge the vacuum cleaner. 2. Cool the vacuum cleaner down, then use it again. 3. Power on the vacuum cleaner. 4. Clear the foreign objects in the air duct, eletric floor brush, extension rod, or dust compartment. 5. Please contact the after-sales service department for help |
| The suction level decreases | 1. The dust compartment is full. 2. The electric floor brush is blocked by foreign objects. 3. The HEPA filter is blocked or not thoroughly dry after cleaning. | 1. Empty the content in the dust compartment. 2. Remove the foreign objects in the electric floor brush. 3. Clean the HEPA filter or thoroughly dry it. |
| The noise is extremely loud. | 1. The dust compartment is full. 2. The air duct is clogged up. | 1. Empty the content in the dust compartment. 2. Clear the foreign objects in the air duct, eletric floor brush, extension rod, or dust compartment. |
| The electric floor brush stops running. | 1. The electric floor brush is clogged so that it stops running for protection. 2. The electric floor brush does not work after connecting to power. | 1. Remove the objects tangled around the electric floor brush. 2. Please contact the after-sales service department for help |
| The vacuum cleaner cannot be charged. | 1. It is not well connected between the power adapter and the electrical outlet. 2. It is not well connected between the power adapter and the vacuum cleaner charging port. 3. The power adapter is damaged. | 1. Firmly plug the power adapter into the electrical outlet. 2. Securely connect the power adapter with the charging port. 3. Please contact the after-sales service department for help. |
| The battery level Indicator is blinking red and white alternately. | The power adapter is not compatible with the vacuum cleaner. | Only use the included power adapter to charge the vacuum cleaner. |
Note: Any issue occurred during use, please refer to the troubleshooting above for
the solution. If the problem still persists, please stop using the vacuum cleaner
immediately and contact the after-sales service for help.
Specifications
| Mi Vacuum Cleaner Light | |||
| Model | MJWXCQ03DY | Item Dimensions | 240 × 148 × 1132 mm |
| Dust Compartment Capacity | Approx. 0.5 L | Battery Capacity | 2500 mAh |
| Net Weight | Approx. 2.3 kg | Charging Time | Approx. 5 hours |
| Input Current | 0.5 A | Input Voltage | 26.0 V |
| Operating Power | 220 W | Noise Emission | ≤ 79 dB |
| Battery Service Life (excl. electric floor brush) | 45 minutes on standard mode | ||
| 13 minutes on turbo mode | |||
| Electric Floor Brush | |||
| Model | MJWXCQ03DY-DS | ||
| Operating Power | 15 W | Operating Voltage | 21.6 V |
| Power Adapter | |||
| Model | BLJ15W260050P-VA | Average Active Efficiency | 84.6% |
| Input | 100-240 V~ 50/60 Hz 0.5 A | Efficiency at Low Load (10%) | 71.43% |
| Output | 26.0 V 0.5 A 13.0 W | No-load Power Consumption | 0.10 W |
| Manufactured By | Zhongshan Baolijin Electronic Co., Ltd. | ||

All products bearing this symbol are waste electrical and electronic equipment (WEEE as in directive 2012/19/EU) which should not be mixed with unsorted household waste. Instead, you should protect human health and the environment by handing over your waste equipment to a designated collection point for the recycling of waste electrical and electronic equipment, appointed by the government or local authorities. Correct disposal and recycling will help prevent potential negative consequences to the environment and human health. Please contact the installer or local authorities for more information about the location as well as terms and conditions of such collection points.
Precautions for Battery Use
- The vacuum cleaner is in standby mode and cannot be used during charging.
- Only use the BLJ15W260050P-VA power adapter provided with the appliance.
- The lithium-on battery pack contains substances that are hazardous to the environment. Before disposing of the vacuum cleaner, please first remove the battery pack, then discard, or recycle it in accordance with local laws and regulations of the country or region it is used in.
Note: The vacuum cleaner must be turned off before removing the battery.The battery should be disposed of in a safe manner.
How to Remove the Battery
- Use a straight screwdriver to remove the on/off button and the button bracket, then use a tool to pray open the vacuum cleaner cover.
Next, use a screwdriver to unscrew the four screws. Then you can pull the handle and motor cover to separate the battery pack. - Remove the battery protective cover, then release the four screws on the cover with a screwdriver. Use a scissor to cut off the tin plate connecting the battery and PCB board.


- After removing the up-bracket, the battery pack can be taken out of from the down-bracket. Then you can dispose of the battery in accordance with local laws and regulations

Importer:
Beryko s.r.o. Na Roudné 1162/76, 301 00 Plzen www.beryko.cz



































