INSTRUCTIONS
EMERGENCY BATTERY BACKUP
RAB Lighting is committed to creating high-quality, affordable, well-designed and energy-efficient LED lighting and controls that make it easy for electricians to install and end users to save energy. We’d love to hear your comments. Please call the Marketing Department at 888-RAB-1000 or email: [email protected]

SM-9R-W/EMBB
IMPORTANT
READ CAREFULLY BEFORE INSTALLING FIXTURE. RETAIN THESE INSTRUCTIONS FOR FUTURE REFERENCE. RAB fixture must be wired in accordance with the National Electrical Code and all applicable local codes. THIS PRODUCT MUST BE INSTALLED IN ACCORDANCE WITH THE APPLICABLE INSTALLATION CODE BY A PERSON FAMILIAR WITH THE CONSTRUCTION AND OPERATION OF THE PRODUCT AND THE HAZARDS INVOLVED. TO PREVENT ELECTRICAL SHOCK, POWER SHOULD BE TURNED OFF AT THE FUSE BOX BEFORE INSTALLATION. SAFETY WARNINGS: Read all product labels and directions.
- CAUTION: RISK OF SHOCK-disconnect emergency and normal input power sources before servicing any equipment connected to this unit.
- CAUTION: Risk of fire or electric shock-This emergency battery pack installation requires knowledge of luminaire and electrical systems.
- CAUTION: Servicing of this equipment should be performed by qualified personnel only.
- CAUTION: Before installation, make certain the AC power to fixture is off.
- CAUTION: Verify that all replacement lamp types marked on the installed luminaire are also identified as suitable for use with this emergency battery pack.
- CAUTION: Suitable for use in 5°C -40°C (41°F-104°F) ambient temperatures.
- IMPORTANT: An unswitched AC power source is required (100-277 VAC, 50/60 Hz). This device is designed for fixtures listed for dry and damp locations.
- IMPORTANT: Customers are advised to charge emergency LED driver 24 hours every 6 months during storage.
- CAUTION: Do not use outdoors. Do not mount near gas or electric heaters.
- CAUTION: Equipment should be mounted in locations and at heights where it will not be subjected to tampering by unauthorized personnel.
- CAUTION: The use of accessory equipment not recommended by the manufacturer may cause an unsafe condition The emergency battery pack is not for in an air-handling fixture.
- CAUTION: Do not use this equipment for other than its intended use.
WHAT’S IN THE BOX

TOOLS NEEDED
Installation with J-BOX
A screw driver is needed for installation
INSTALLATION WITH J-BOX
- Make sure the POWER IS TURNED OFF at the source to the J-box in which you are installing the product.
- Insert 2pcs 25mm screws into J-Box holes, leaving about 15mm of space between the screw heads and J-Box. (Fig. 1)

- Connect the input wire of SM-9R-W/EMBB and J-box, white-white, black-black, L-OUT wire connect the wall switch L wire. Carefully tuck and pull J-box and the SM-9R-W/EMBB ground wire under cavity hole. Once wire connections are made, secure each with a wire nut. (Fig.2)

- Carefully tuck wires into J-Box. Align SM-9R-W/EMBB keyholes with J-box screws, then twist SM-9R-W/EMBB until the screws engage the narrow end of the keyholes. Tighten screws to secure. (Compatible with 3inch and 4inch J-box, need to install the corresponding keyholes). (Fig.3)

- Take off the mounting plate from surface mount accessory kit, use 2pcs 16mm screws to fix the mounting plate on the SM-9R-W/EMBB enclosure. (Fig.4)

- SM-9R-W/EMBB DRIVER-L wire connect surface mount L wire, DRIVER-N wire connect surface mount N wire.
6a) Surface Mount (Triac): Connect J-box, SM-9R-W/EMBB and Surface Mount ground wire.
6b) Surface Mount (0-10V): Connect J-box, SM-9R-W/EMBB and Surface Mount ground wire. DIM+ purple connect input+, DIM- pink connect input-.
Once wire connections are made, secure each with a wire nut. (Fig.5)
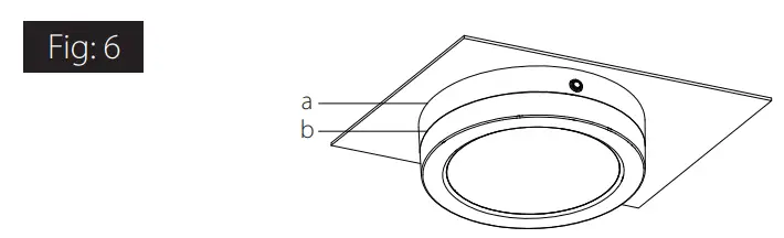
Carefully tuck wires into SM-9R-W/EMBB cavity, and raise the surface mount up into place. Turning surface mount clockwise to lock it in place. Caulk around the mounting surface edge (a&b) with silicone sealant. (Fig.6)

Wiring Diagram
(Note: Surface Mount 0-10V are applicable to dotted line, Surface Mount Triac are not applicable to dotted line.)

| LED Indicator State | Representation |
| Red Light flashing | Charging |
| Red Light On | Charging is full |
| Red Light off | Battery is discharging |
| Red light flash only one time when test switch is pressed and released. | Battery disconnected |
| Emergency Output Rating (Constant Voltage) | |
| Vdc | W max |
| 170 | 17.3 |
Note:
- Mains input voltage should match surface mount input voltage, not exceed the rated input voltage of surface mount.
- To operate for 90 minutes on emergency battery power, must charge for at least 24 hours.
- Close the wall switch, press the test button to cut the power and switch the system to emergency mode, the fixture will illuminate based on battery power.
Release the button, the fixture will power off and the light indicator will ficker or turn on for an extended period of time. This means the emergency function is operating as normal. - When the fixture is only powered by the emergency battery, the fixture will illuminate based on battery power. When the mains power is connected, it will automatically return to the normal mode.
TESTING PROCEDURES
- Press the test button to cut the power to the AC driver and switch the system to emergency mode.
- Release the test button to return to normal mode.
- Switch off the circuit breaker to simulate a full power outage.
Monthly
- Ensure that the test button light is illuminated.
- Conduct a 30-second discharge test by depressing the test button.
- The LED load should operate at reduced output.
Annually
- Allow a 24-hour charge before conducting test.
- Ensure that the test button light is illuminated.
- Conduct a full 90-minute discharge test.
- The unit should operate as intended for the duration of the test.
”Written records of the testing shall be kept by the owner for inspection by the authority having jurisdiction.”
SERVICING SHOULD BE PERFORMED BY QUALIFIED PERSONNEL.
COMPATIBLE PRODUCTS
| Type | SKU | Emergency Application Wattage | Emergency Application Lumen |
| Surface Mount (Triac) | SUM0FA-9R-18-9CCT-120-W | 17.2W | 1500LM |
| SUMOFA-9R-16-95CCT-UNVT-W | 16W | 1300 LM | |
| Surface Mount (0-10V) | SUMOFA-9R-16-95CCT-UNV-W | 16W | 1300 LM |
Visit rablighting.com for a list of compatible products.
© 2022 RAB LIGHTING Inc.
Cranbury, New Jersey 08512 USA
SM9REM-IN-0622
Easy Answers
rablighting.com
Visit our website for product info
Tech Help Line
Call our experts: 888 722-1000
e-mail
Answered promptly – [email protected]
Free Lighting Layouts Answered online or by request
RAB WARRANTY. RA8’s warranty is subject to all terms and conditions found at rablighting.com/warranty.






















