Honeywell 32003796-001 Cover Plate

INSTALLATION INSTRUCTIONS
APPLICATION
The 32003796-001Cover Plate is used to cover marks left on the wall by the old thermostat. It can be used with the VisionPRO™ TH8000 Series Thermostats.
Installation
When Installing this Product…
- Read these instructions carefully.
- Installer must be a trained, experienced service technician.
CAUTION
Electrical Hazard.
Can cause electrical shock or equipment damage.
Disconnect power supply before starting installation.
Mounting
The Cover Plate can be mounted on the wall when mounting with a TH8000 Series Thermostat. See Fig. 1 for dimensions.
Fig. 1. 32003796-001 Cover Plate dimensions.
- Use Cover Plate to mark and drill holes; install anchors, if necessary.
- Pull wire through Cover Plate and thermostat wallplate wiring opening.
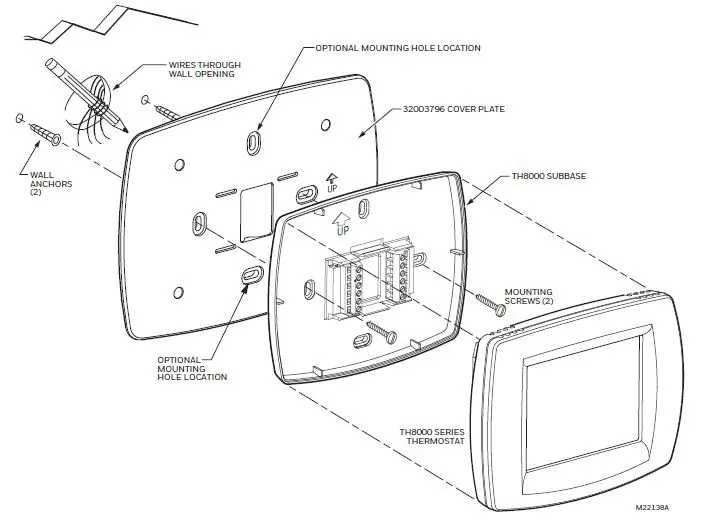
- Align Cover Plate and thermostat wallplate with the holes. Insert the screws included with the thermostat; then level and tighten the screws. See Fig. 2.
Fig. 2. Attaching TH8000 Series Thermostat, Subbase and 32003796 Cover Plate to the wall.
Resideo Technologies, Inc.
1985 Douglas Drive North, Golden Valley, MN 55422
1-800-468-1502
69-1721EFS—02 M.S. Rev. 01-20 | Printed in United States
www.resideo.com
©2020 Resideo Technologies, Inc. All rights reserved. The Honeywell Home trademark is used under license from Honeywell International, Inc. This product is manufactured by Resideo Technologies, Inc. and its affiliates.
Tous droits réservés. La marque de commerce Honeywell Home est utilisée avec l’autorisation d’Honeywell International, Inc.
Ce produit est fabriqué par Resideo Technologies, Inc. et ses sociétés affiliées.
Todos los derechos reservados. La marca comercial Honeywell Home se utiliza bajo licencia de Honeywell International, Inc.
Este producto es fabricado por Resideo Technologies, Inc. y sus afiliados.




















