
Honeywell MN12CES / MN10CESWW Manual
Voltage rating: 120V~60Hz
Power rating : 1100W (MN12CES)
Power rating : 900W (MN10CESWW)
Customer Support : 1-800-474-2147
USER TIPS
To ensure optimal efficiency of the product, keep doors and windows closed when it is used as an air conditioner or dehumidifier.
If the product is being used with the fan function only, an open window could improve air circulation.
Cooling and Dehumidifying Operation
Fan Operation
Important : Before installing the unit, place it UPRIGHT for 20 minutes before use to allow the refrigerant to stabilize.
• F ollow installation instructions to set up the unit.
• Plug the unit into a properly grounded circuit.
READ AND SAVE THESE INSTRUCTIONS
Improper handling can cause serious damage to the appliance.
WARNING
1. DO NOT operate the unit with a damaged plug or loose wall outlet. If the power
cord is damaged, it must be replaced by the manufacturer or an authorized service agent.
2. DO NOT cover the air intake and exhaust when in use.
3. This appliance is not intended for use by children. Children should be supervised and should not play on or around the appliance.
4. DO NOT place objects on or sit on the unit.
5. Always turn off and unplug the unit when cleaning or servicing.
6. If service is needed contact an authorized service agent.
7. Unplug the unit when stored or not in use.
8. DO NOT run the power cord under carpeting and rugs.
9. Use caution to prevent tripping on cord.
10. DO NOT use in areas where gasoline, paint or other flammable goods are stored.
11. Basic safety precautions should always be followed when using electrical appliances.
PARTS DESCRIPTION


1. Control Panel (Incl. Signal Receptor)
2. Air Outlet
3. Handle
4. Casters
5. Upper Drain Plug
6. Air Filter
7. Back Grill
8. Lower Drain Plug
9. Power Supply Cord
10. Exhaust Hose Connector
11. Remote Control
Installation Kit :
1. Window Bracket Kit………………………..1 Set
2. Window Bracket Panel Adapter……………….1 Piece
3. Plastic Pin………………………………2 Pieces
4. Hose Connector……………………………1 Piece
5. Plastic Hose……………………………..1 Piece

1. Install the plastic hose with window bracket adapter and hose connector on both sides. Ensure proper fit on both ends.
2. Adjust the window bracket as per width or height of your window and insert the plastic pins to fix at the desired position.

Note : Do not install the window bracket to your window. This step is required only to adjust it to the size of your window. The bracket should be removed from the window after the size is adjusted.
3. Connect the plastic hose to the hose connector on back of the unit. Push-in then rotate clockwise.

4. Connect the window bracket to the opposite end of the plastic hose. Ensure that all connections are tight and installed properly.

5. Connect the window bracket to the window.

6. The Portable Air Conditioner is now ready to use.
Note:
1. The supplied exhaust hose can be extended from 12 inches (1 foot) to 47 inches
(3.9 feet).
2. Do not bend (to the extent shown below) the exhaust hose. A bent hose will block exhaust air and cause the unit to malfunction or shut-off.

NOT RECOMMENDED

RECOMMENDED
Warning:
1. The length of the exhaust hose is determined by the product specifications. Do not replace or lengthen it as this could cause the unit to malfunction.
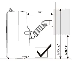
Make sure the back of the unit is at least 20 inches away from a wall.
2. Do not place the unit in front of curtains or drapes as this could obstruct the
airflow.
Touch Screen Control Panel

Power Control
The Power Control turns the unit on and off.
Mode Control
3 settings: Cool, Dehumidify and Fan A light will indicate which setting is currently being used.
• Cooling Mode
The unit works as an air conditioner. Adjust fan speed and air temperature to suit your desired comfort level. Temperature setting range is 61°F ~ 89°F
• Dehumidifying Mode
Air is dehumidified as it passes through the unit, without being in full cooling mode. If room temperature is higher than 77°F fan speed can be adjusted; otherwise fan speed is preset “LOW”.
Note : If the unit will be used mainly as a dehumidifier, do not connect the exhaust hose and let the warm air return in the room. Continuous drainage is then necessary and more efficient (refer page 14, Continuous Draining).
• Fan Mode
For air circulation without cooling.
Fan Speed Control
3 settings: High, Medium and Low.
Timer Control
Auto turn off:
With machine in running mode, press timer button to select the
number of hours you want the unit to run in air conditioning mode.
Auto turn on:
With machine in stand by mode, press the timer button to select
the number of hours until you want the unit to automatically start
running.
Temperature / Timer Set Controls
• Used for adjusting the timer and thermostat.
• The default display is room temperature.
• In cooling mode, when “ ▼ “ or “▲“ button is pressed, the set temperature is displayed and may be adjusted.
After 10 seconds the display will revert back to room temperature.
Temperature is only adjustable in cool mode.
The time is adjustable between 1~24 hours.
Note : By pressing both “ ▼ “ / “▲“ set buttons at the same
time, the display will toggle between Celsius and Fahrenheit.
Warning Light Condensed water may accumulate in the unit. If the internal tank
becomes full, the Power Light will flash and the unit will not operate until the unit has been drained (refer page 14, Water Condensation Drainage).
Remote Control
The functions work the same as the portable air conditioner’s touch controls. All key functions can be accessed from the remote control.

Note :
Do not place the remote control in direct sunlight.
Battery Installation: Remove the cover on the back of the remote control and insert two AAA batteries with ‘‘+’’ and ‘‘-’’ pointing in the proper direction.

Caution
• Use only two AAA or IEC R03 1.5V batteries.
• Remove the batteries if the remote control is not in use for a month or longer.
• All batteries should be replaced at the same time, do not mix with old batteries.
• Properly dispose of used batteries.
CLEANING & MAINTENANCE
Appliance Maintenance:
1. Turn off the appliance before disconnecting the power supply.
2. Always clean the appliance with a soft dry cloth.
Air Filter Maintenance:
The air filter should be cleaned every two weeks.
Clean it as follows:
1.Turn off the appliance and remove the air filter. (refer to page 5, #6)
2. Rinse it in lukewarm water. After cleaning, dry in a shaded and cool place, then reinstall.
Maintenance After Use:
1. If the appliance will not be used for a long time, be sure to drain the left-over water condensation.
2. Remove the lower drain plug (refer to page 14) and use a shallow pan to collect the water.
3.To dry excess moisture, run the unit in fan mode for 30 minutes before storing.
Clean and reinstall air filter.
4. Remove air hose and window bracket and store with the portable air conditioner.
WATER CONDENSATION DRAINAGE
When there is excess water condensation inside the unit, the air conditioner stops running and shows a warning light (refer to page 10). This warning light indicates that the water condensation needs to be drained using the following procedures:
Manual Draining
1. Water m ay need to be drained in high humidity areas
2. Unplug the unit from power source.
3. Place a shallow pan under the lower drain plug. See diagram.
4. Remove the lower drain plug.
5. Water will drain out and collect in the shallow pan.
6. After the water is drained, replace the lower drain plug firmly.
7. You can now turn on the unit.
Continuous Draining
While using the unit in dehumidifier mode, continuous drainage is recommended.
1. Unplug the unit from the power source.
2. Remove the upper drain plug. While doing this operation some residual water may spill so please have a pan to collect the water.
3. Connect the drain connector to a ¾” hose (not included). See diagram.
4. The water can be continuously drained through the hose into a floor drain or bucket.
5. You can now turn on the unit.

TROUBLESHOOTING GUIDE
The following troubleshooting guide addresses the most common problems. If problems persist, call customer service. Unplug and disconnect the appliance from the power source before attempting to troubleshoot.

TECHNICAL SPECIFICATIONS
Model: MN12CES
Voltage/Frequency: 120 V~ 60 Hz
Power Consumption: 1100W
Cooling capacity: 12000 BTU
Dehumidifying capacity: 70 pints/ 2 4 hours
Refrigerant Type: R-410A
Timer: 24 hour (ON / OFF)
Dimensions: (W) x (D) x (H) (inches) 15.2 X 18.1 X 29.3 inches
Weight(Kg): 68.3 lbs (31 Kg)
Electrical products should be properly disposed.
Please recycle where facilities exist. Check with your local authority or retailer for recycling.
SERVICE AND WARRANTY
5-YEAR LIMITED WARRANTY
1st year parts and labor.
5 years on all parts of the sealed system, consisting of the compressor,
evaporator, condenser and factory connected refrigerant tubing.
A. This warranty does not apply to any damage resulting from abusive, unreasonable use or damage. Defects that are the result of normal wear and tear will not be considered manufacturing defects under this warranty.
B. JMA NORTH AMERICA LLC IS NOT LIABLE FOR INCIDENTAL OR CONSEQUENTIAL
DAMAGES OF ANY NATURE. ANY IMPLIED WARRANTY OF MERCHANTABILITY OR
FITNESS FOR A PARTICULAR PURPOSE ON THIS PRODUCT IS LIMITED IN DURATION
TO THE DURATION OF THIS WARRANTY.
Some jurisdictions do not allow the exclusion or limitation of incidental or consequential damages or limitations on how long an applied warranty lasts, so the above limitations or exclusions may not apply to you. This warranty gives you specific legal rights, and you also may have other rights which vary from jurisdiction to jurisdiction. This warranty applies only to the original purchaser of this product from the original date of purchase.
C. At its option, JMA NORTH AMERICA LLC will repair or replace this product if it is found to be detective in material or workmanship.This warranty does not cover damage resulting from any unauthorized attempts to repair or from any use not in accordance with the instruction manual.
D. Please read the Instruction Manual carefully before setting up or using this product. If you believe this product to be suffering from a manufacturing fault, or if you have inquiries about this product, please contact our Customer Support:
CUSTOMER SUPPORT
JMA North America LLC
Ramsey, New Jersey 07446
Phone: 800-474-2147
Email: [email protected]
When contacting our Customer Support, please have the information below along with the proof of purchase. All warranty requests must be accompanied by a proof of purchase, which is a copy of the original receipt.
Model : …………………………………………
Date of purchase : ………………………………..
Purchased from : ………………………………….
JMA North America LLC
Ramsey, New Jersey 07446
Customer Support: 800-474-2147
E-mail: [email protected]
www.honeywellportableac.com
MN12CES&MN10CESWW_IM_Eng_USA_10
January 2013
© 2013 AirTek Int’l Corp. Ltd.
(JMATEK Int’l Group of Companies)
The Honeywell Trademark is used under license from
Honeywell International Inc.
Honeywell International Inc. makes no representation or
warranties with respect to this product.
This product is Manufactured by Airtek International
Corporation Limited.
![]()
![Honeywell Portable Air Conditioner [mn10chesww, Mn12chesww] User Manual Honeywell Portable Air Conditioner [mn10chesww, Mn12chesww] User Manual](https://static-data1.manualsee.com/1/img/462/16345/2020/12/Honeywell-Portable-Air-Conditioner.jpg)
![Honeywell Portable Air Conditioner User Manual [MN10CCS, MN10CHCS, MN12CCS, MN12CHCS, MN14CCS, MN14CHCS] Honeywell Portable Air Conditioner User Manual [MN10CCS, MN10CHCS, MN12CCS, MN12CHCS, MN14CCS, MN14CHCS]](https://manualsee.com/img/102/71384/2021/02/Honeywell-Portable-Air-Conditioner-User-Manual-MN10CCS-MN10CHCS-MN12CCS-MN12CHCS-MN14CCS-MN14CHCS.jpg)



![Honeywell Portable Air Conditioner(dual Hose) User Manual [mn10ccd, Mn10chcd, Mn12ccd, Mn12chcd, Mn14ccdmn14chcd] Honeywell Portable Air Conditioner(dual Hose) User Manual [mn10ccd, Mn10chcd, Mn12ccd, Mn12chcd, Mn14ccdmn14chcd]](https://static-data1.manualsee.com/1/img/190/63061/2021/02/Honeywell-Portable-Air-ConditionerDual-Hose-User-Manual-MN10CCD-MN10CHCD-MN12CCD-MN12CHCD-MN14CCDMN14CHCD.jpg)













